Скачать Серия 5.903-15 Выпуск 10-2. Блоки газооборудования. Блоки редуцирования БГРУ50, 100, 200. Рабочие чертежиДата актуализации: 01.01.2021
|
| Обозначение: | Серия 5.903-15 |
| Обозначение англ: | Series 5.903-15 |
| Статус: | не определен законодательством |
| Название рус.: | Выпуск 10-2. Блоки газооборудования. Блоки редуцирования БГРУ50, 100, 200. Рабочие чертежи |
| Дата добавления в базу: | 01.10.2014 |
| Дата актуализации: | 01.01.2021 |
| Дата введения: | 01.01.1990 |
| Дата окончания срока действия: | 30.06.2003 |
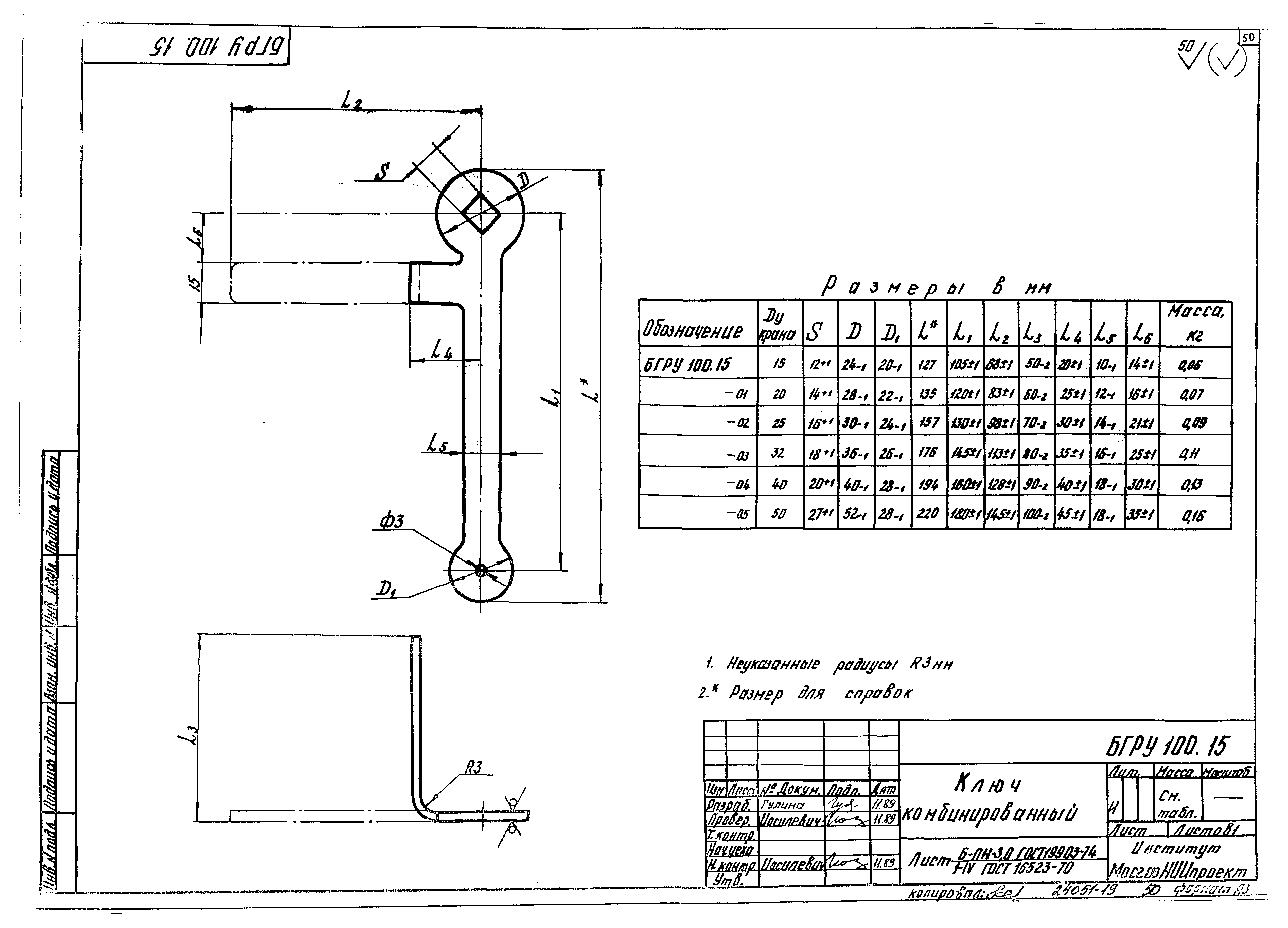
| Оглавление: | БГРУ50.00 Блок редуцирования БГРУ50.16 Заглушка БГРУ50.00СБ Блок редуцирования БГРУ50.01.00 Катушка БГРУ50.01.00СБ Катушка БГРУ50.02.00 Катушка БГРУ50.02.01 Труба БГРУ50.02.00СБ Катушка БГРУ50.02.02 Трубка БГРУ50.02.03 Трубка БГРУ50.02.04 Ниппель БГРУ50.02.05 Штуцер БГРУ50.02.00 Фланец БГРУ50.03.00 Катушка БГРУ50.03.00СБ Катушка БГРУ50.04.00 Катушка БГРУ50.04.00СБ Катушка БГРУ50.05.00 Коллектор БГРУ50.05.00СБ Коллектор БГРУ50.05.01 Труба БГРУ50.05.02 Заглушка БГРУ50.05.03 Патрубок БГРУ50.06.00 Трубка импульсная БГРУ50.06.00СБ Трубка импульсная БГРУ50.06.01 Штуцер БГРУ50.07.00 Трубка импульсная БГРУ50.08.00 Рама БГРУ50.07.00СБ Трубка импульсная БГРУ50.08.00СБ Рама БГРУ50.08.01 Уголок БГРУ50.08.02 Уголок БГРУ50.08.03 Швеллер БГРУ50.10 Косынка БГРУ50.11 Кольцо БГРУ50.12 Прокладка БГРУ50.15 Ключ комбинированный БГРУ100.00 Блок редуцирования БГРУ100.16 Заглушка БГРУ100.00СБ Блок редуцирования БГРУ100.01.00 Катушка БГРУ100.01.00СБ Катушка БГРУ100.02.00 Катушка БГРУ100.02.01 Труба БГРУ100.02.00СБ Катушка БГРУ100.02.02 Трубка БГРУ100.02.03 Трубка БГРУ100.02.04 Ниппель БГРУ100.02.05 Штуцер БГРУ100.02.06 Фланец БГРУ100.03.00 Катушка БГРУ100.03.00СБ Катушка БГРУ100.04.00 Катушка БГРУ100.04.00СБ Катушка БГРУ100.05.00 Коллектор БГРУ100.05.00СБ Коллектор БГРУ100.05.01 Труба БГРУ100.05.02 Заглушка БГРУ100.05.03 патрубок БГРУ100.06.00 Трубка импульсная БГРУ100.06.00СБ Трубка импульсная БГРУ100.06.01 Штуцер БГРУ100.07.00 Трубка импульсная БГРУ100.08.00 Рама БГРУ100.07.00СБ Трубка импульсная БГРУ100.08.00СБ Рама БГРУ100.08.01 Уголок БГРУ100.08.02 Уголок БГРУ100.08.03 Швеллер БГРУ100.10 Косынка БГРУ100.11 Кольцо БГРУ100.12 Прокладка БГРУ100.15 Ключ комбинированный БГРУ200.00 Блок редуцирования БГРУ200.16 Заглушка БГРУ200.00СБ Блок редуцирования БГРУ200.01.00 Катушка БГРУ200.01.00СБ Катушка БГРУ200.02.00 Катушка БГРУ200.02.01 Труба БГРУ200.02.00СБ Катушка БГРУ200.02.02 Трубка БГРУ200.02.03 Трубка БГРУ200.02.04 Ниппель БГРУ200.02.05 Штуцер БГРУ200.02.06 Фланец БГРУ200.03.00 Катушка БГРУ200.03.00СБ Катушка БГРУ200.04.00 Катушка БГРУ200.04.00СБ Катушка БГРУ200.05.00 Коллектор БГРУ200.05.00СБ Коллектор БГРУ200.05.01 Труба БГРУ200.05.02 Заглушка БГРУ200.05.03 Патрубок БГРУ200.06.00 Трубка импульсная БГРУ200.06.00СБ Трубка импульсная БГРУ200.06.01 Гайка накидная БГРУ200.07.00 Трубка импульсная БГРУ200.07.00СБ Трубка импульсная БГРУ200.08.00 Трубка импульсная БГРУ200.08.00СБ Трубка импульсная БГРУ200.09.00 Трубка импульсная БГРУ200.09.00СБ Трубка импульсная БГРУ200.10.00 Рама БГРУ200.10.01 Уголок БГРУ200.10.00СБ Рама БГРУ200.10.02 Уголок БГРУ200.10.03 Швеллер БГРУ200.11 Косынка БГРУ200.12 Кольцо БГРУ200.13 Прокладка БГРУ200.14 Штуцер БГРУ200.15 Ключ комбинированный |
| Разработан: | Мосгазниипроект Мосгорисполкома |
| Утверждён: | 21.11.1989 Минмонтажспецстрой СССР (USSR Minmontazhspetsstroy ) |











































































