Скачать Серия 5.903-10 Выпуск 1-1. Альбом 1. Блоки натрий-катионитных фильтров диаметром 1000 мм. Рабочие чертежиДата актуализации: 01.01.2021
|
| Обозначение: | Серия 5.903-10 |
| Обозначение англ: | Series 5.903-10 |
| Статус: | не определен законодательством |
| Название рус.: | Выпуск 1-1. Альбом 1. Блоки натрий-катионитных фильтров диаметром 1000 мм. Рабочие чертежи |
| Дата добавления в базу: | 01.09.2013 |
| Дата актуализации: | 01.01.2021 |
| Дата введения: | 01.09.1988 |
| Дата окончания срока действия: | 30.06.2003 |
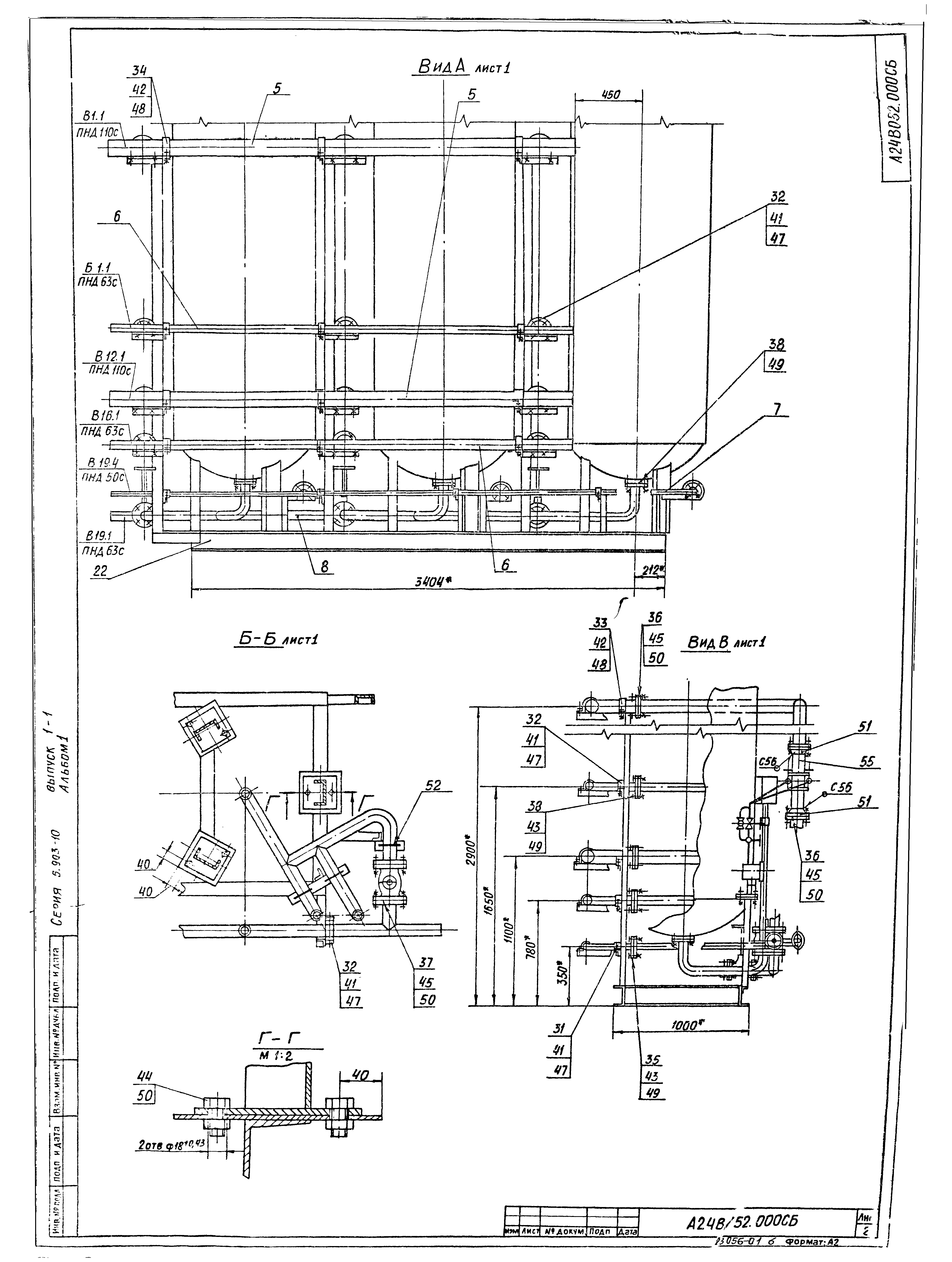
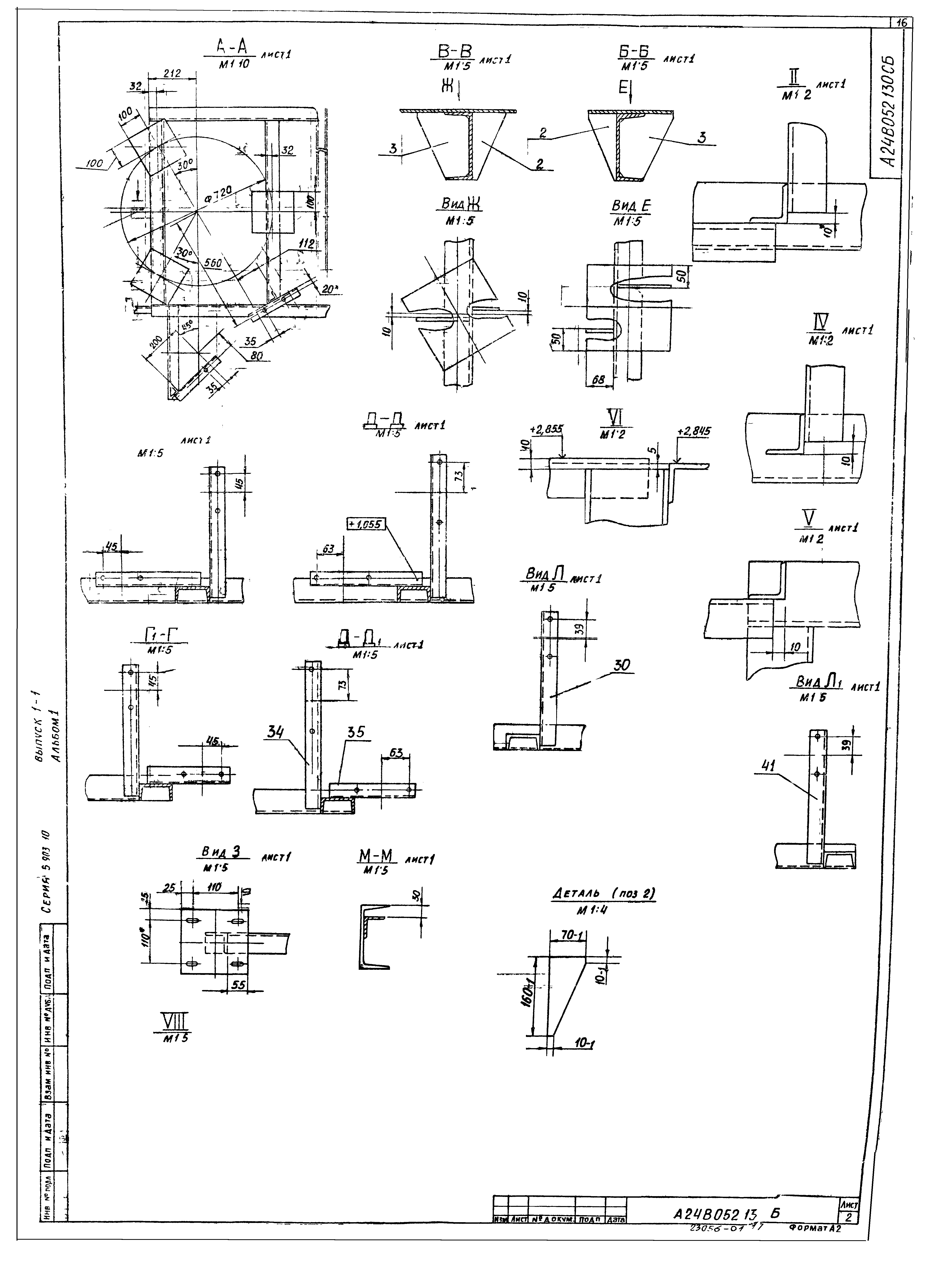
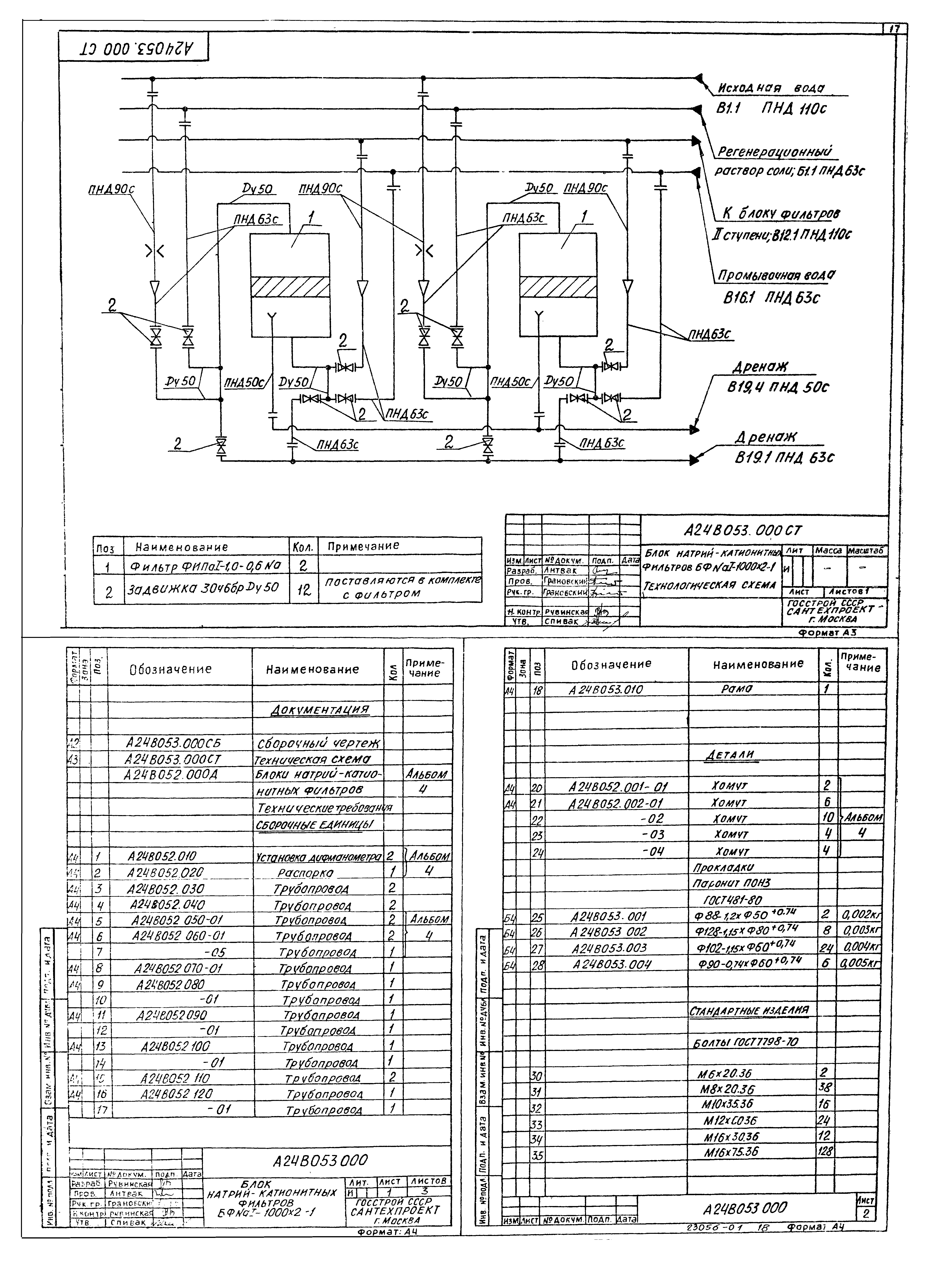
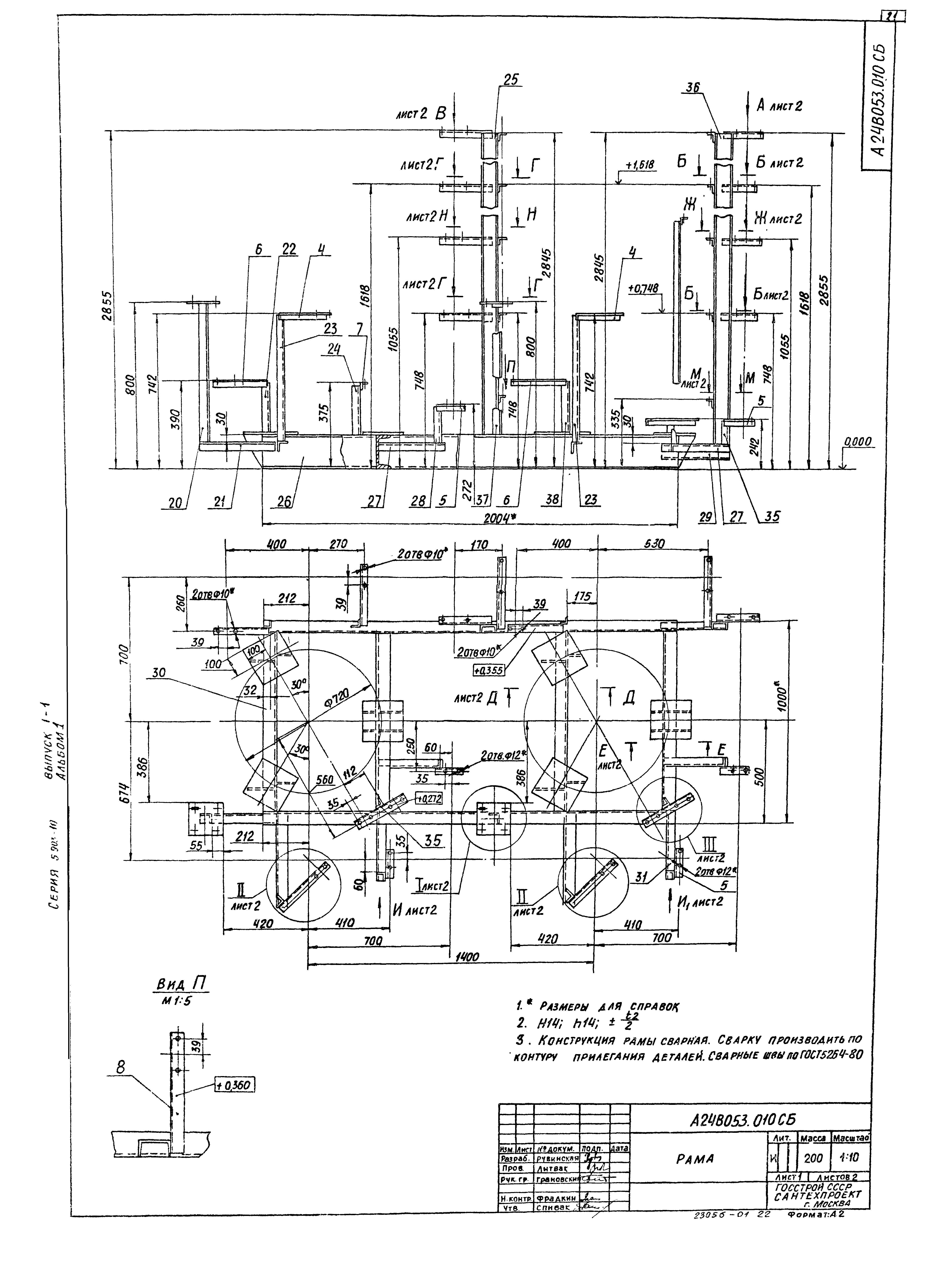
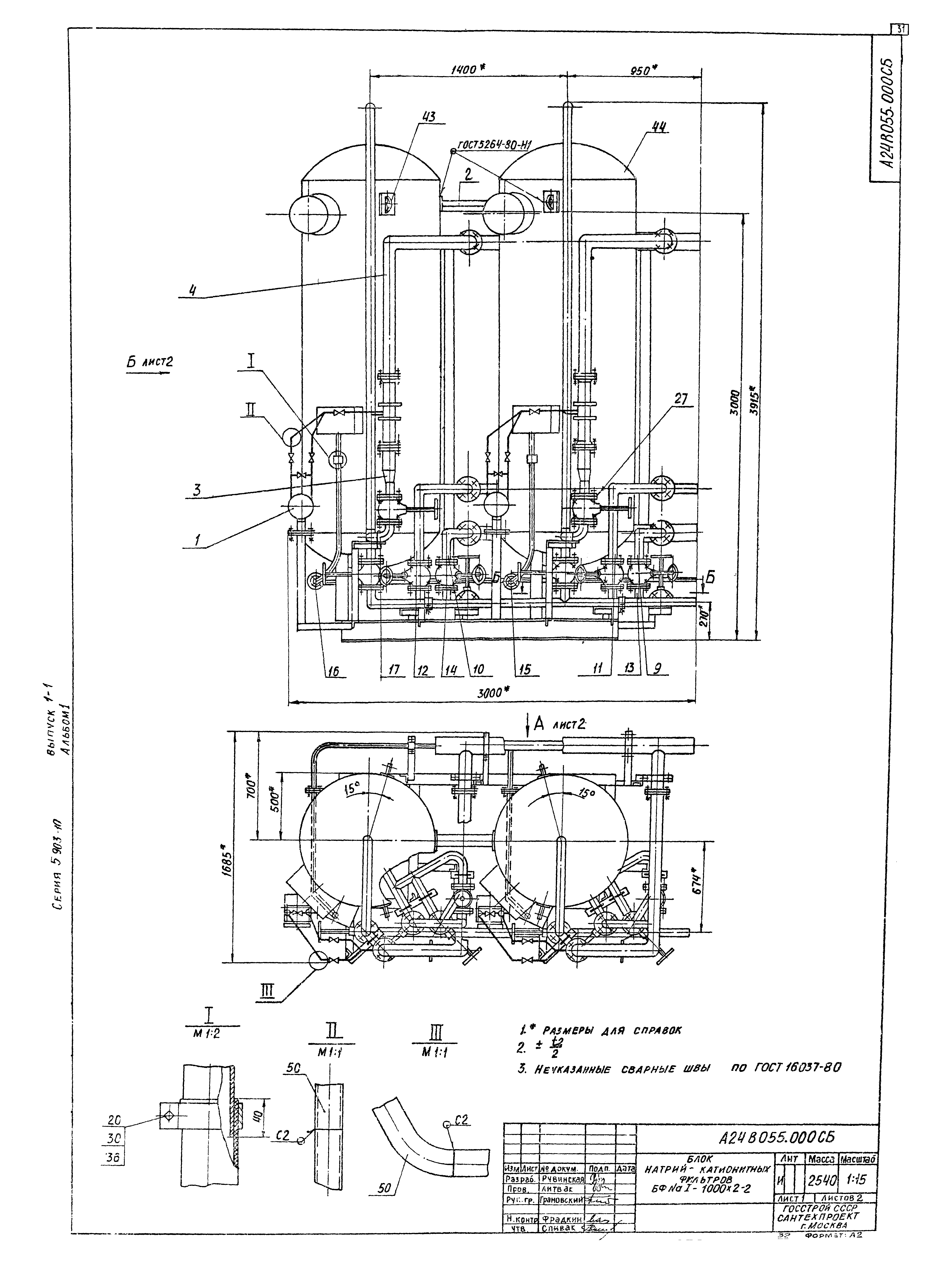
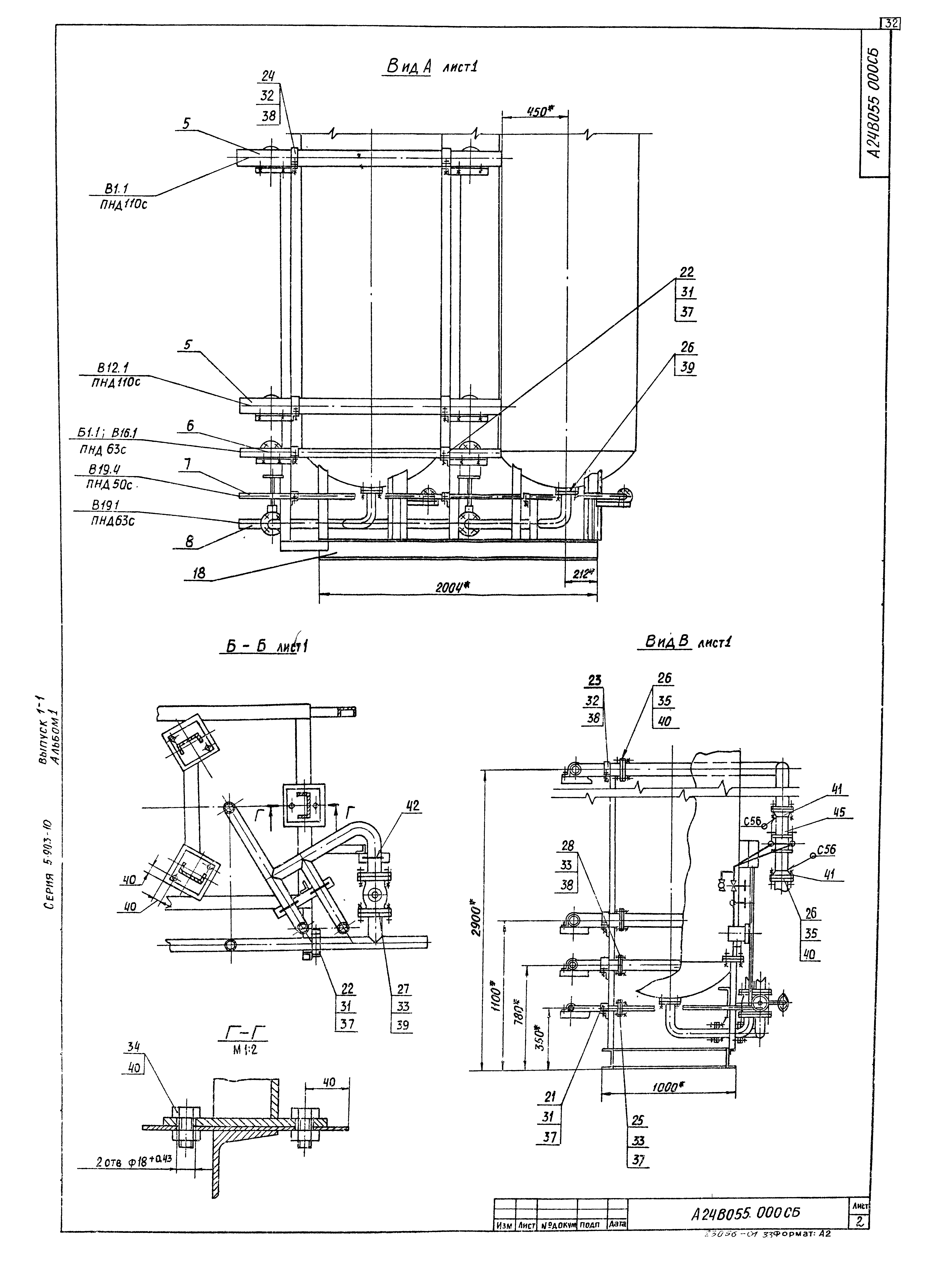
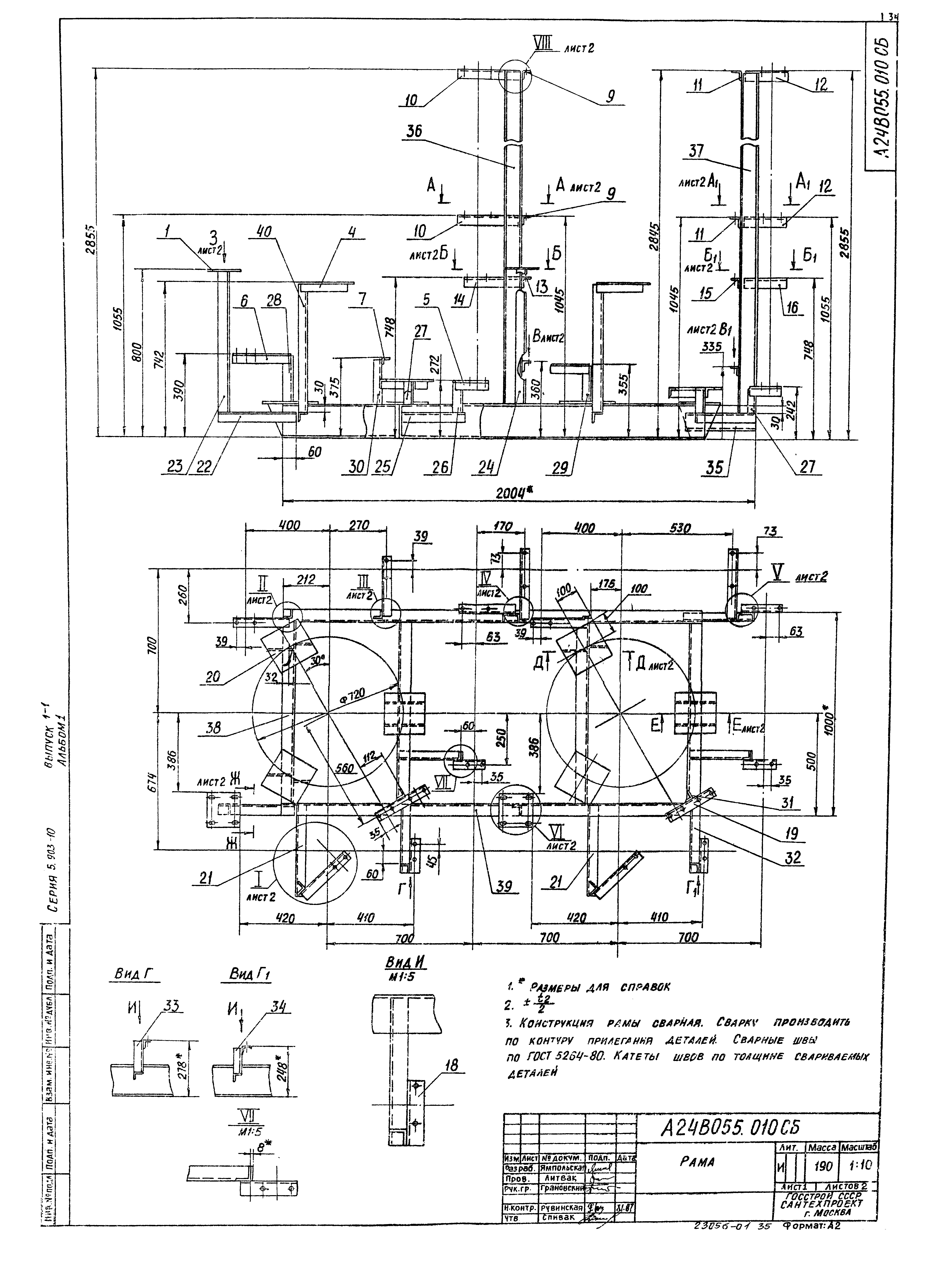
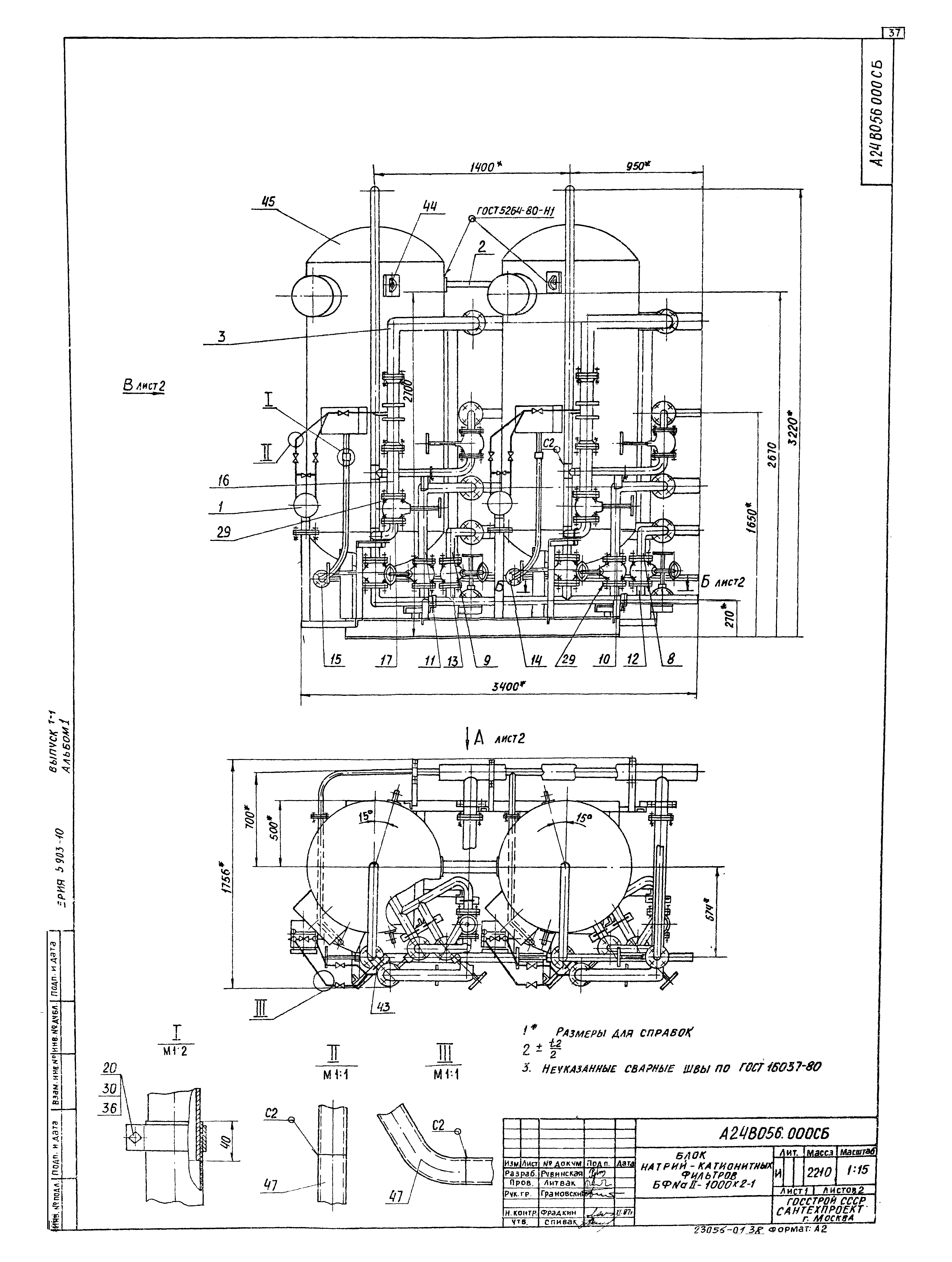
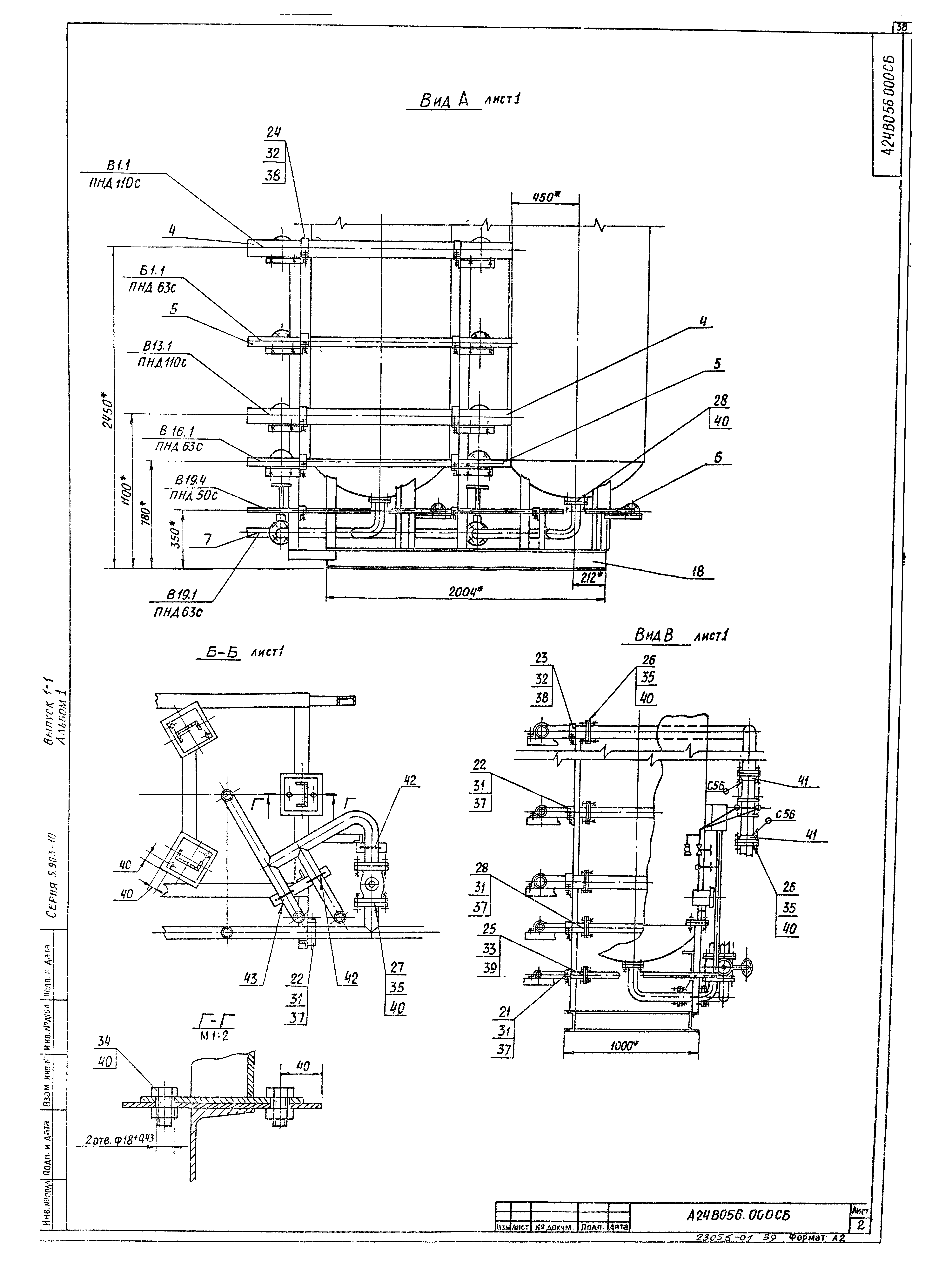
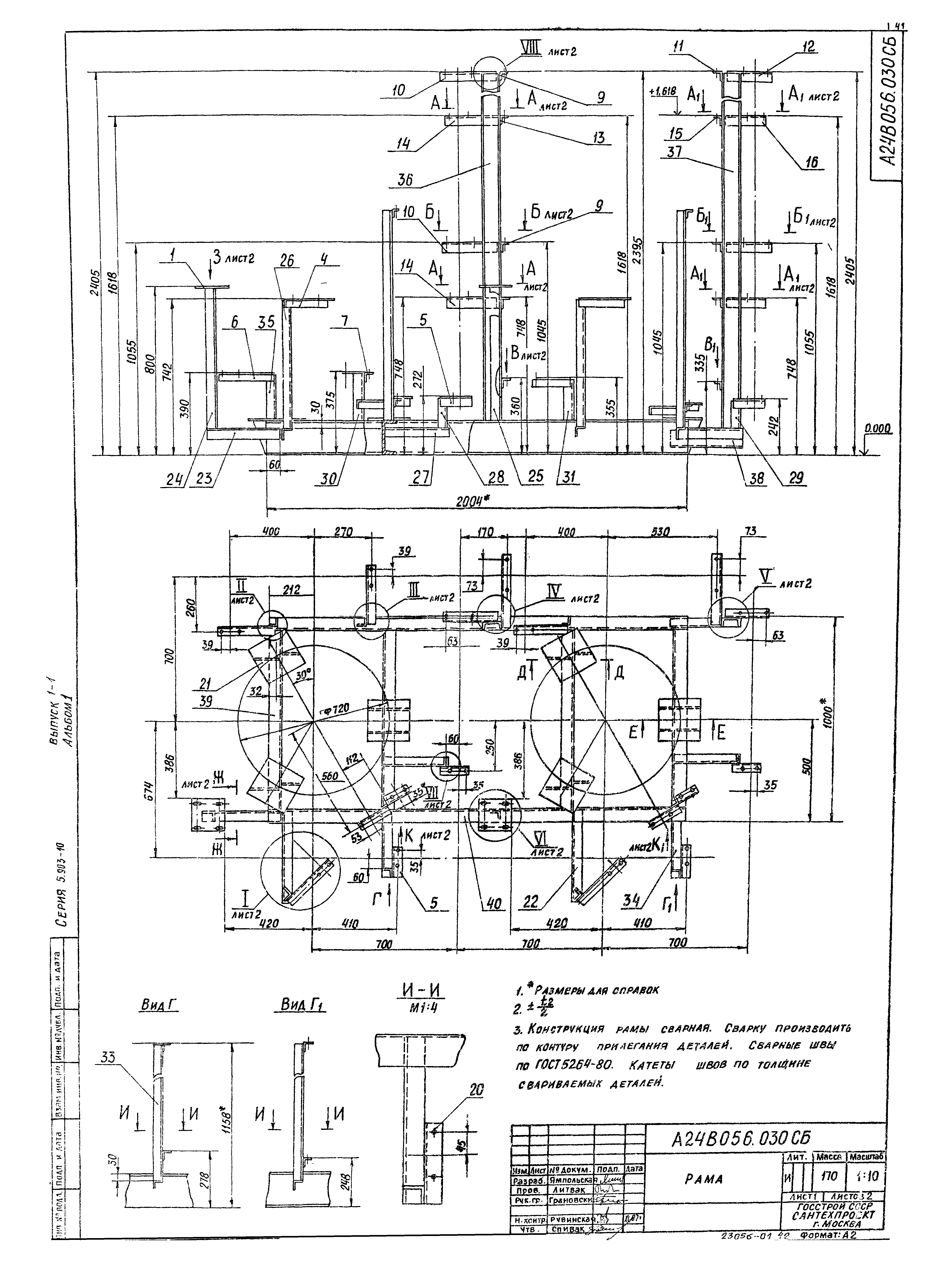
| Оглавление: | А24В052.000СТ Блок натрий-катионитных фильтров БФ NaI-1000х3-1. Технологическая схема А24В052.000 Блок натрий-катионитных фильтров БФ NaI-1000х3-1. Технологическая схема А24В052.000 СБ Блок натрий-катионитных фильтров БФ NaI-1000х3-1. Технологическая схема А24В052.030 Трубопровод А24В052.040 Трубопровод А24В052.030 СБ Трубопровод А24В052.040 СБ Трубопровод А24В052.080 СБ Трубопровод А24В052.090 Трубопровод А24В052.100 Трубопровод А24В052.110 Трубопровод А24В052.090 СБ Трубопровод А24В052.100 СБ Трубопровод А24В052.110 СБ Трубопровод А24В052.120 Трубопровод А24В052.120 СБ Трубопровод А24В052.144 Трубопровод А24В052.080 Трубопровод А24В052.130 Рама А24В052.152 Косынка А24В052.177 Уголок А24В052.178 Уголок А24В052.130 СБ Рама А24В053.000 СТ Блок натрий-катионитных фильтров БФ NaI-1000х2-1. Технологическая схема А24В053.000 СТ Блок натрий-катионитных фильтров БФ NaI-1000х2-1 |
| Разработан: | Сантехниипроект Госстроя России |
| Утверждён: | 10.12.1987 ММСС СССР |
| Издан: | ЦИТП Госстроя СССР (CITP, Gosstroy (USSR) 1988 г. ) |










































