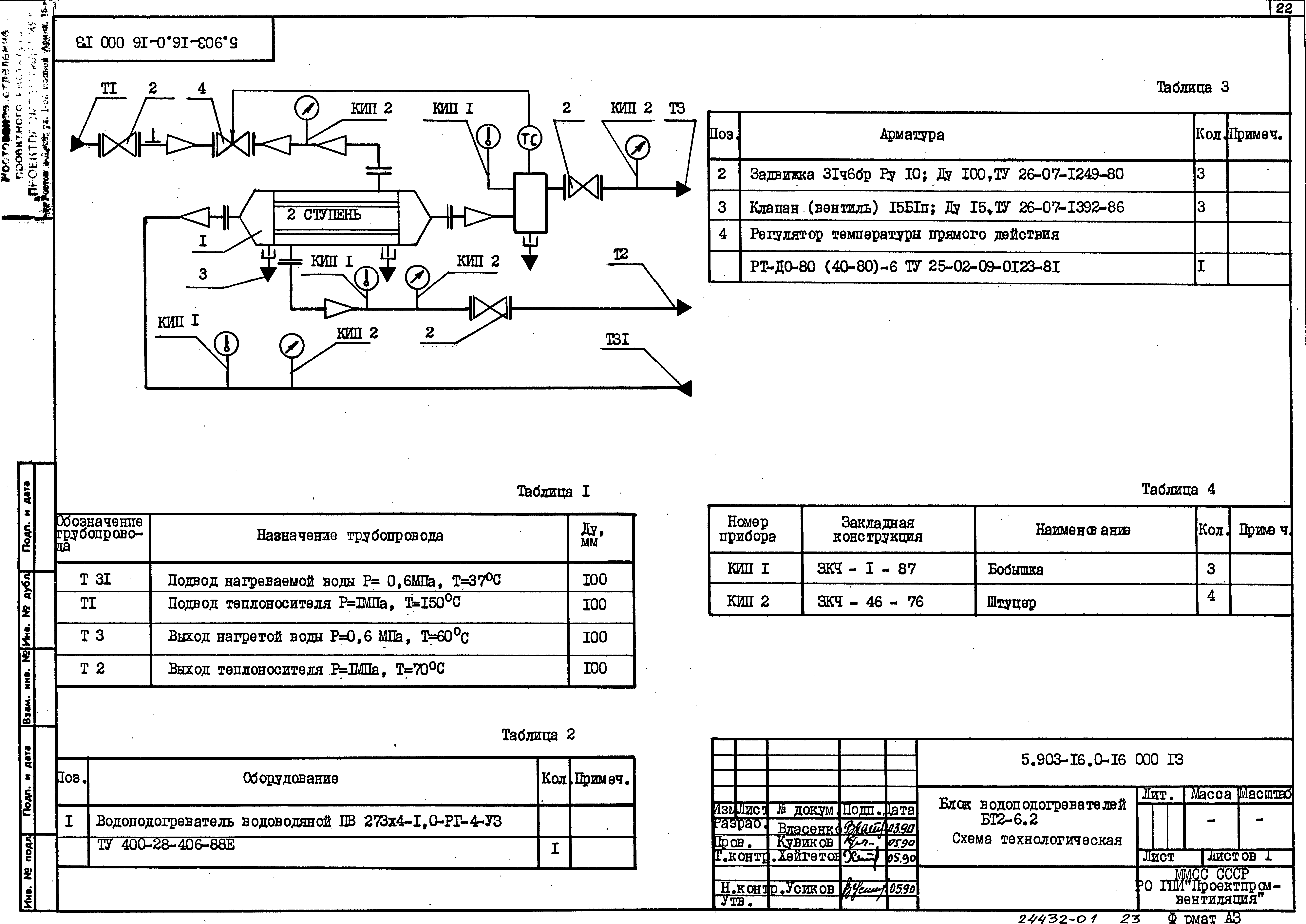
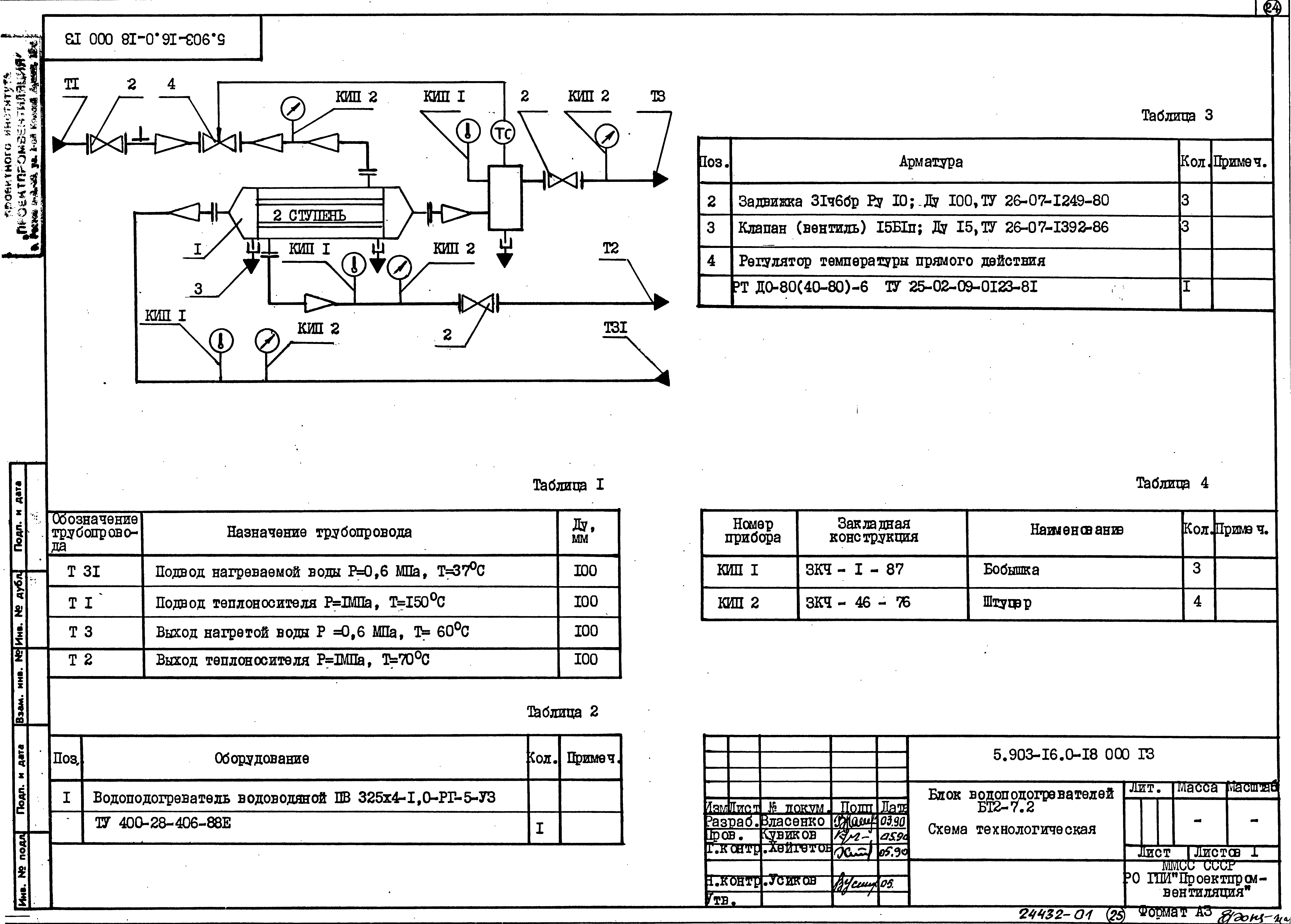
Скачать Серия 5.903-16 Выпуск 0. Указания по применению, изготовлению и монтажуДата актуализации: 01.01.2021 Серия 5.903-16
Выпуск 0. Указания по применению, изготовлению и монтажу| Обозначение: | Серия 5.903-16 | | Обозначение англ: | Series 5.903-16 | | Статус: | не определен законодательством | | Название рус.: | Выпуск 0. Указания по применению, изготовлению и монтажу | | Дата добавления в базу: | 01.09.2013 | | Дата актуализации: | 01.01.2021 | | Дата введения: | 01.09.1990 | | Дата окончания срока действия: | 30.06.2003 | | Разработан: | Ростовское отделение ГПИ Проектпромвентиляция Минмонтажспецстроя СССР
| | Утверждён: | 12.06.1990 НПО Промвентиляция (131)
|
                       
|