Скачать Альбом СК 1103-88 Коллекторы подземных коммуникаций. Неподвижные опоры теплопроводов при катковых опорах верхнего ряда труб. Рабочие чертежи изделийДата актуализации: 01.01.2021
|
| Обозначение: | Альбом СК 1103-88 |
| Обозначение англ: | СК 1103-88 |
| Статус: | не определен законодательством |
| Название рус.: | Коллекторы подземных коммуникаций. Неподвижные опоры теплопроводов при катковых опорах верхнего ряда труб. Рабочие чертежи изделий |
| Дата добавления в базу: | 01.09.2013 |
| Дата актуализации: | 01.01.2021 |
| Дата введения: | 25.04.1988 |
| Дата окончания срока действия: | 30.06.2003 |
| Область применения: | В настоящем альбоме представлены рабочие чертежи монолитных железобетонных неподвижных опор в коллекторах для теплопроводов диаметром 400-1000 мм при катковых опорах верхнего ряда труб с изоляцией из минеральной ваты |
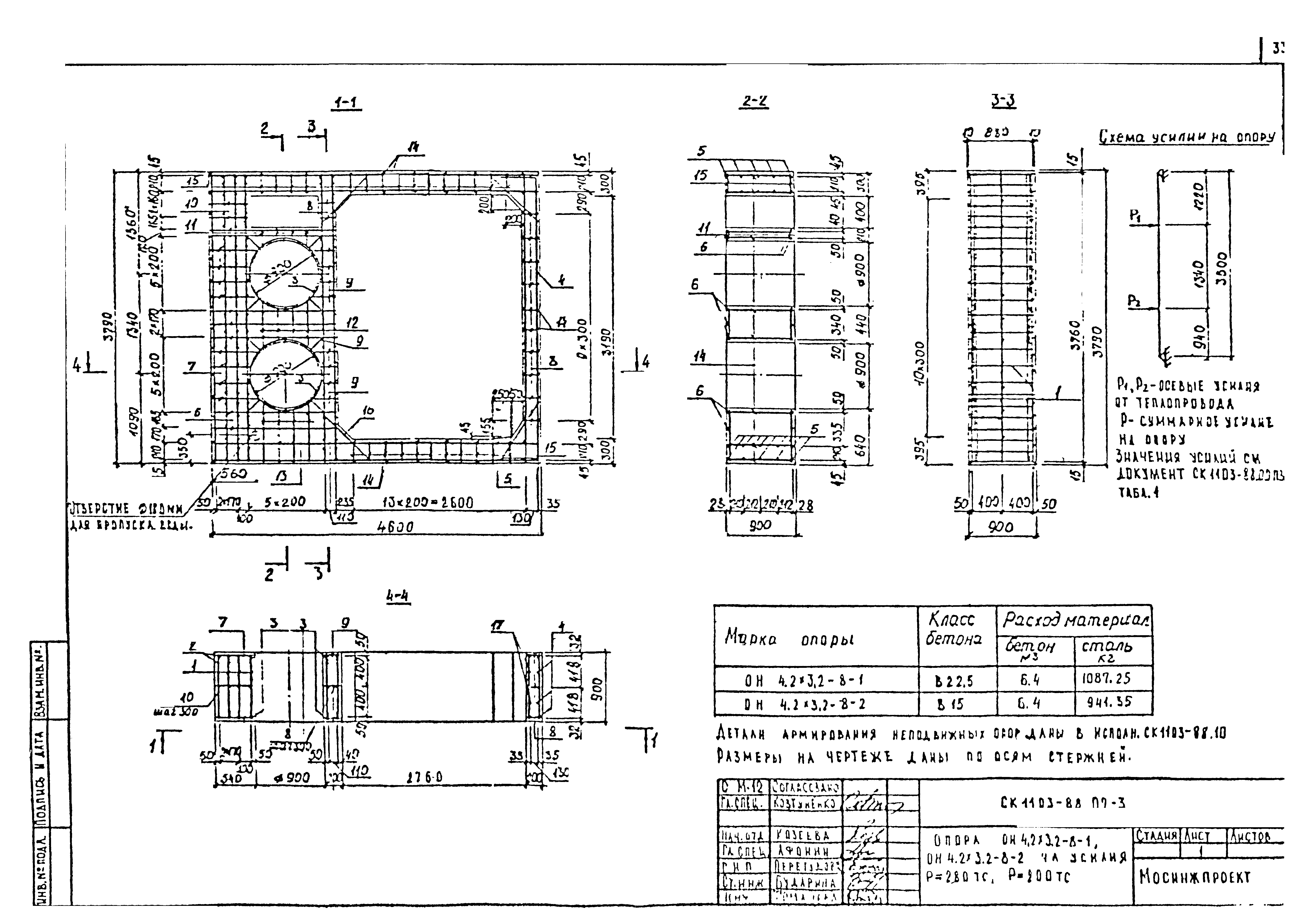
| Оглавление: | Содержание СК 1103-88.00 ПЗ Пояснительная записка СК 1103-88.00 01 Таблица для подбора неподвижных опор СК 1103-88.01 01 Металлоконструкции неподвижных опор. Справочные данные СК 1103-88.02 01 Установочный чертеж неподвижных железобетонных опор в коллекторах из сборных блоков СК 1103-88.03-1 Опора СН2,1х2,1-4-1,ОН2,1х2,1-4-2,ОН2,1х2,1-4-3 на усилия Р=85 тс, Р=60тс, Р=35тс СК 1103-88.03-2 Опора ОН2,1х2,1-4-1,ОН2,1-2,1-4-2,ОН2,1х2,1-4-3.Каркасы Кр1-1,Кр1-2,Кр1-3,Кр2-1,Кр2-2 СК 1103-88.03-3 Опора ОН2,1х2,1-4-1,ОН2,1х2,1-4-2,ОН2,1х2,1-4-3. Стержни Ст1-1,Ст2-1 СК 1103-88.04-1 Опора ОН2,5х2,5-5-1,ОН2,5х2,5-5-2,ОН2,5х2,5-5-3 на усилия Р=85тс,Р=60тс,Р=35тс СК 1103-88.04-2 Опора ОН3,6х2,5-5-1,ОН3,6х2,5-5-2,ОН3,6х2,5-5-3 на усилия Р=85тс,Р=60тс,Р=35тс СК 1103-88.04-3 Опора ОН2,5х2,5-5-1…ОН3,6х2,5-5-3. Каркасы Кр1-4,Кр1-5,Кр1-6,Кр2-2 СК 1103-88.04-4 Опора ОН2,5х2,5-5-1, ОН2,5х2,5-5-2,ОН2,5х2,5-5-3. Стержни Ст1-2,Ст2-2 СК 1103-88.05-1 Опора Он2,5х2,5-6-1,ОН2,5х2,5-6-2 на усилия Р=170тс,Р=120тс СК 1103-88.05-2 Опора ОН2,5х2,5-6-3 на усилие Р=60тс СК 1103-88.05-3 Опора ОН2,5х2,5-6-1, ОН2,5х2,5-6-2,ОН2,5х2,5-6-3. Каркасы Кр1-7,Кр1-8,Кр1-9,Кр2-3,Кр2-4 СК 1103-88.05-4 Опора ОН2,5х2,5-6-1,Он2,5х2,5-6-2,ОН2,5х2,5-6-3. Стержни Ст1-3,Ст2-2 СК 1103-88.06-1 Опора ОН3,0х3,2-7-1,ОН3,0х3,2-7-2 на усилия Р=220 тс, Р=160тс СК 1103-88.06-2 Опора ОН3,0х3,2-7-3 на усилие Р=70тс СК 1103-88.06-3 Опора ОН3,6х3,2-7-1,ОН3,0х3,2-7-2,ОН3,0х3,2-7-3. Каркасы Кр1-10,Кр1-11,Кр1-12,Кр2-5,Кр2-6 СК 1103-88.06-4 Опора ОН3,0х3,2-7-1,ОН3,0х3,2-7-2,ОН3,0х3,2-7-3. Стержни Ст1-4, Ст2-3,Ст2-4 СК 1103-88.07-1 Опора ОН3,0х3,2-8-1,ОН3,0х3,2-8-2 на усилия Р=280тс,Р=200тс СК 1103-88.07-2 Опора ОН3,0х3,2-8-3 на усилие Р=60тс СК 1103-88.07-3 Опора ОН4,2х3,2-8-1,ОН4,2х3,2-8-2 на усилия Р=280тс,Р=200тс СК 1103-88.07-4 Опора ОН4,2х3,2-8-3 на усилие Р=80тс СК 1103-88.07-5 Опора ОН3,0х3,2-8-1,ОН3,0х3,2-8-2,ОН3,0х3,2-8-3. Каркасы Кр1-13,Кр1-14,Кр1-15,Кр2-7,Кр2-8 СК 1103-88.07-6 Опора ОН3,0х3,2-8-1,ОН3,0х3,2-8-2,ОН3,0х3,2-8-3. Стержни Ст1-5,Ст2-3,Ст2-4 СК 1103-88.08-1 Опора ОН3,6х3,2-9-1,ОН3,6х3,2-9-2 на усилия Р=340тс,Р=250тс СК 1103-88.08-2 Опора ОН3,6х3,2-9-3 на усилие Р=90тс СК 1103-88.08-3 Опора ОН3,6х3,2-9-1,ОН3,6х3,2-9-2,ОН3,6х3,2-9-3. Каркасы Кр1-16,Кр1-17,Кр1-18,Кр2-9,Кр2-10 СК 1103-88.08-4 Опора ОН3,6х3,2-9-1,ОН3,6х3,2-9-2,ОН3,6х3,2-9-3. Стержни Ст1-6,Ст2-5,Ст2-4 СК 1103-88.09-1 Опора ОН3,6х3,6-10-1,ОН3,6х3,6-10-2 на усилия Р=390тс,Р=300тс СК 1103-88.09-2 Опора ОН3,6х3,2-10-3 на усилие Р=110тс СК 1103-88.09-3 Опора ОН3,6х3,6-10-1,ОН3,6х3,6-10-2,ОН3,6х3,6-10-3. Каркасы Кр1-19,Кр1-20,Кр1-21,Кр2-11,Кр2-12 СК 1103-88.09-4 Опора ОН3,6х3,6-10-1,ОН3,6х3,6-10-2,ОН3,6х3,6-10-3. Стержни Ст1-7,Ст2-6,Ст2-7 СК 1103-88.10 Детали армирования неподвижных опор |
| Разработан: | Мосинжпроект |
| Утверждён: | 25.04.1988 Мосинжпроект (Mosinzhproject 10) |















































