Скачать РД 39-32-704-82 Инструкция для расчета расходных характеристик трубопровода при бескомпрессорном транспорте сырого нефтяного газаДата актуализации: 01.01.2021
|
| Обозначение: | РД 39-32-704-82 |
| Обозначение англ: | RD 39-32-704-82 |
| Статус: | не действует |
| Название рус.: | Инструкция для расчета расходных характеристик трубопровода при бескомпрессорном транспорте сырого нефтяного газа |
| Дата добавления в базу: | 01.09.2013 |
| Дата актуализации: | 01.01.2021 |
| Дата введения: | 01.03.1982 |
| Дата окончания срока действия: | 31.12.1986 |
| Область применения: | Инструкция является основным руководящим документом при выполнении гидравлических расчетов для трубопроводов, транспортирующих сырой нефтяной газ. |
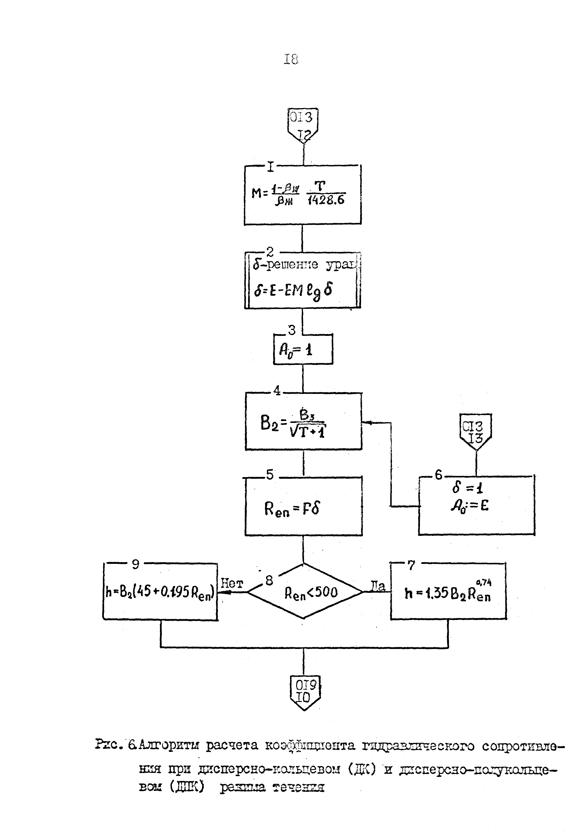
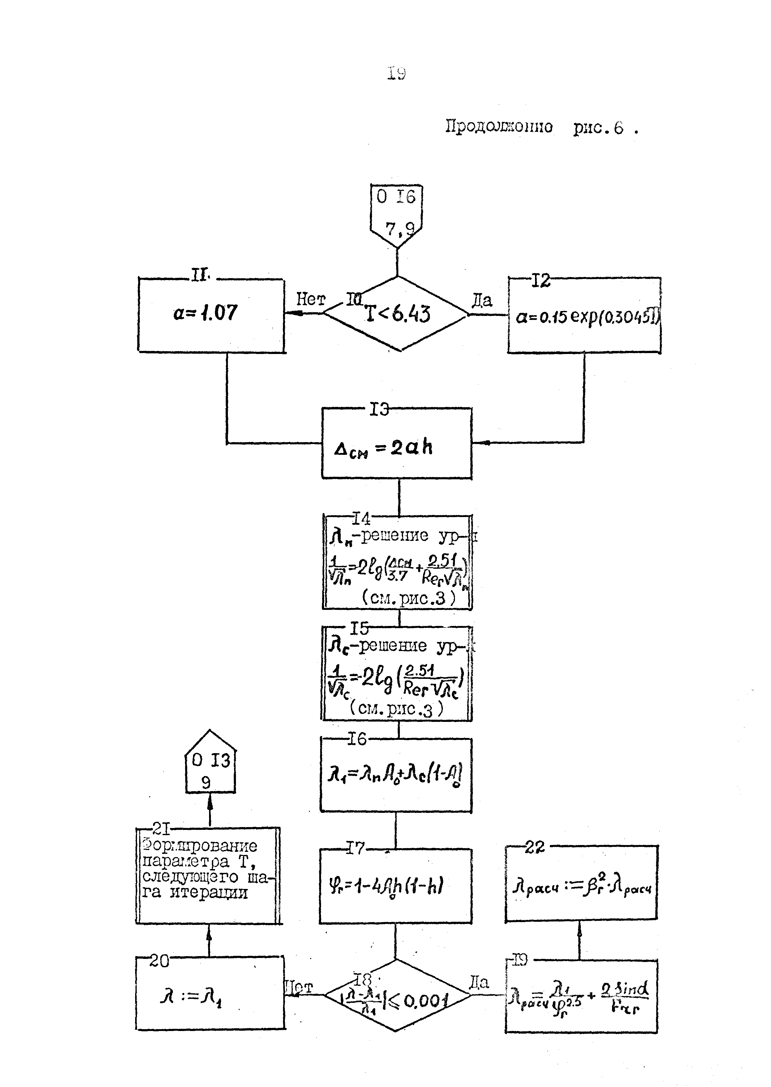
| Оглавление: | 1 Общие положения 2 Исходные данные 3 Построение эквивалентной трассы 4 Последовательность выполнения вычислений 5 Алгоритм 1 расчета гидравлического сопротивления 6 Алгоритм 2 расчета гидравлического сопротивления Список литературы |
| Разработан: | ВНИПИгазпереработка Миннефтепрома Краснодарский политехнический институт |
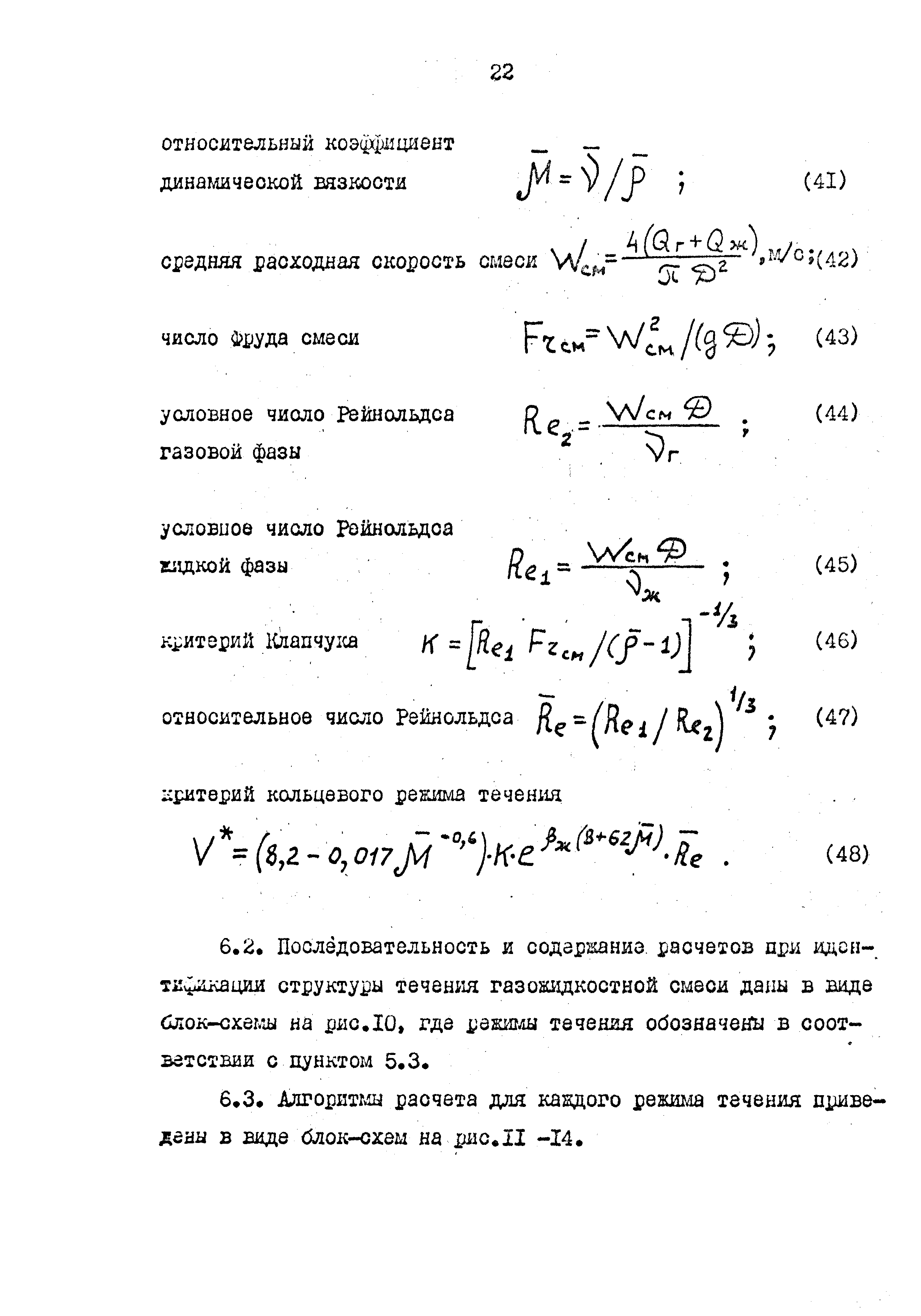
| Утверждён: | 01.01.1982 Министерство нефтяной промышленности СССР (USSR Ministry of the Petroleum Industry ) |































