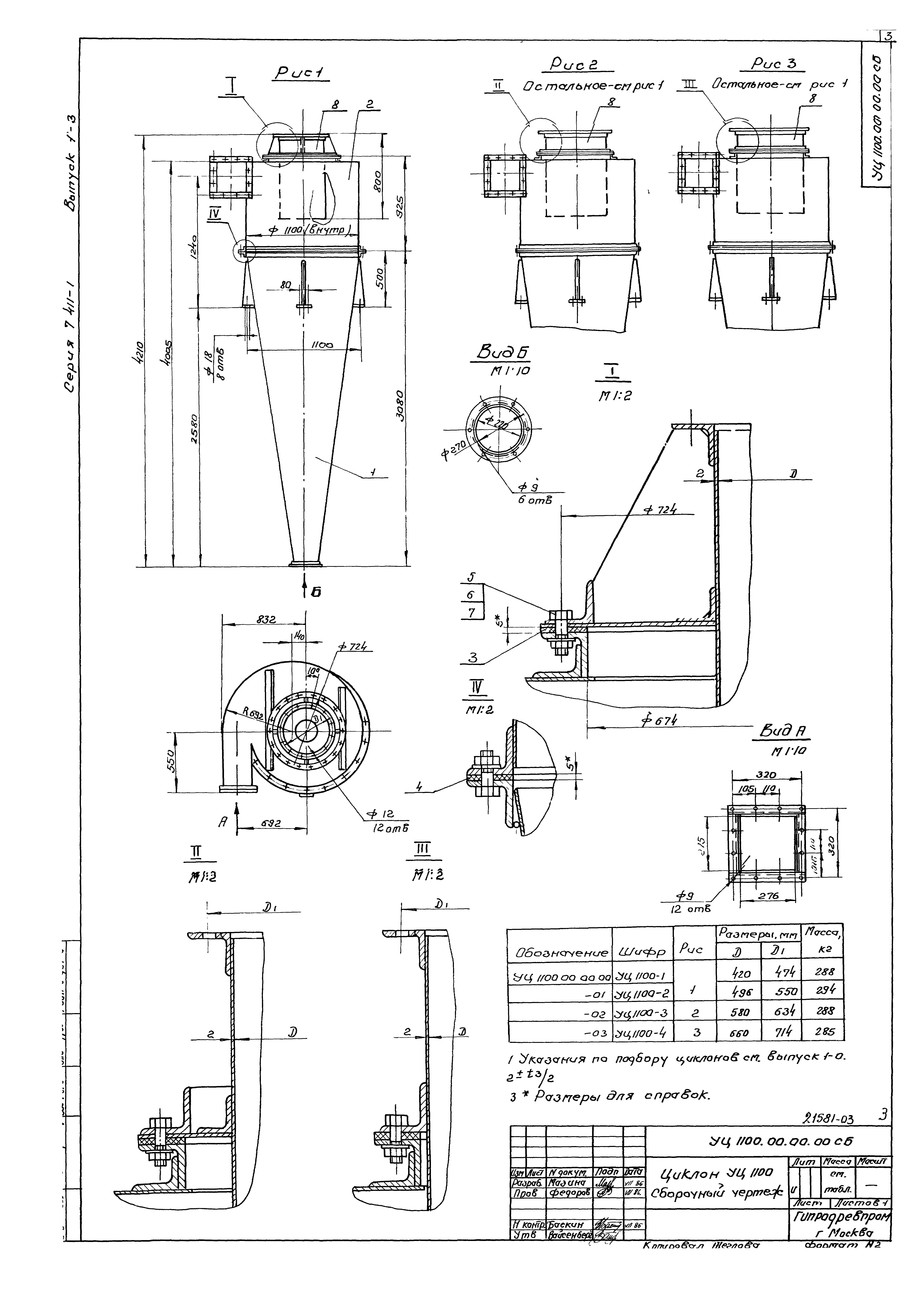
Скачать Серия 7.411-1 Выпуск 1-3. Циклоны УЦ-1100. Рабочие чертежиДата актуализации: 01.01.2021
|
| Обозначение: | Серия 7.411-1 |
| Обозначение англ: | Series 7.411-1 |
| Статус: | не определен законодательством |
| Название рус.: | Выпуск 1-3. Циклоны УЦ-1100. Рабочие чертежи |
| Дата добавления в базу: | 01.09.2013 |
| Дата актуализации: | 01.01.2021 |
| Дата введения: | 31.07.1986 |
| Дата окончания срока действия: | 30.06.2003 |
| Разработан: | Гипродревпром Минлеспрома СССР |
| Утверждён: | 15.07.1986 Минлесбумпром СССР (USSR Minlesbumprom ) |























