Скачать РД 24.207.12-90 Арматура трубопроводная. Подшипники скольжения из композиционных материалов. Конструкция, размеры и технические требования

Дата актуализации: 01.01.2021

РД 24.207.12-90

Арматура трубопроводная. Подшипники скольжения из композиционных материалов. Конструкция, размеры и технические требования

Обозначение: РД 24.207.12-90
Обозначение англ: RD 24.207.12-90
Статус:заменен
Название рус.:Арматура трубопроводная. Подшипники скольжения из композиционных материалов. Конструкция, размеры и технические требования
Дата добавления в базу:01.09.2013
Дата актуализации:01.01.2021
Дата введения:01.07.1991
Дата окончания срока действия:01.07.2015
Область применения:Руководящий документ распространяется на подшипники скольжения из композиционных материалов для трубопроводной арматуры и приводных устройств к ней, работающих при температурах от 77 до 873 К (от минус 196 до плюс 600 градусов Цельсия) и удельных нагрузках до 150 МПа (1500 кгс/см2) и устанавливает конструкцию, размеры и технические требования к ним. Руководящий документ следует применять при модернизации и новом проектировании
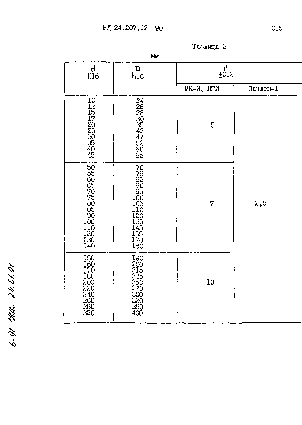
Оглавление:1.Типы, конструкции и размеры
2. Технические требования
Разработан: ЦКБА ЛНПОА Знамя труда им. И.И. Лепсе
Утверждён:27.11.1990 Минтяжмаш СССР (USSR Mintyazhmash ВА-002-1-11125)
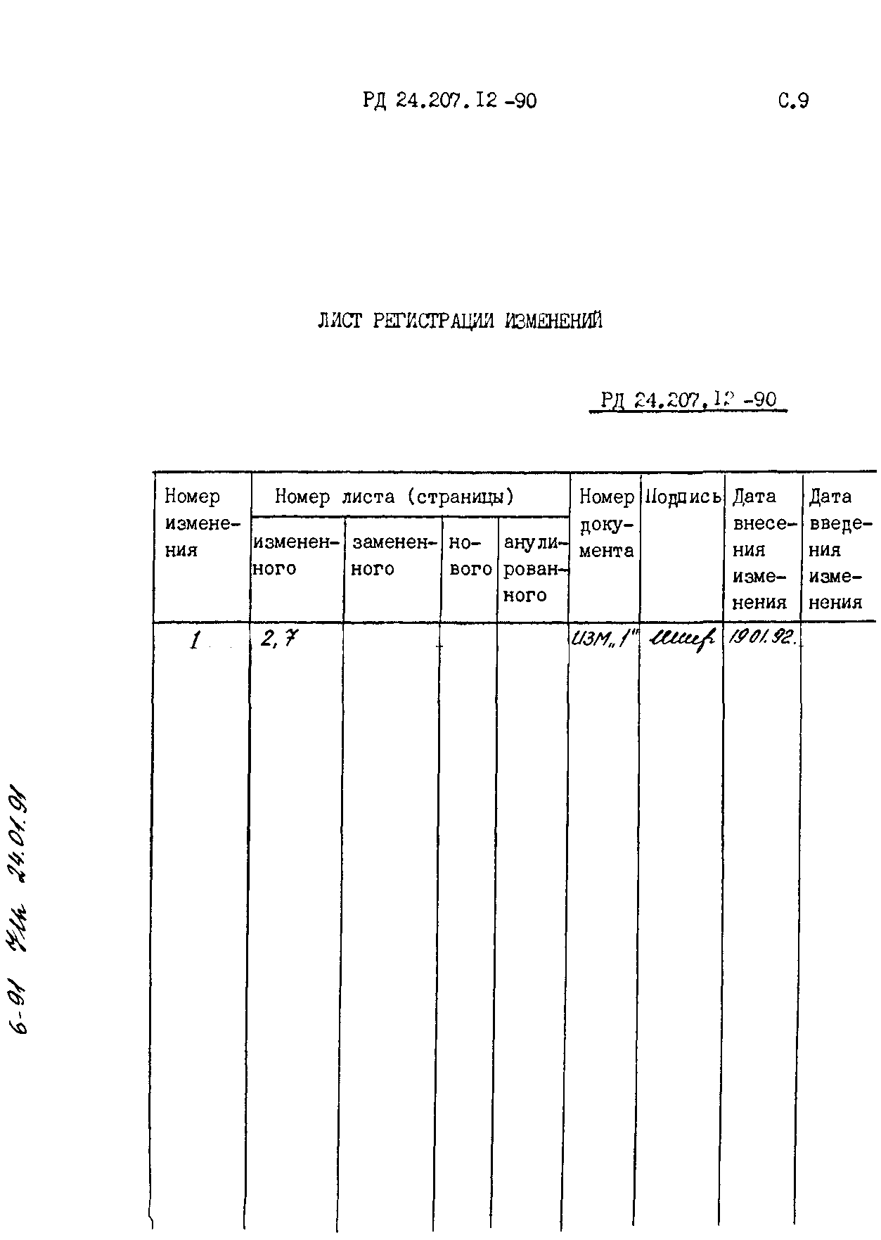
Список изменений:
Заменяет собой:
  • ОСТ 26-07-2039-81 «Арматура трубопроводная. Подшипники скольжения из композиционных материалов. Конструкция и размеры»
РД 24.207.12-90РД 24.207.12-90РД 24.207.12-90РД 24.207.12-90РД 24.207.12-90РД 24.207.12-90РД 24.207.12-90РД 24.207.12-90РД 24.207.12-90РД 24.207.12-90РД 24.207.12-90РД 24.207.12-90РД 24.207.12-90РД 24.207.12-90

Текстовое изменение № 1 от 01.02.1992

№ 1№ 1

Текстовое изменение № 2 от 01.07.2015

№ 2