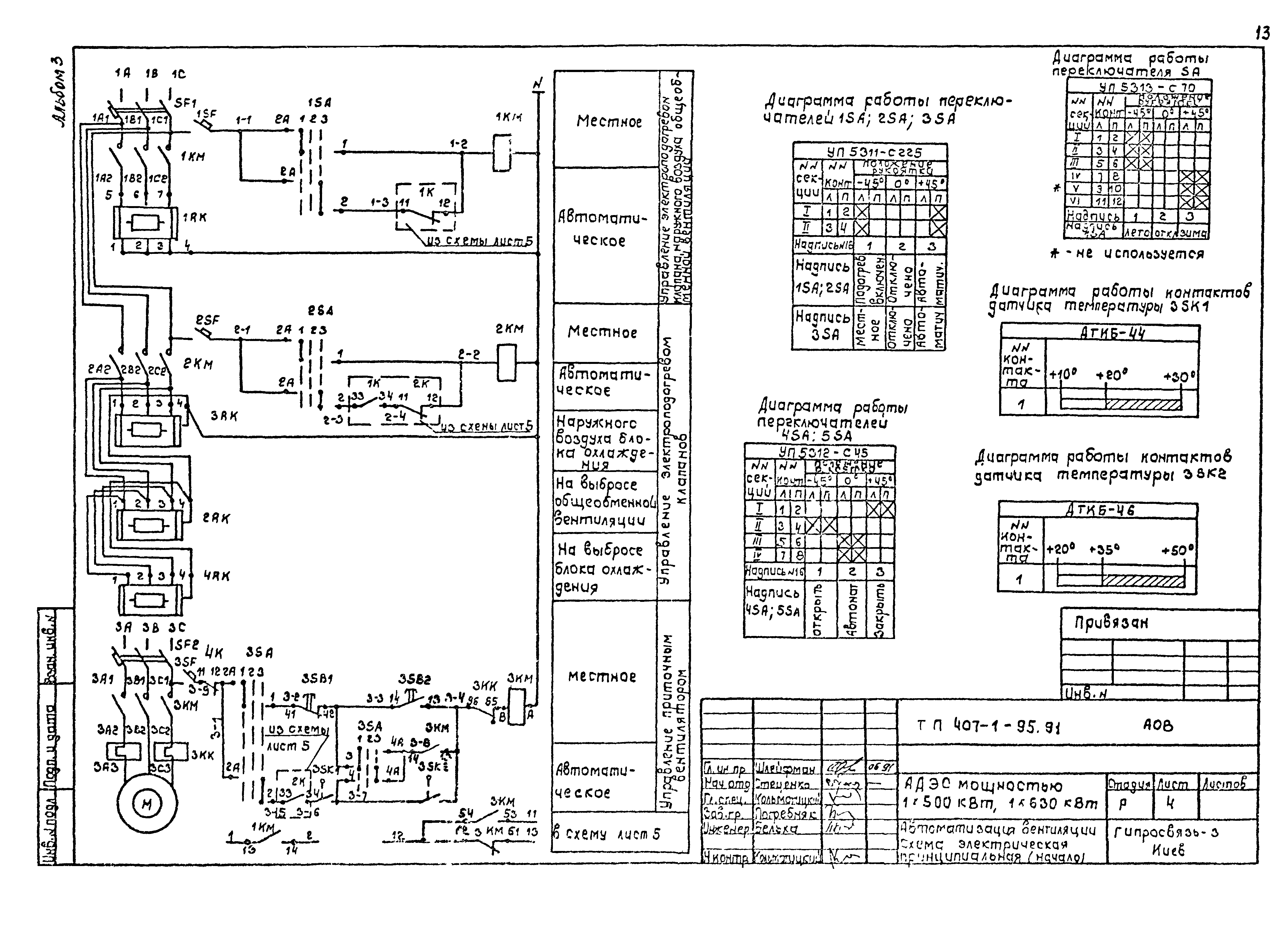
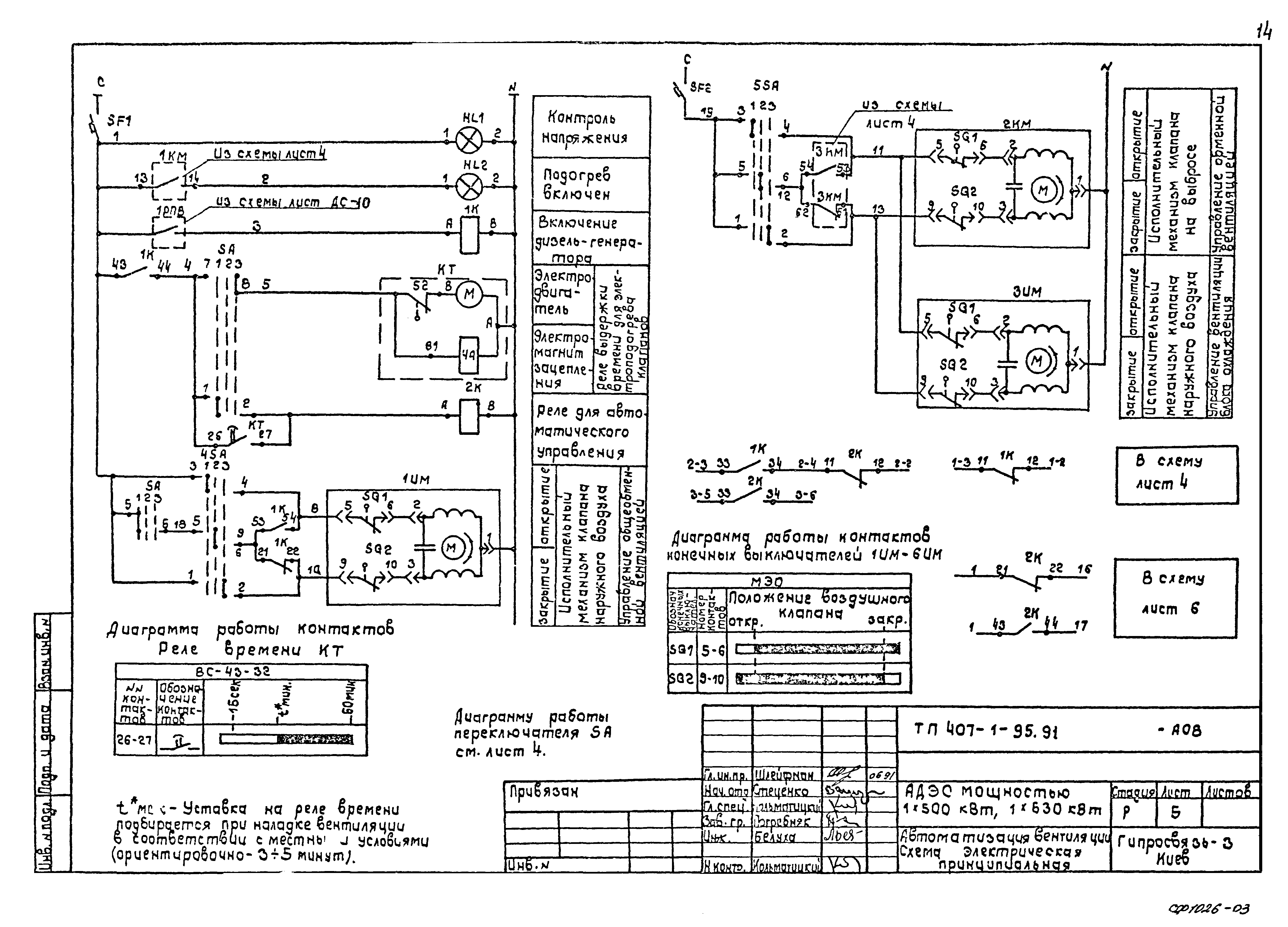
Скачать Типовой проект 407-1-95.91 Альбом 3. Задание заводу на изготовление щита автоматизации вентиляцииДата актуализации: 01.01.2021
|
| Обозначение: | Типовой проект 407-1-95.91 |
| Обозначение англ: | 407-1-95.91 |
| Статус: | не определен законодательством |
| Название рус.: | Альбом 3. Задание заводу на изготовление щита автоматизации вентиляции |
| Дата добавления в базу: | 01.09.2013 |
| Дата актуализации: | 01.01.2021 |
| Дата введения: | 08.05.1991 |
| Дата окончания срока действия: | 30.06.2003 |
| Разработан: | Гипросвязь - 3 |
| Утверждён: | 24.04.1991 Министерство связи СССР |
















