Скачать РМ 4-49-93 Электрические схемы автоматического регулирования технологических параметров. Пособие по применению измерительных приборов и регуляторов приборного типа. Часть 4Дата актуализации: 01.01.2021
|
| Обозначение: | РМ 4-49-93 |
| Обозначение англ: | RM 4-49-93 |
| Статус: | действует |
| Название рус.: | Электрические схемы автоматического регулирования технологических параметров. Пособие по применению измерительных приборов и регуляторов приборного типа. Часть 4 |
| Дата добавления в базу: | 01.09.2013 |
| Дата актуализации: | 01.01.2021 |
| Дата введения: | 01.01.1993 |
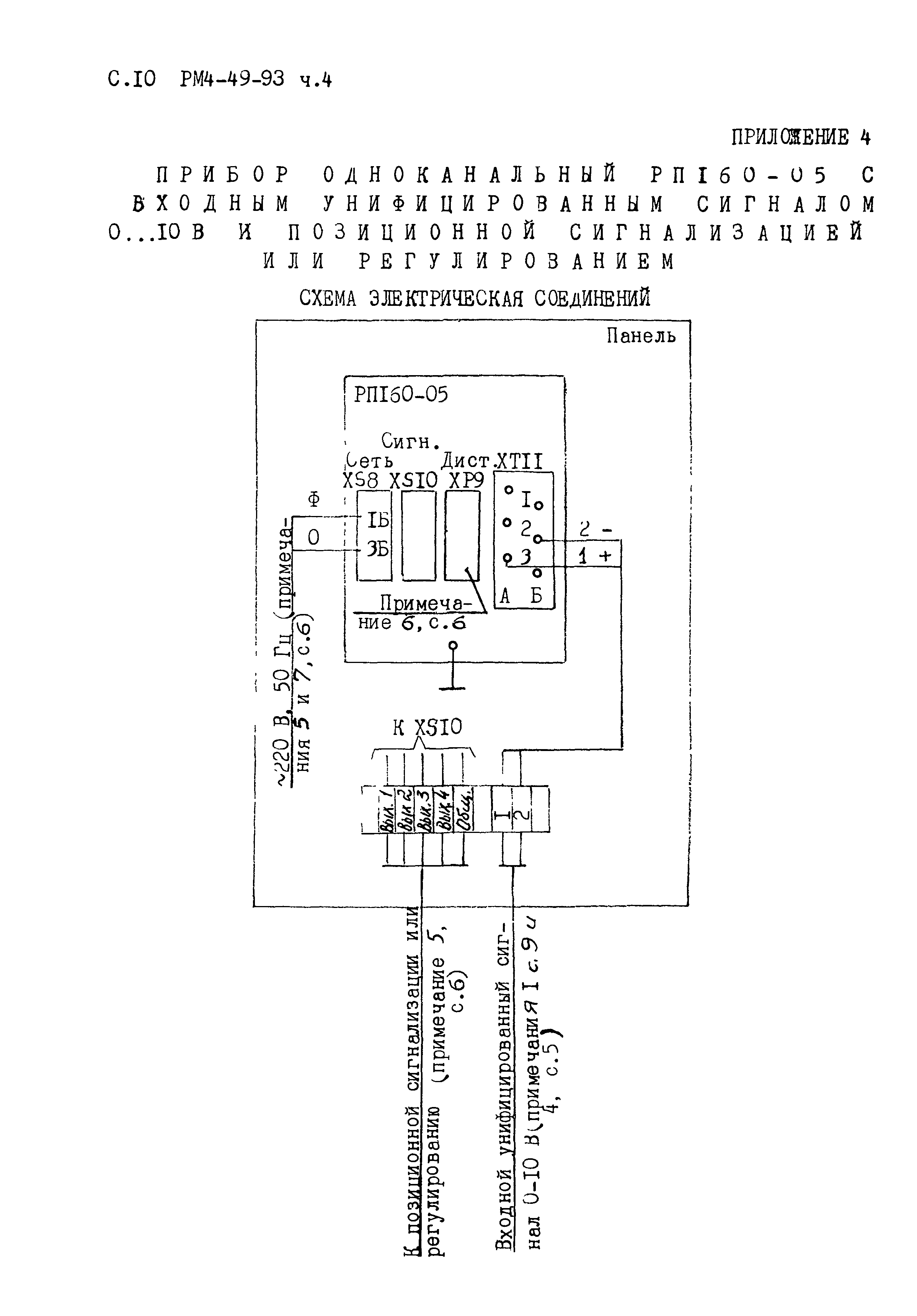
| Область применения: | Настоящее пособие разработано применительно к номенклатуре приборов и средств автоматизации промышленного назначения, серийно выпускаемых заводами в 1992 году. Приборы, приведенные в пособии, применяются в системах автоматического контроля и регулирования |
| Оглавление: | 1. Общие сведения Таблица Приложения |
| Разработан: | ГПКИ Проектмонтажавтоматика |
| Издан: | ГПКИ Проектмонтажавтоматика (1993 г. ) |
| Нормативные ссылки: |















































































