Скачать ОСТ 26-1046-87 Сосуды и аппараты высокого давления. Нормы и методы расчета на прочностьДата актуализации: 01.01.2021
|
| Обозначение: | ОСТ 26-1046-87 |
| Обозначение англ: | OST 26-1046-87 |
| Статус: | не определен законодательством |
| Название рус.: | Сосуды и аппараты высокого давления. Нормы и методы расчета на прочность |
| Дата добавления в базу: | 01.09.2013 |
| Дата актуализации: | 01.01.2021 |
| Дата введения: | 01.01.1988 |
| Дата окончания срока действия: | 30.06.2003 |
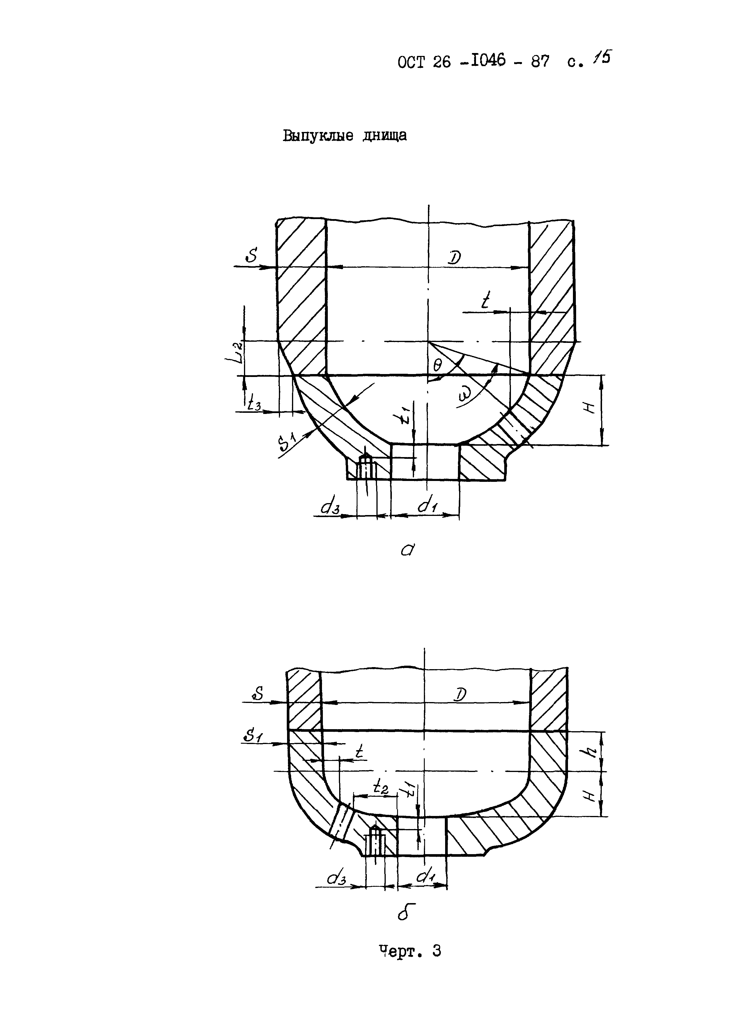
| Область применения: | Стандарт распространяется на сосуды и аппараты стальные кованые, кованосварные, многослойные, а также однослойные, изготовленные из листового проката, работающие под действием внутреннего давления свыше 10 МПа до 100 МПа, применяемые в химической, нефтехимической промышленности, производстве минеральных удобрений и других смежных отраслях промышленности, отвечающие требованиям ГОСТ 11879-81, ОСТ 26-01-9-80, ОСТ 26-01-221-86. Стандарт устанавливает нормы и методы расчета на прочность при статическом и малоцикловом нагружении цилиндрических однослойных и многослойных обечаек, плоских и выпуклых днищ, шпилек, фланцев, плоских и выпуклых крышек, укрепления отверстий в обечайках и выпуклых днищах. |
| Оглавление: | 1 Общие положения 1.1 Условные обозначения 1.2 Материалы и требования к конструкции и изготовлению 1.3 Рабочее, расчетное, пробное давления, давление опрессовки 1.4 Расчетная температура 1.5 Допускаемое напряжение, коэффициенты запаса прочности 1.6 Коэффициент прочности сварных соединений 1.7 Прибавки к расчетным величинам 1.8 Порядок расчета 2 Обечайки цилиндрические 2.1 Условные обозначения 2.2 Расчет обечаек цилиндрических однослойных 2.3 Расчет обечаек цилиндрических многослойных 2.4 Соединение цилиндрических обечаек 3 Днища 3.1 Условные обозначения 3.2 Расчет кованых плоских отбортованных и слабовыпуклых днищ, сопряженных с однослойными обечайками 3.3 Расчет выпуклых днищ, сопряженных с однослойными обечайками 3.4 Расчет выпуклых днищ, сопряженных с многослойными обечайками 4 Уплотнительные соединения. Шпильки 5 Фланцы 5.1 Условные обозначения 5.2 Расчет фланца 6 Крышки 7 Укрепление отверстий 7.1 Условные обозначения 7.2 Общие положения 7.3 Выбор размеров укрепляющих элементов 8 Расчет на прочность при малоцикловых нагрузках 8.1 Условные обозначения 8.2 Основные требования и порядок расчета Приложение Информационные данные |
| Утверждён: | Министерство химического и нефтяного машиностроения СССР (USSR Ministry of Chemical and Petroleum Machine Manufacturing ) |
| Принят: | 09.09.1987 Госгортехнадзор (Gosgortekhnadzor 07-1-40/206) Министерство по производству минеральных удобрений СССР (USSR Ministry of Mineral Fertilizer Production ) УкрНИИхиммаш (UkrNIIkhimmash ) |
| Заменяет собой: |
|
| Нормативные ссылки: |
|



























































