Скачать ГОСТ Р 52785-2007 Отвертки слесарно-монтажные для винтов и шурупов с крестообразным шлицем. Рабочая часть. РазмерыДата актуализации: 01.01.2021
|
| Обозначение: | ГОСТ Р 52785-2007 |
| Обозначение англ: | GOST R 52785-2007 |
| Статус: | введен впервые |
| Название рус.: | Отвертки слесарно-монтажные для винтов и шурупов с крестообразным шлицем. Рабочая часть. Размеры |
| Название англ.: | Screwdrivers for fitting and assеmbling for recessed screws and wood screws. Working part. Dimensions |
| Дата добавления в базу: | 01.09.2013 |
| Дата актуализации: | 01.01.2021 |
| Дата введения: | 01.01.2009 |
| Область применения: | Стандарт распространяется на слесарно-монтажные отвертки для винтов и шурупов с крестообразным шлицем и устанавливает размеры их рабочей части. |
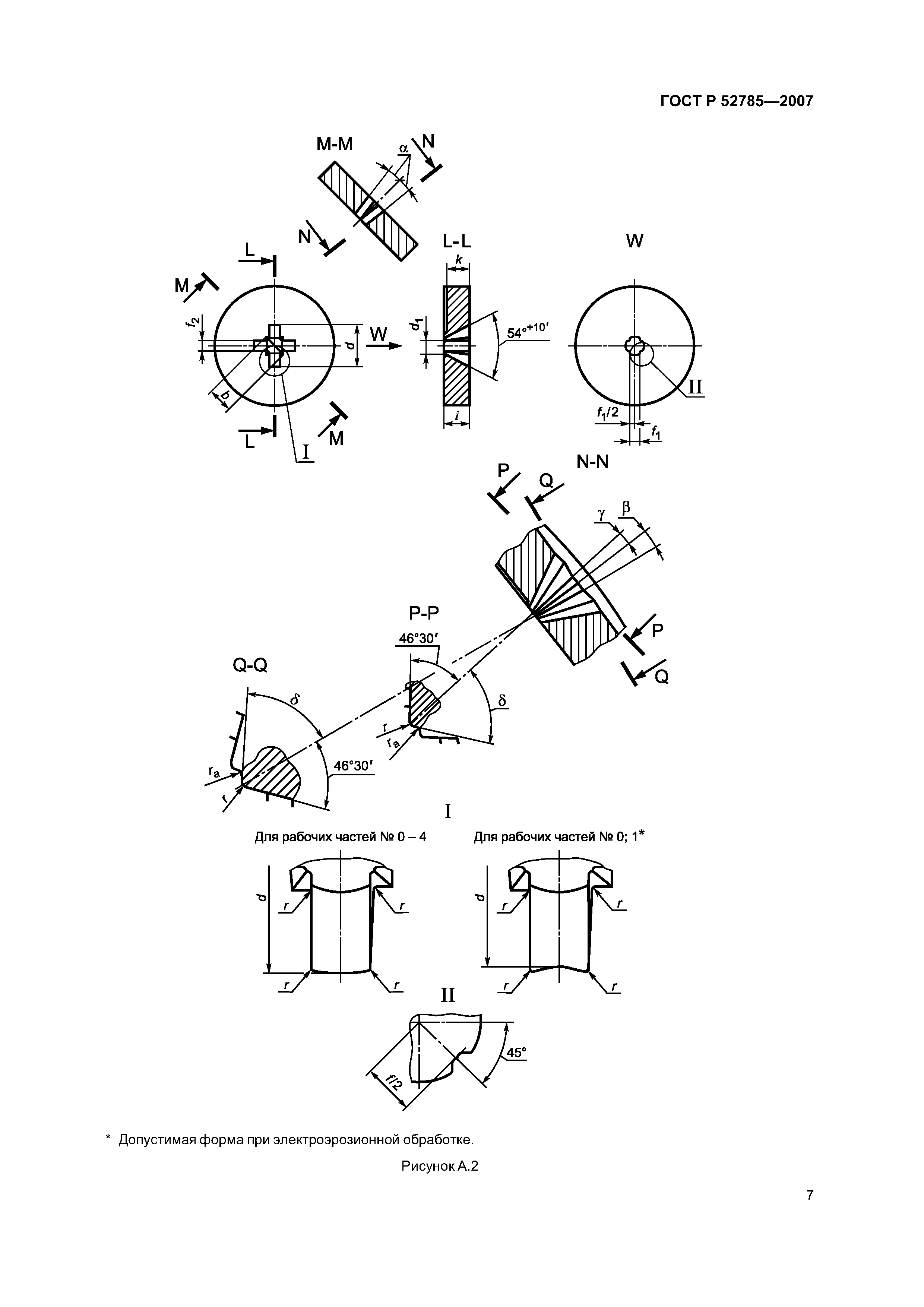
| Оглавление: | 1 Область применения 2 Нормативные ссылки 3 Типы и основные размеры 4 Контроль размеров Приложение А (обязательное) Размеры комплексных калибров |
| Разработан: | ОАО ВНИИИНСТРУМЕНТ |
| Утверждён: | 30.11.2007 Федеральное агентство по техническому регулированию и метрологии (348-ст) |
| Издан: | Стандартинформ (2008 г. ) Стандартинформ (2010 г. ) |
| Список изменений: |
|
| Нормативные ссылки: |
|











