Скачать Рекомендации по проектированию свайных фундаментов с промежуточной подушкой для зданий и сооружений, возводимых в сейсмических районах.

Дата актуализации: 01.01.2021

Рекомендации по проектированию свайных фундаментов с промежуточной подушкой для зданий и сооружений, возводимых в сейсмических районах.

Статус:действует
Название рус.:Рекомендации по проектированию свайных фундаментов с промежуточной подушкой для зданий и сооружений, возводимых в сейсмических районах.
Дата добавления в базу:01.09.2013
Дата актуализации:01.01.2021
Область применения:Рекомендации распространяются на проектирование свайных фундаментов с промежуточной подушкой для зданий и сооружений, возводимых на площадках сейсмичностью 7, 8, 9 баллов
Оглавление:Введение
1. Общие положения
2. Указания по проектированию
3. Указания по испытанию свайных фундаментов с промежуточной подушкой вертикальной статической нагрузкой
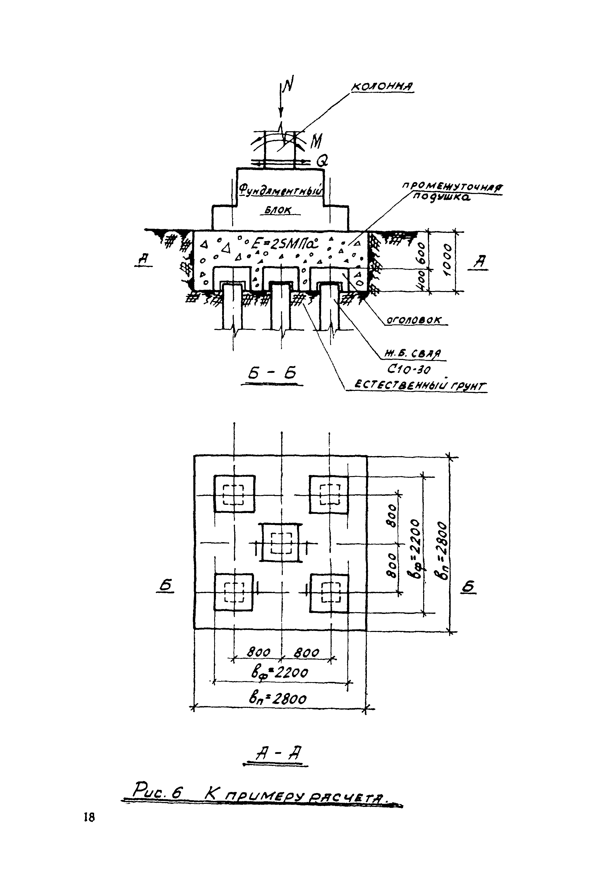
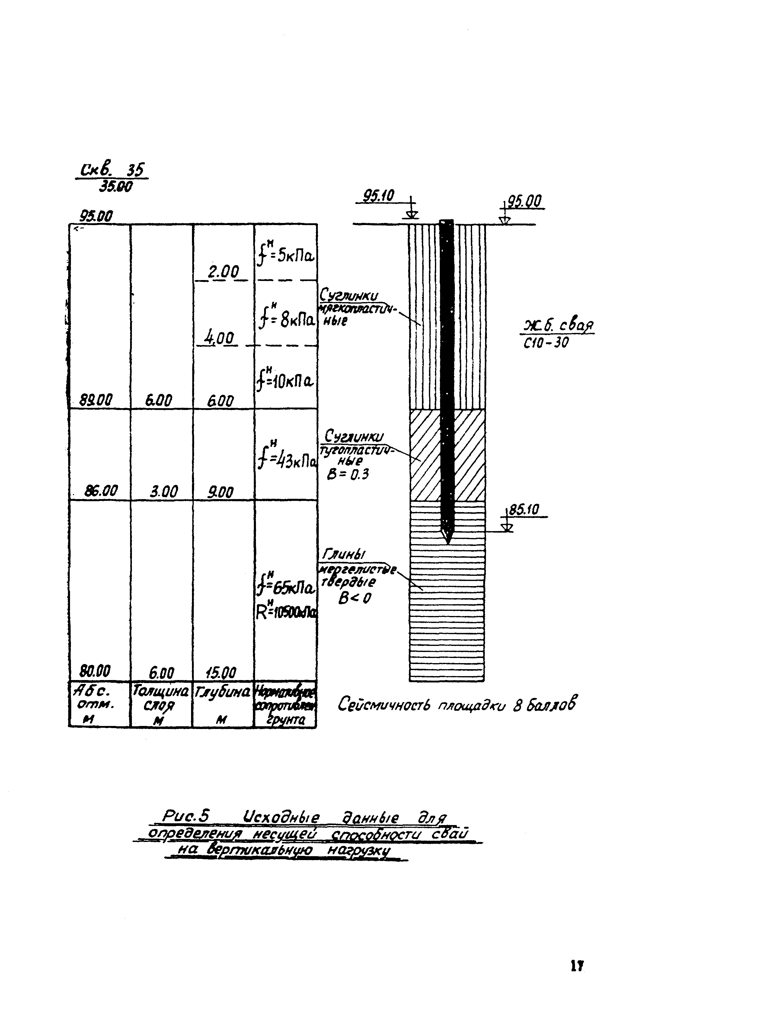
Приложение. Пример проектирования и расчета свайного фундамента с промежуточной подушкой
Разработан: Институт Фундаментпроект Госстроя СССР
НИИ оснований им. Н.М. Герсеванова
Издан: Издательство ЦК КП Молдавии (1974 г. )
Нормативные ссылки: