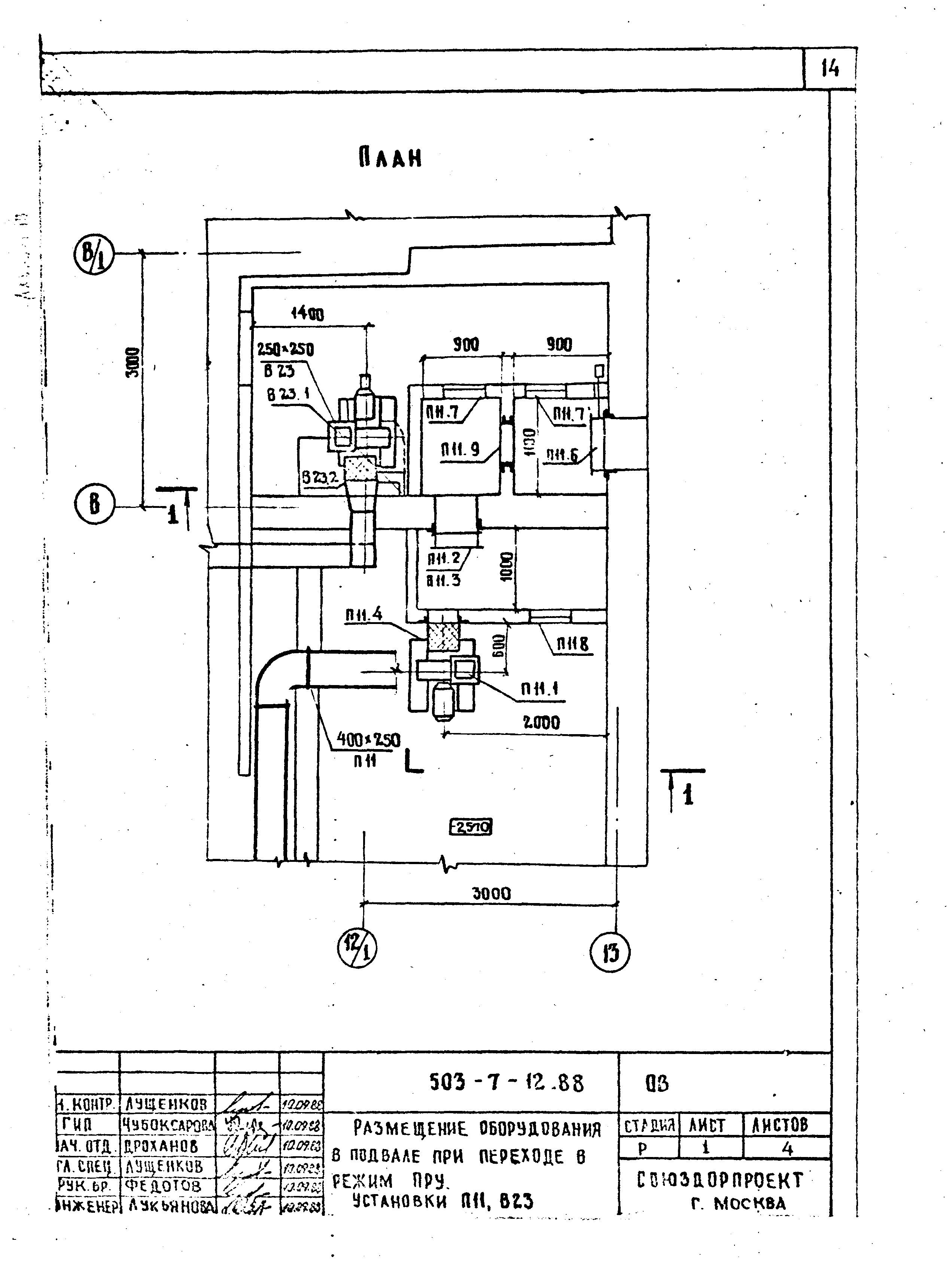
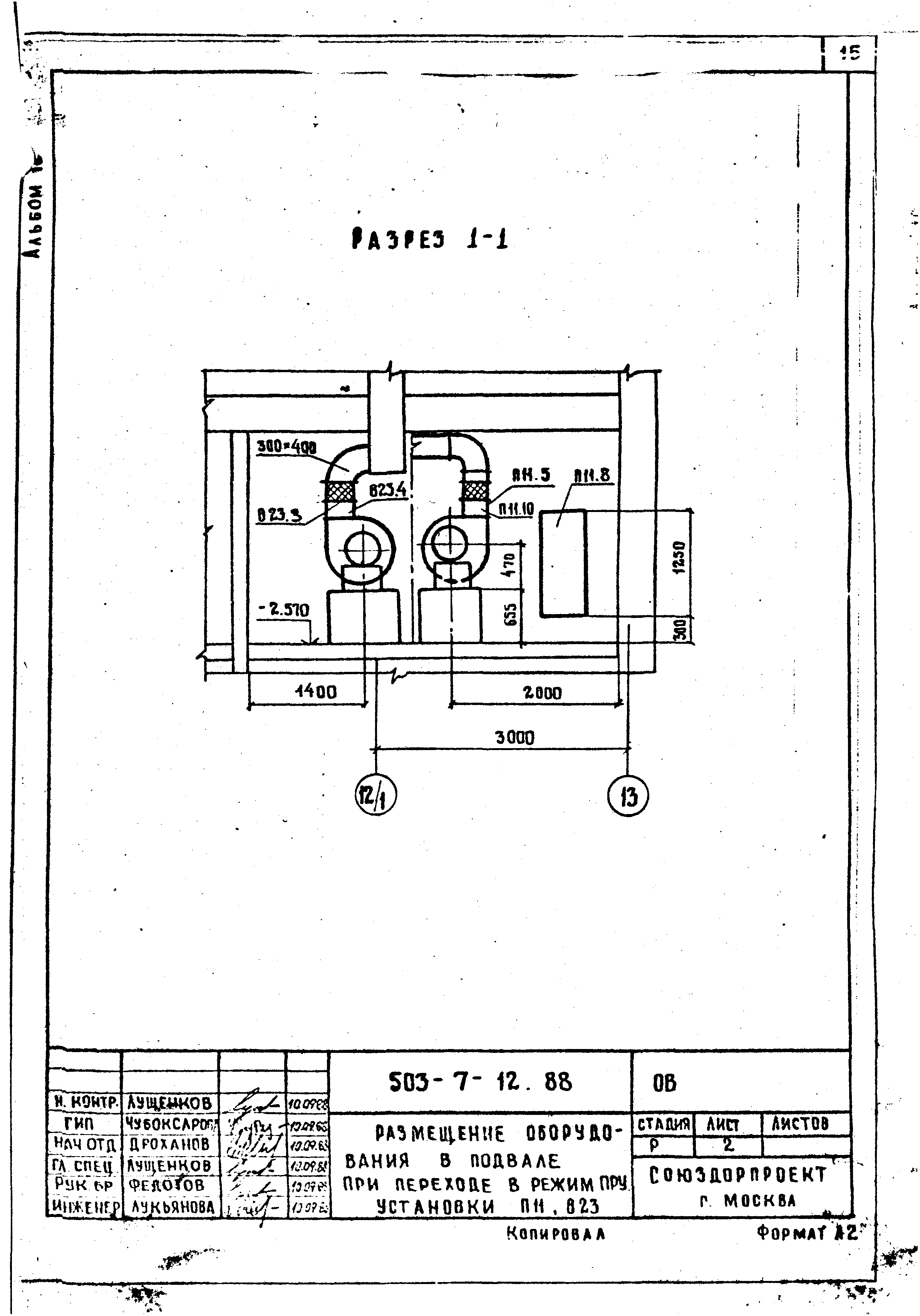
Скачать Типовой проект 503-7-12.88 Альбом 10. Проектная документация по переводу подвальных помещений на режим ПРУДата актуализации: 01.01.2021
|
| Обозначение: | Типовой проект 503-7-12.88 |
| Обозначение англ: | 503-7-12.88 |
| Статус: | не определен законодательством |
| Название рус.: | Альбом 10. Проектная документация по переводу подвальных помещений на режим ПРУ |
| Дата добавления в базу: | 01.09.2013 |
| Дата актуализации: | 01.01.2021 |
| Дата введения: | 28.10.1988 |
| Дата окончания срока действия: | 30.06.2003 |
| Разработан: | ГПИ Союздорпроект |
| Утверждён: | 27.10.1988 Минтрансстрой СССР (USSR Mintransstroy АВ-640) |



















