Скачать ОСТ 1 13663-80 Угольники фланцевые герметизируемые с углом наклона 135 градусов. Конструкция и размерыДата актуализации: 01.01.2021 ОСТ 1 13663-80
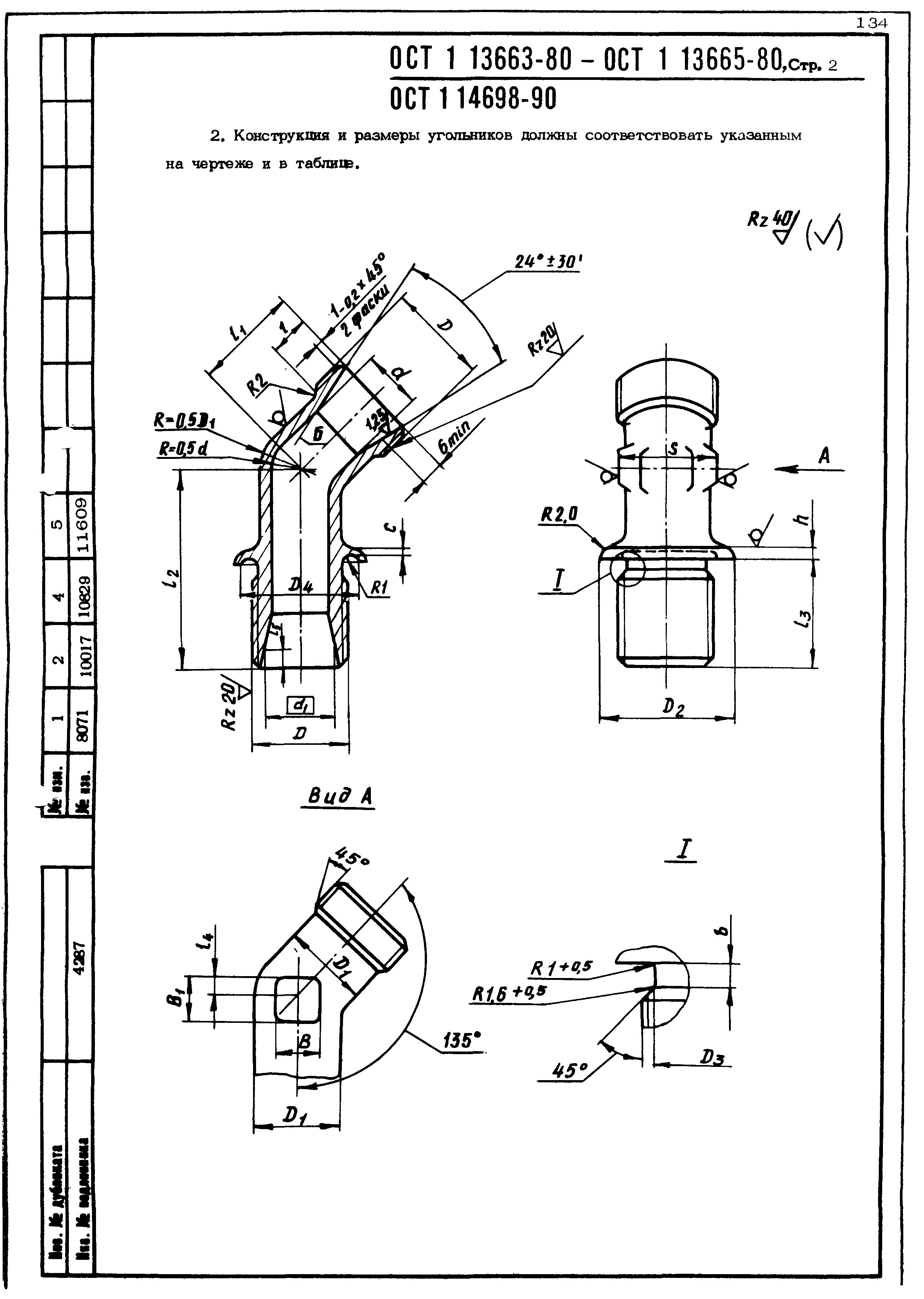
Угольники фланцевые герметизируемые с углом наклона 135 градусов. Конструкция и размеры| Обозначение: | ОСТ 1 13663-80 | | Обозначение англ: | 13663-80 | | Статус: | действует | | Название рус.: | Угольники фланцевые герметизируемые с углом наклона 135 градусов. Конструкция и размеры | | Дата добавления в базу: | 01.09.2013 | | Дата актуализации: | 01.01.2021 | | Дата введения: | 01.01.1981 | | Область применения: | Стандарты распространяются на фланцевые герметизируемые угольники с углом наклона 135 градусов, предназначенные для разъемных соединений трубопроводов. | | Утверждён: | 14.05.1980 Министерство (Ministry 087-16)
|
   
|