Скачать Серия 1.189.1-9 Выпуск 2. Конструкции шахт лифтов грузоподъемностью 400 кг с противовесом сзади кабины (номинальные внутренние размеры шахт 1730х1580 мм) для зданий высотой до 10 этажей. Рабочие чертежиДата актуализации: 01.01.2021
|
| Обозначение: | Серия 1.189.1-9 |
| Обозначение англ: | Series 1.189.1-9 |
| Статус: | не действует |
| Название рус.: | Выпуск 2. Конструкции шахт лифтов грузоподъемностью 400 кг с противовесом сзади кабины (номинальные внутренние размеры шахт 1730х1580 мм) для зданий высотой до 10 этажей. Рабочие чертежи |
| Дата добавления в базу: | 01.09.2013 |
| Дата актуализации: | 01.01.2021 |
| Дата введения: | 31.03.1987 |
| Дата окончания срока действия: | 01.04.1990 |
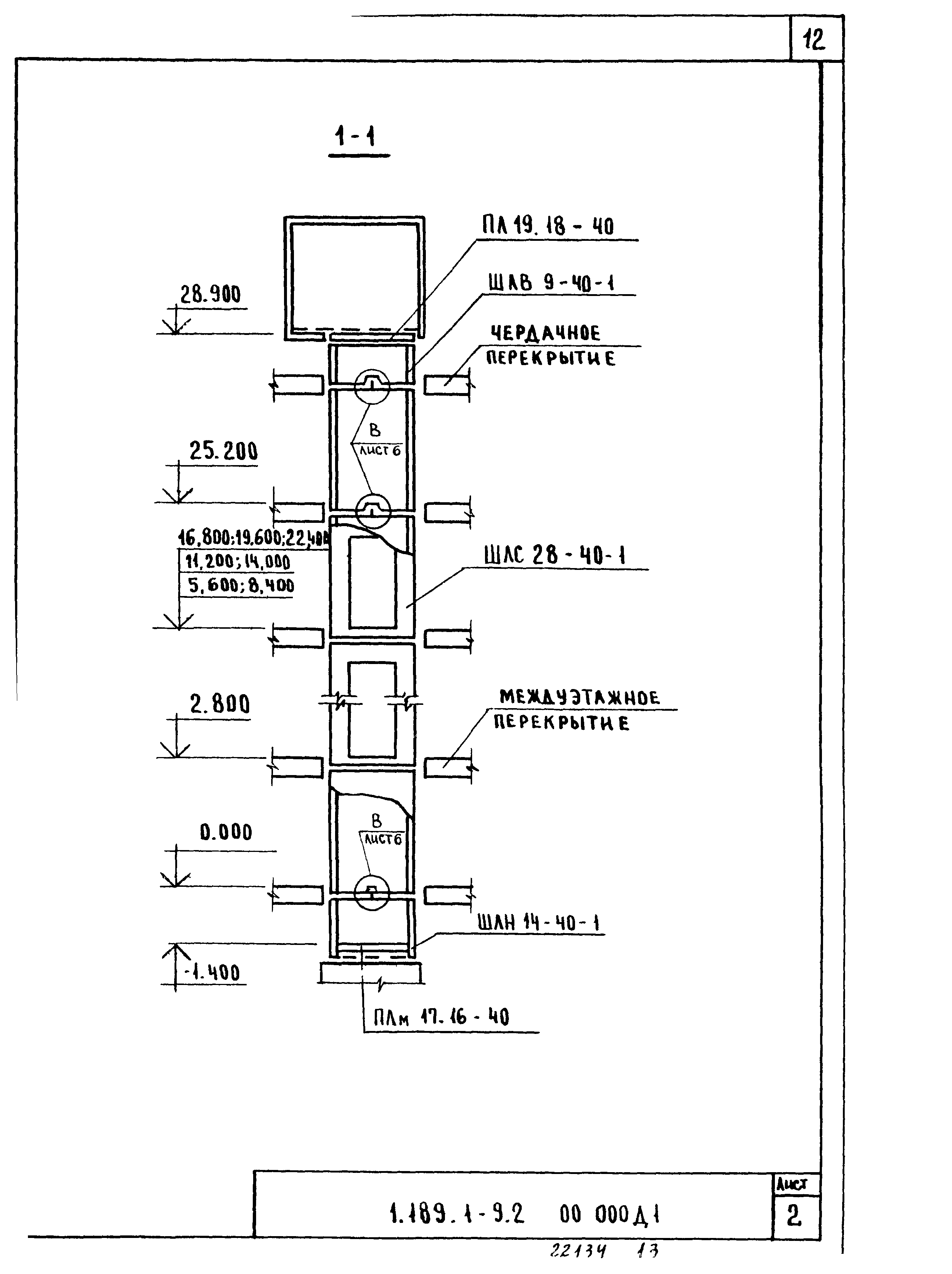
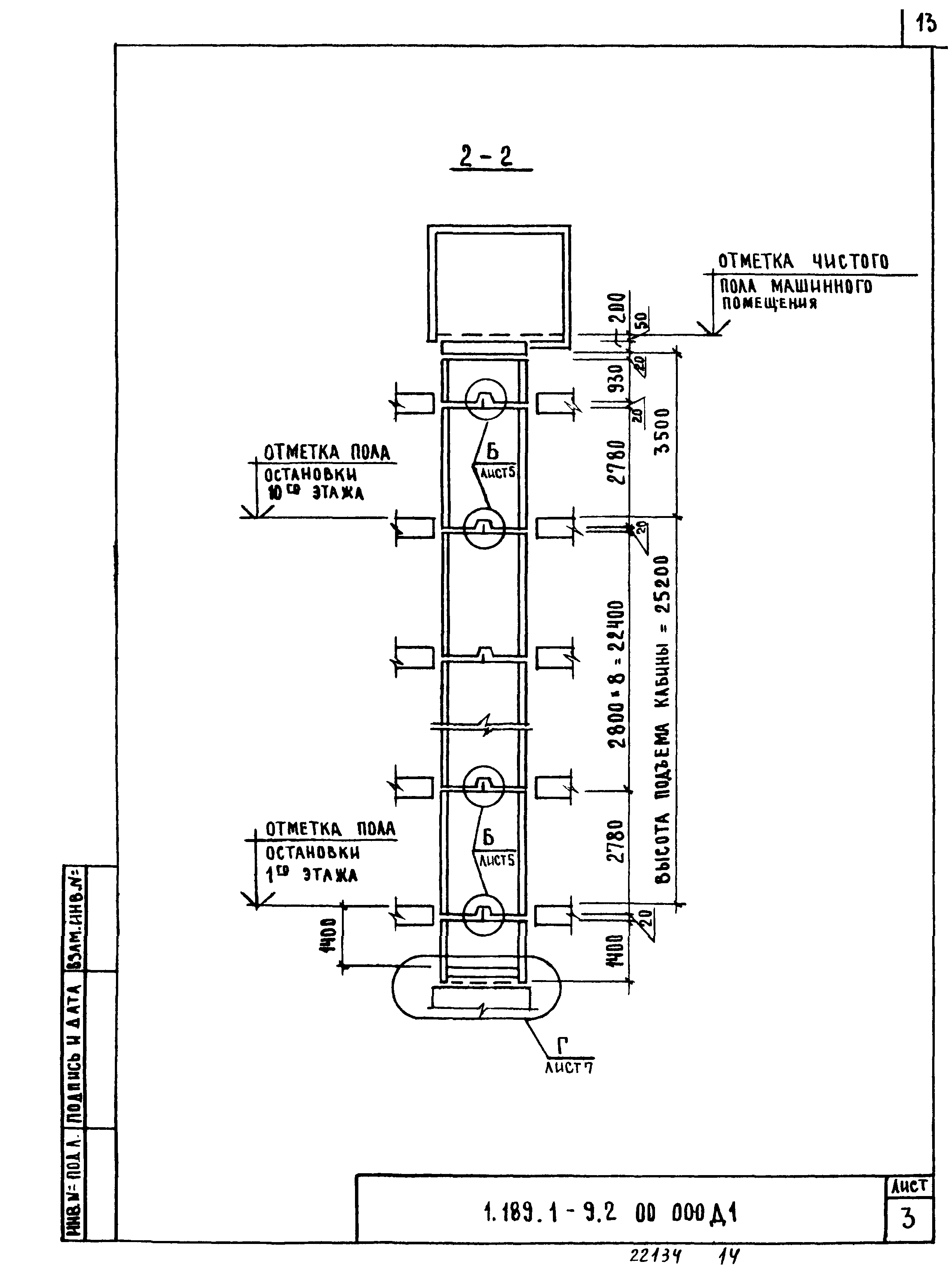
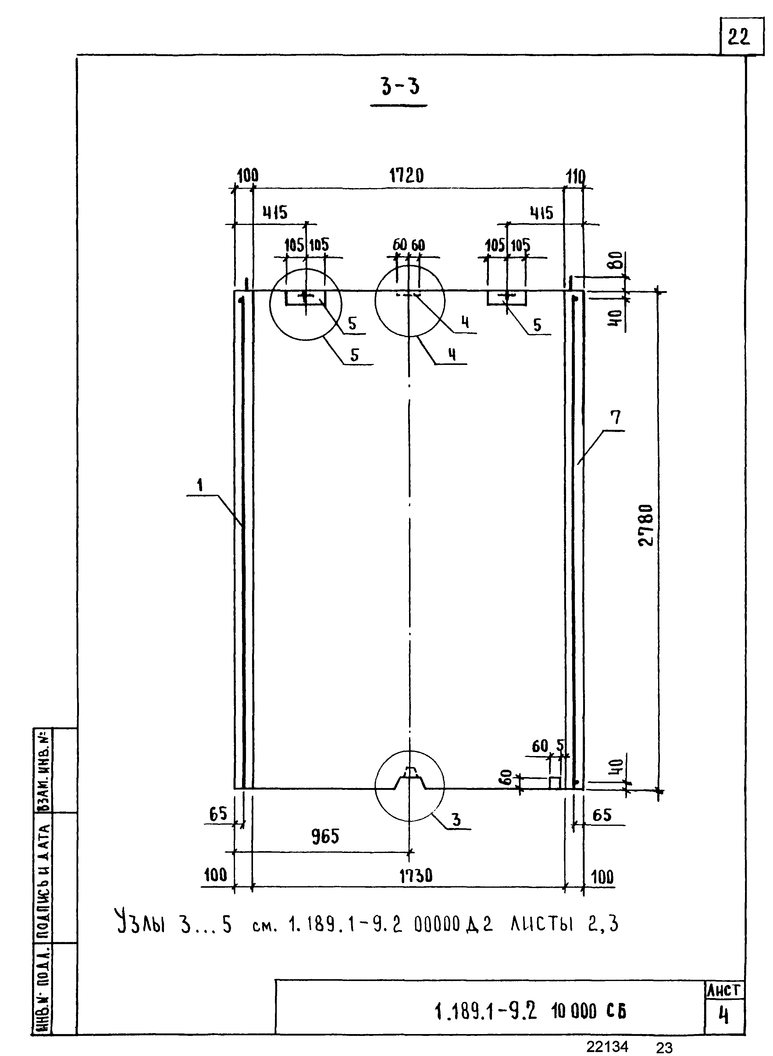
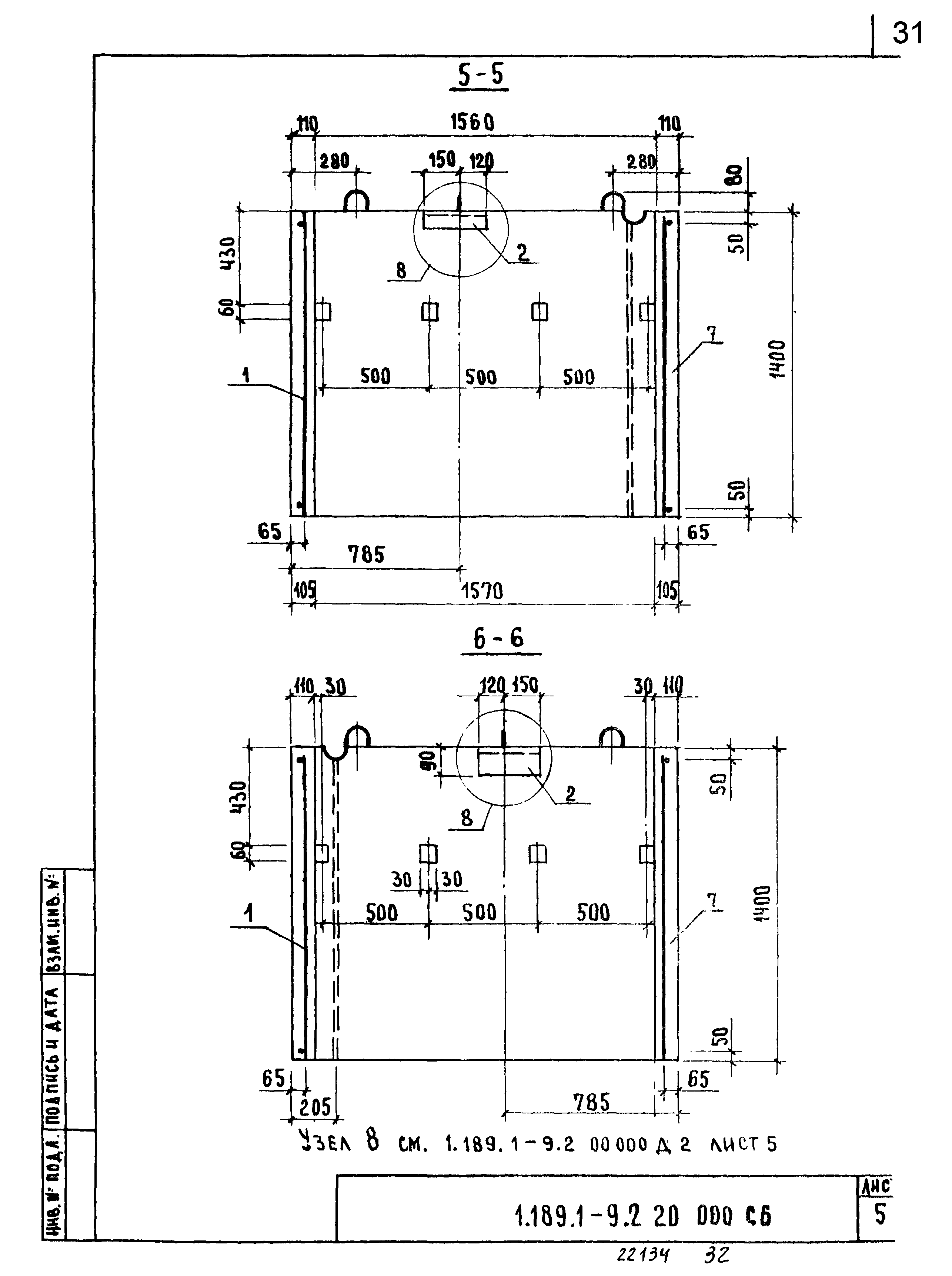
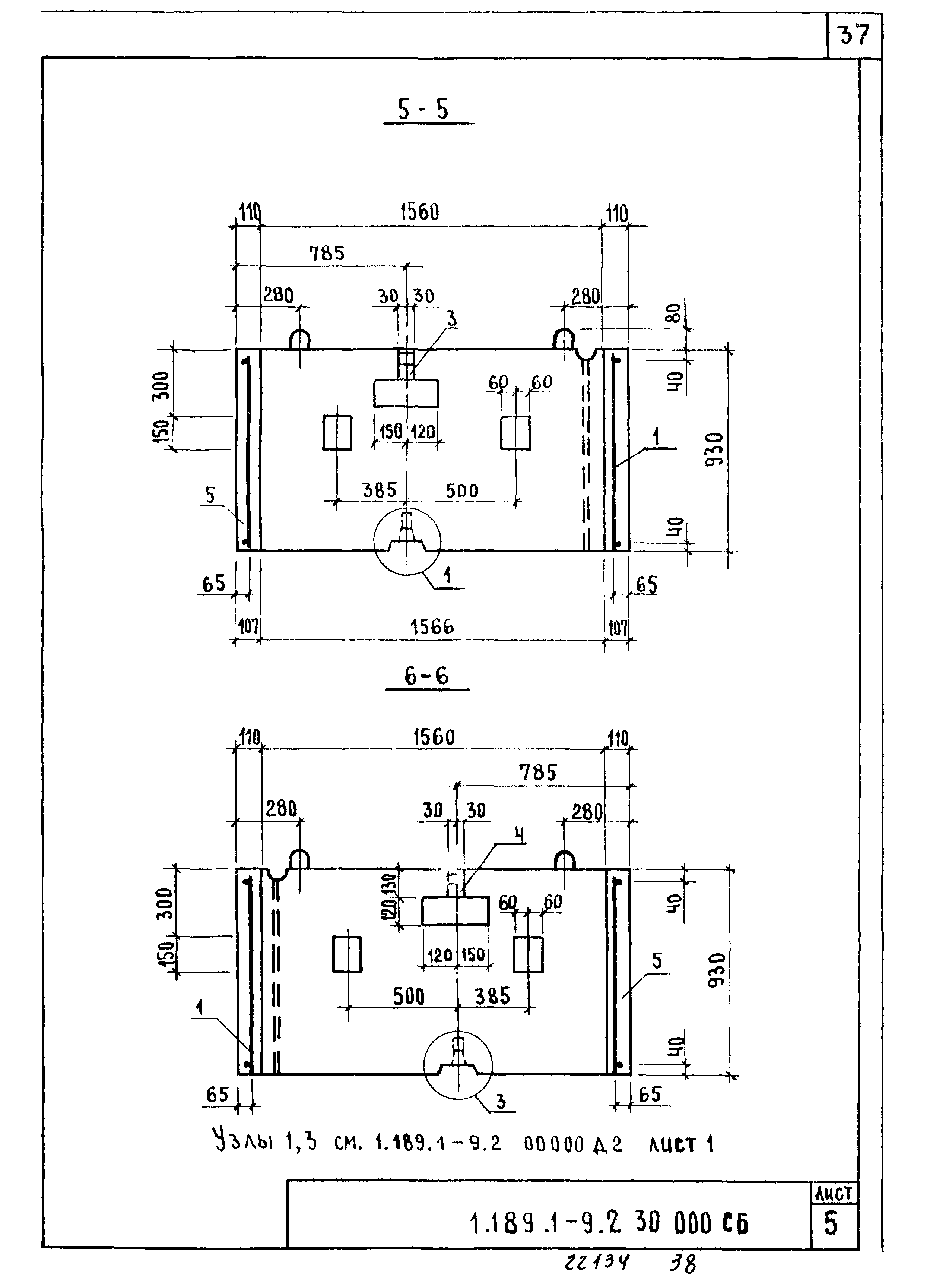
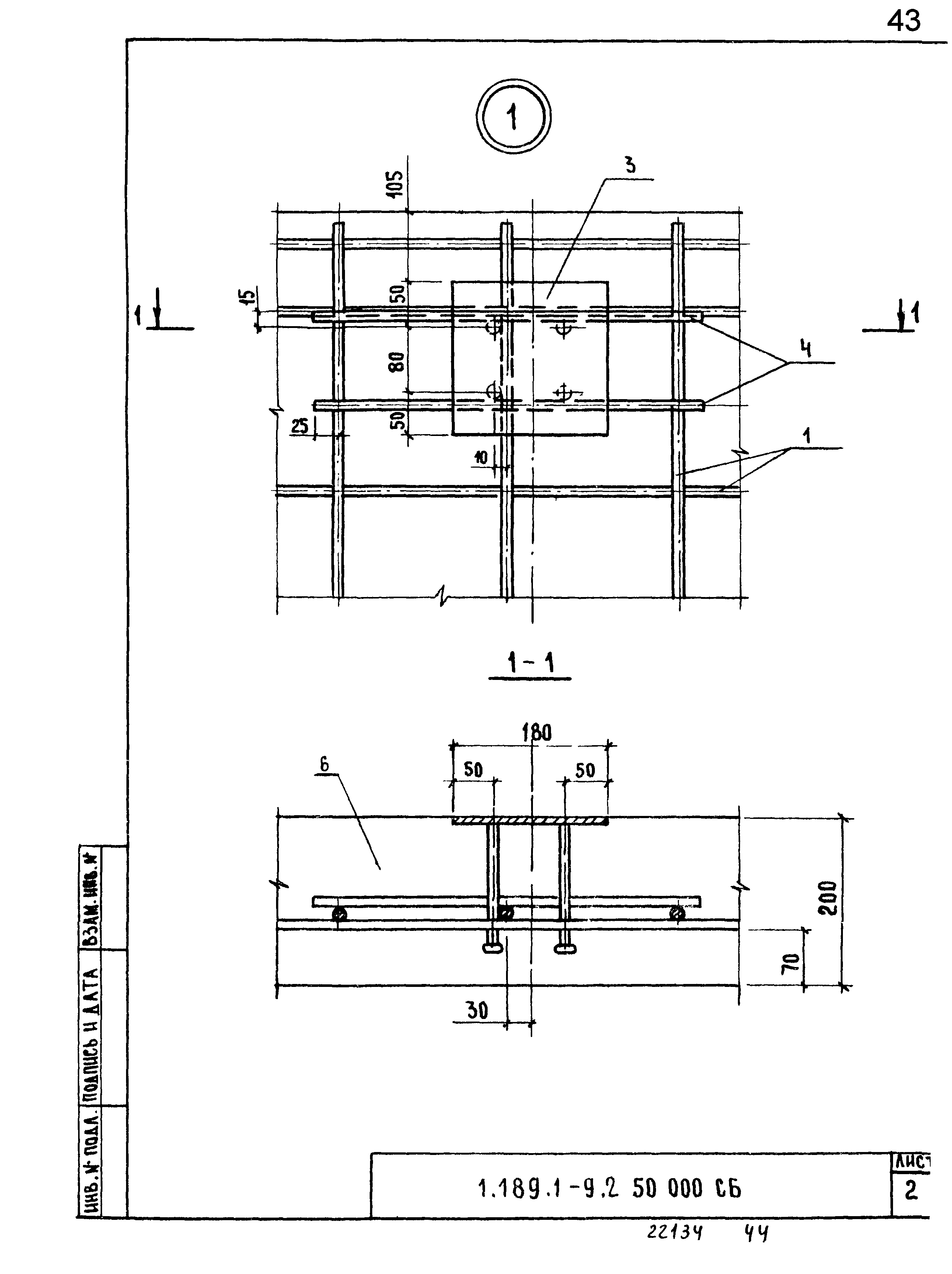
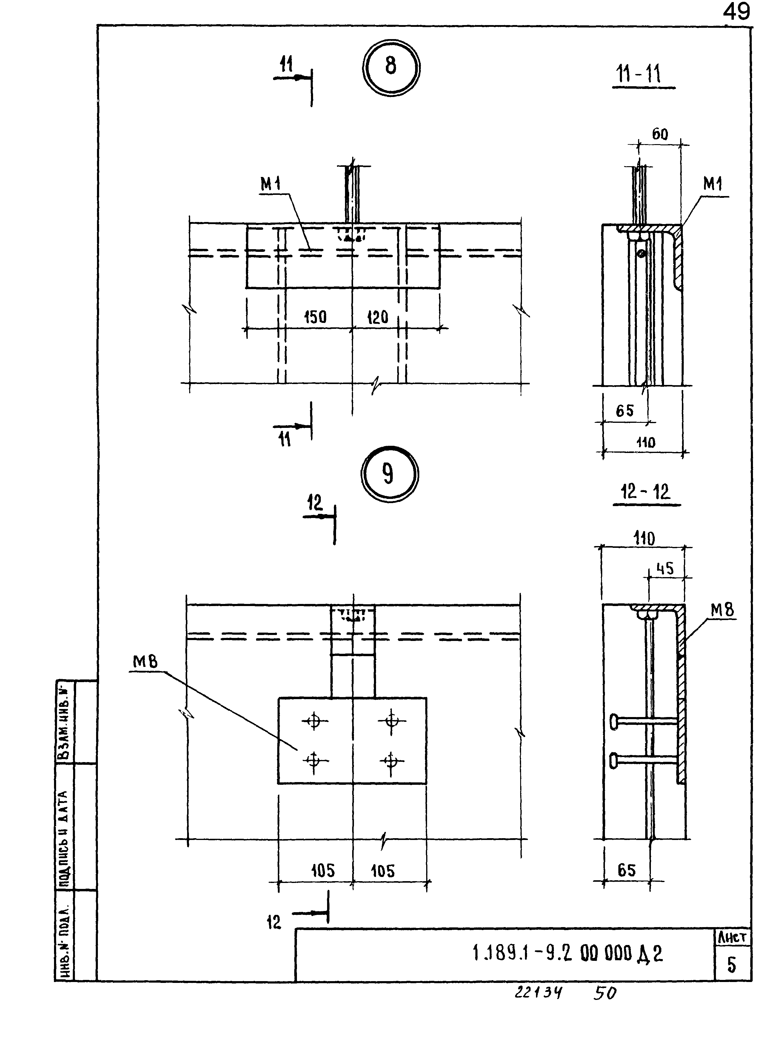
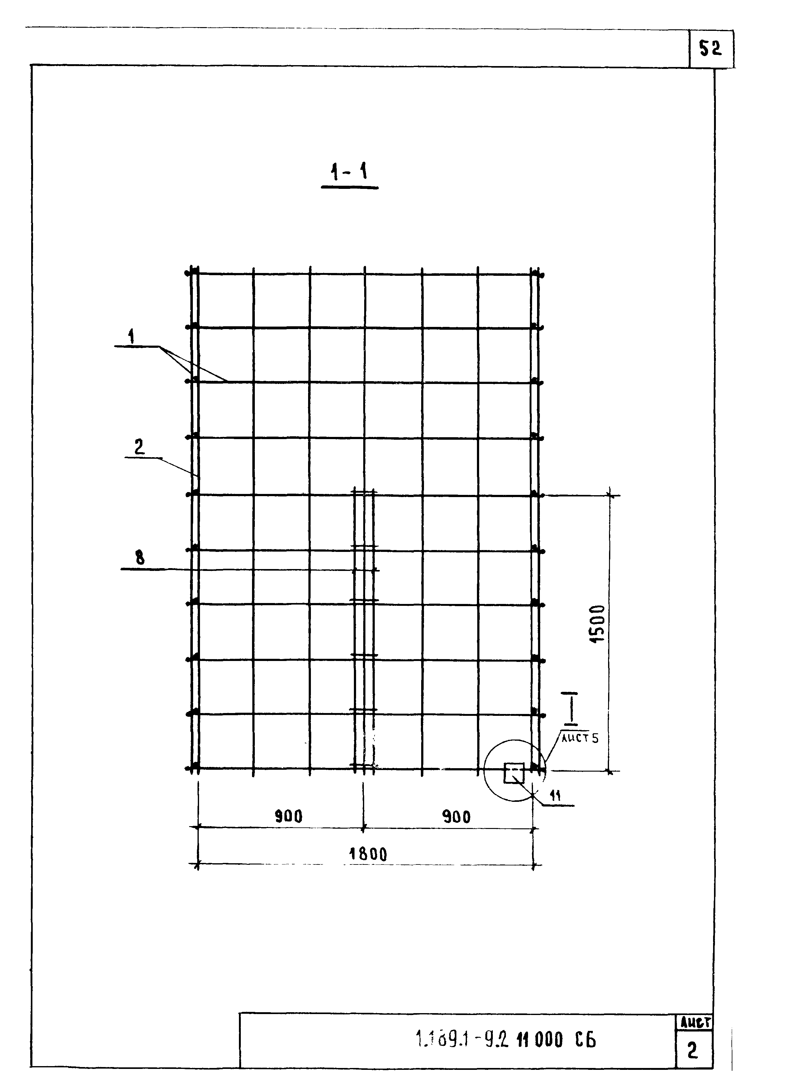
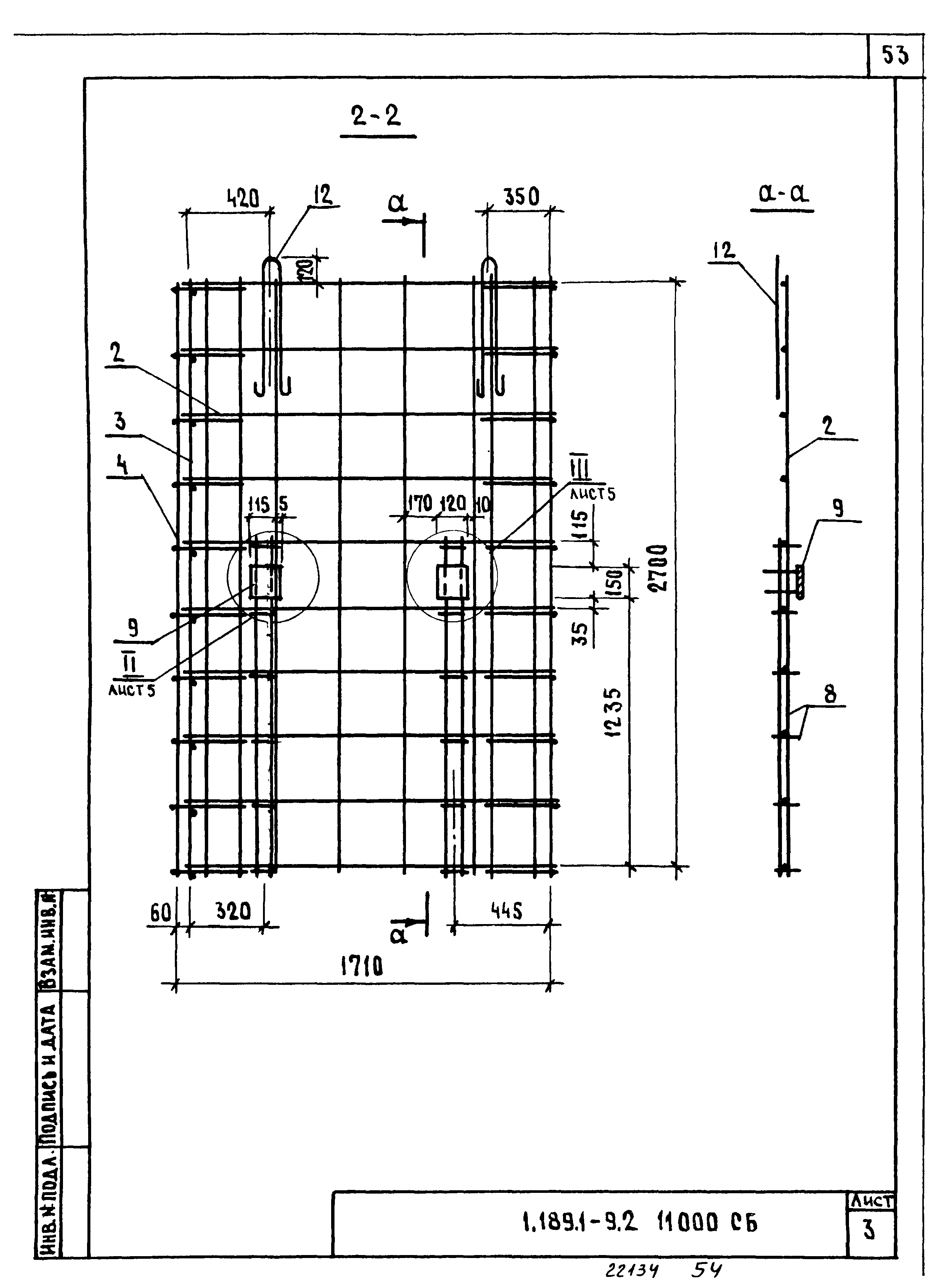
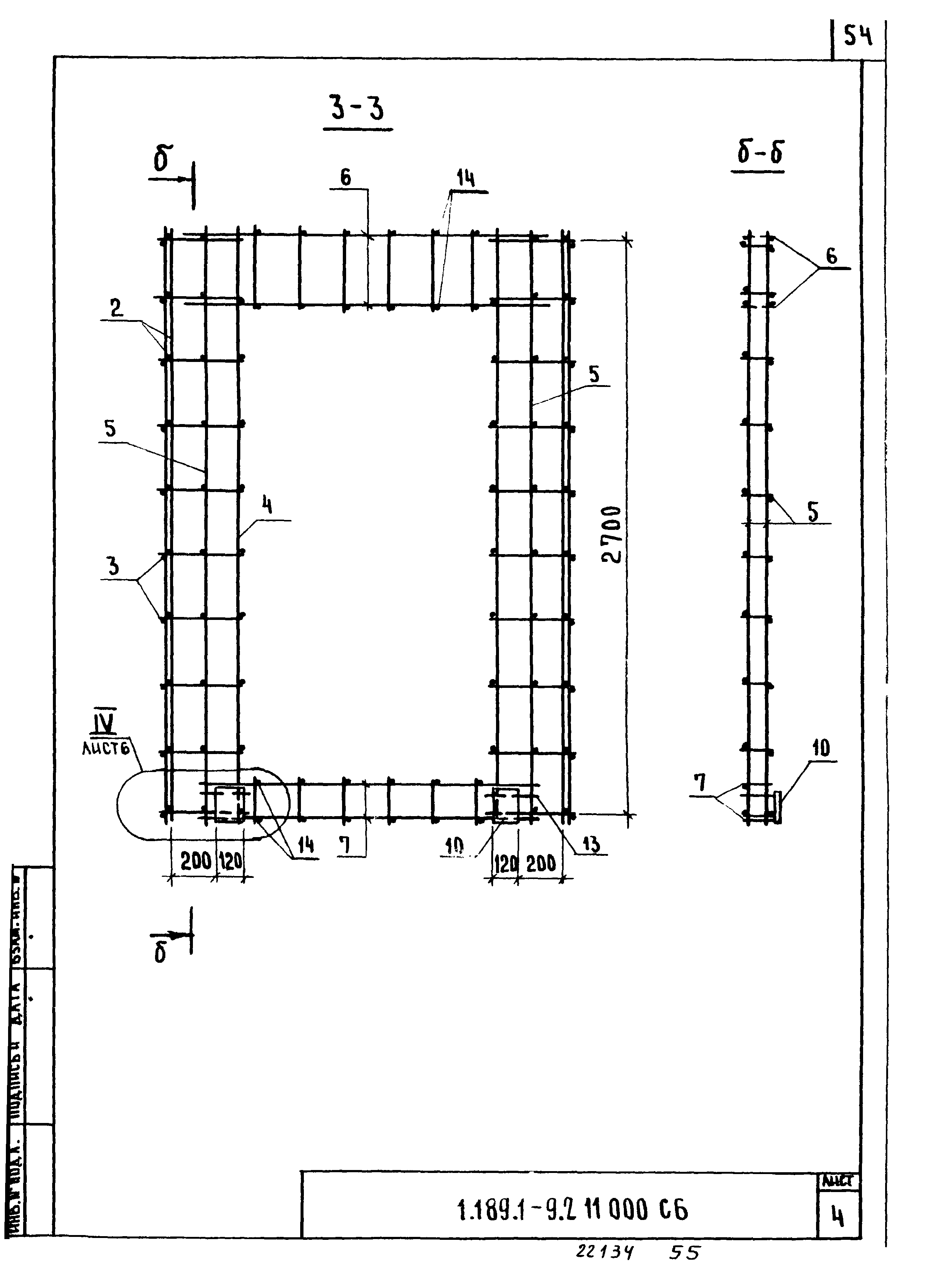
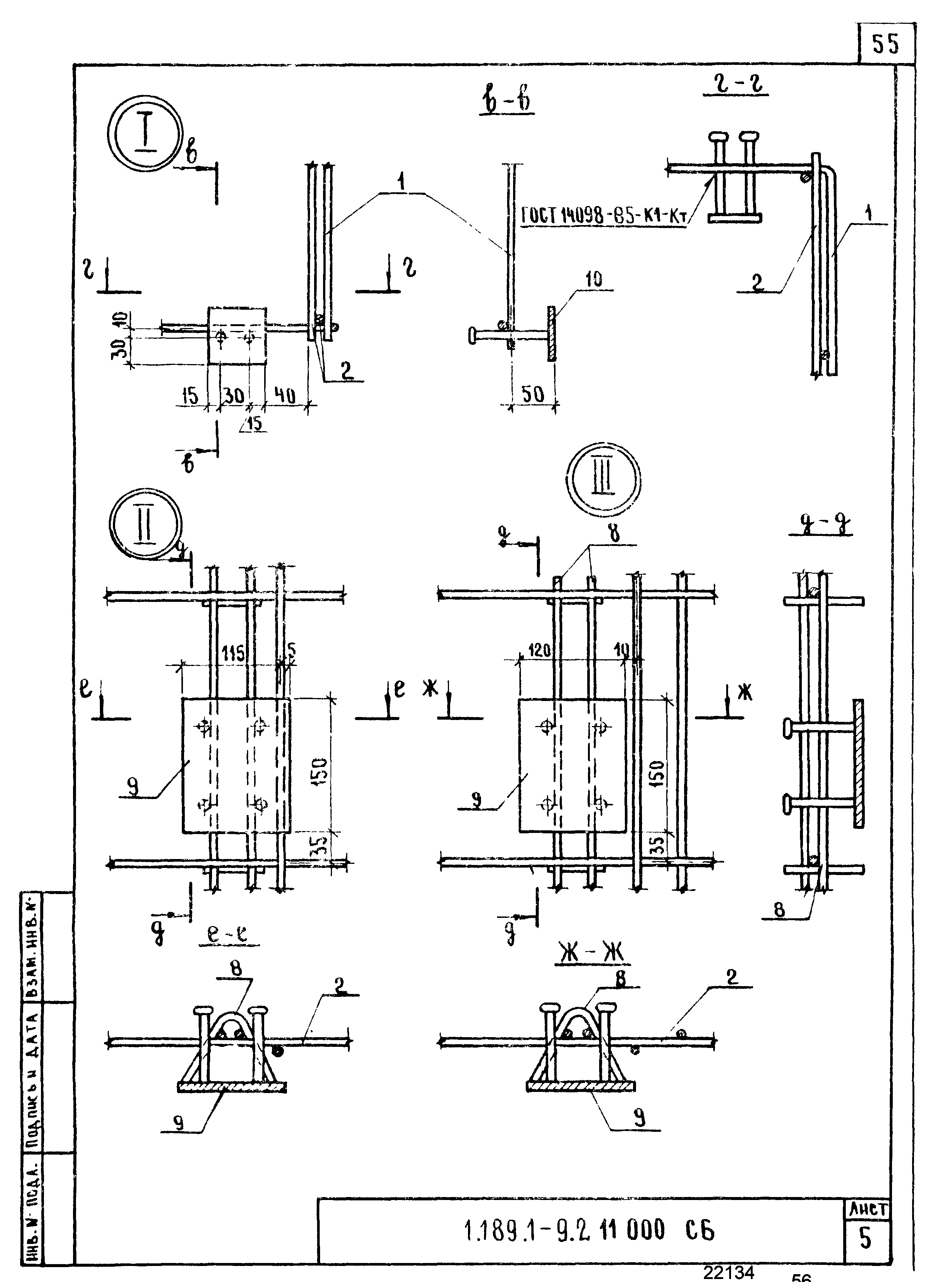
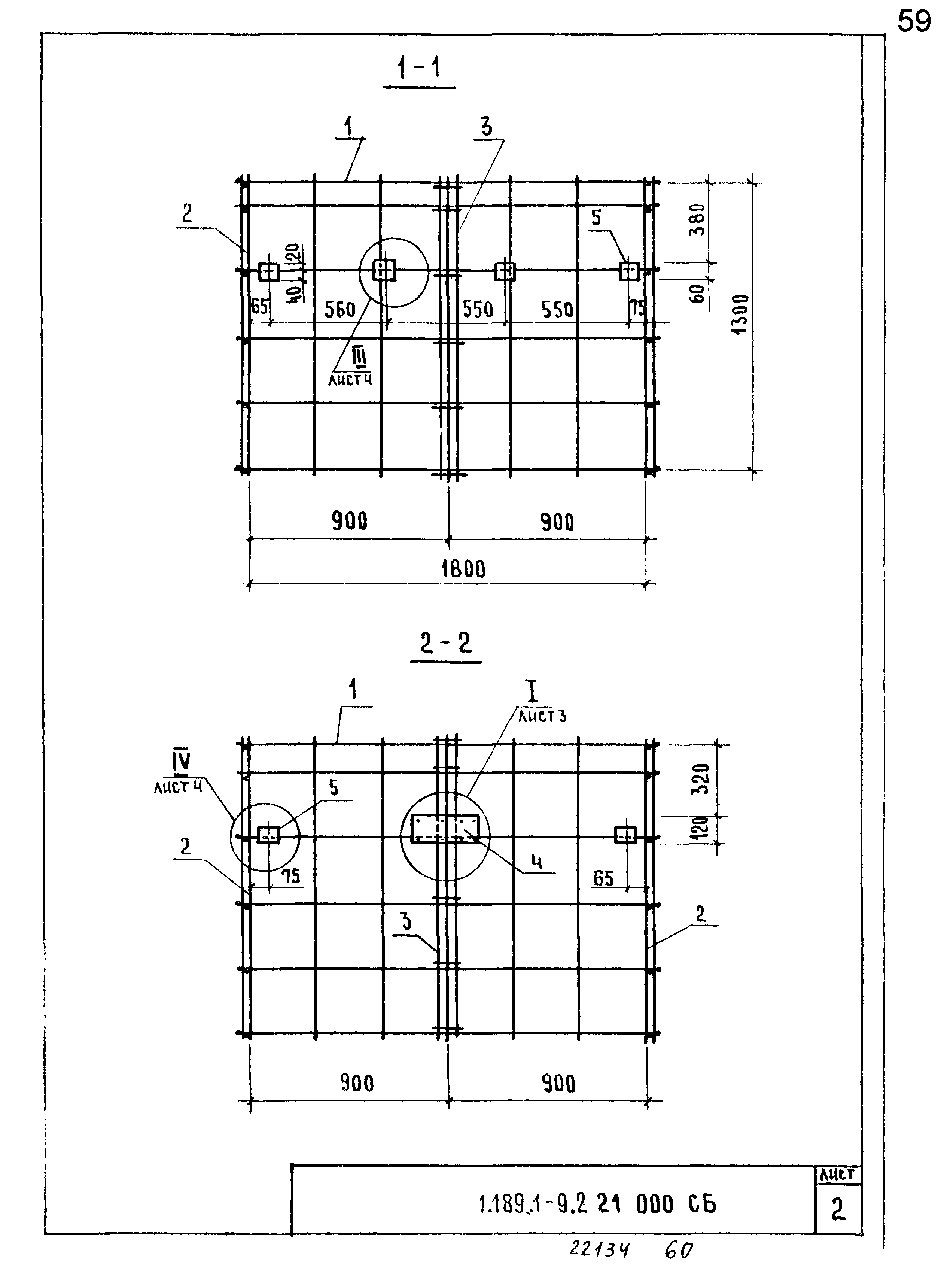
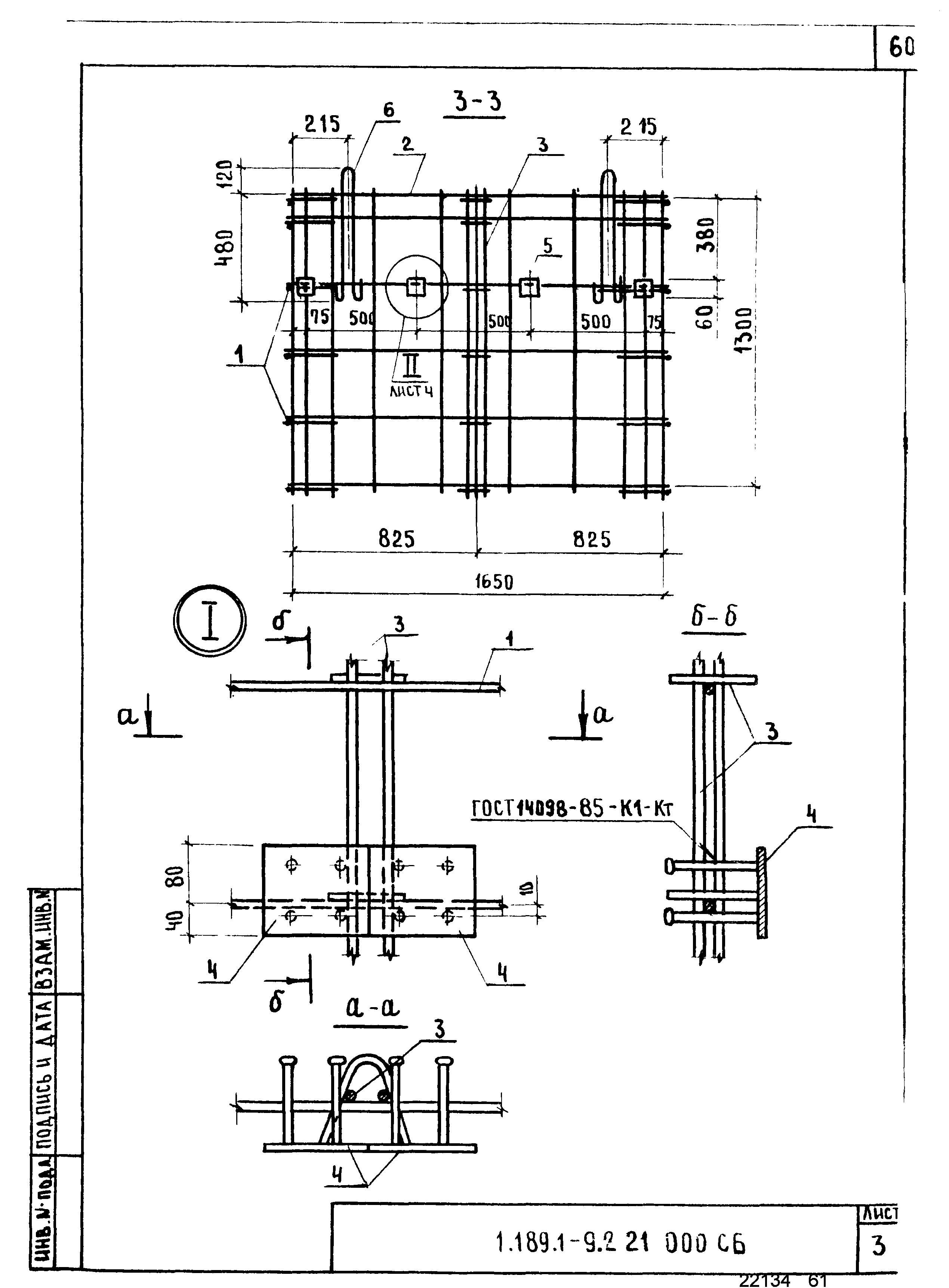
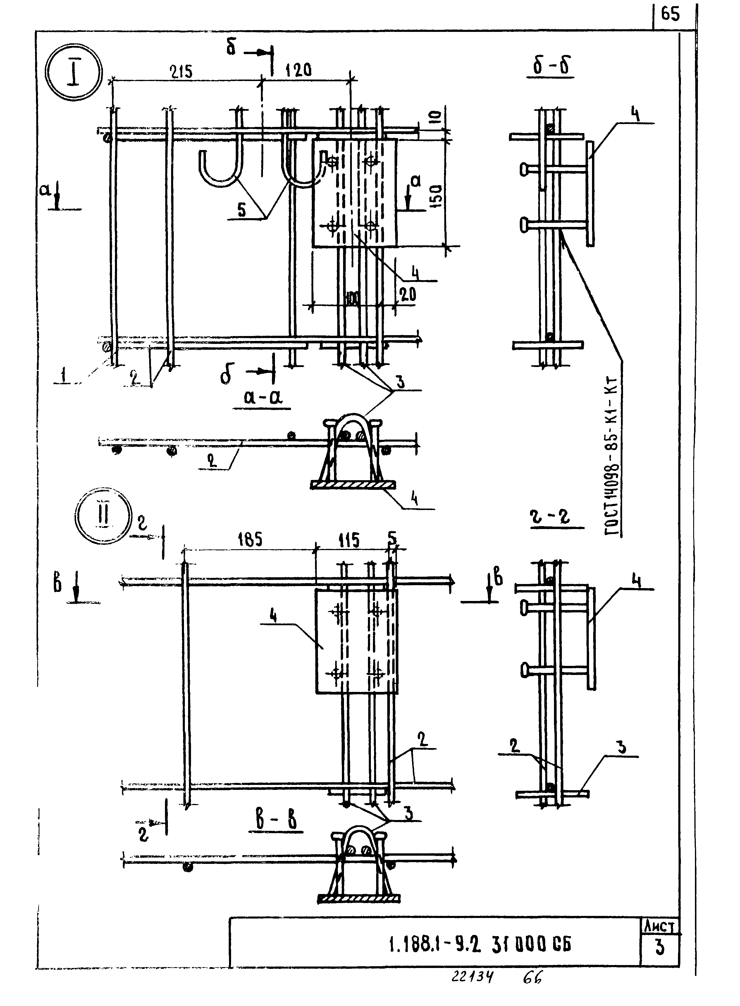
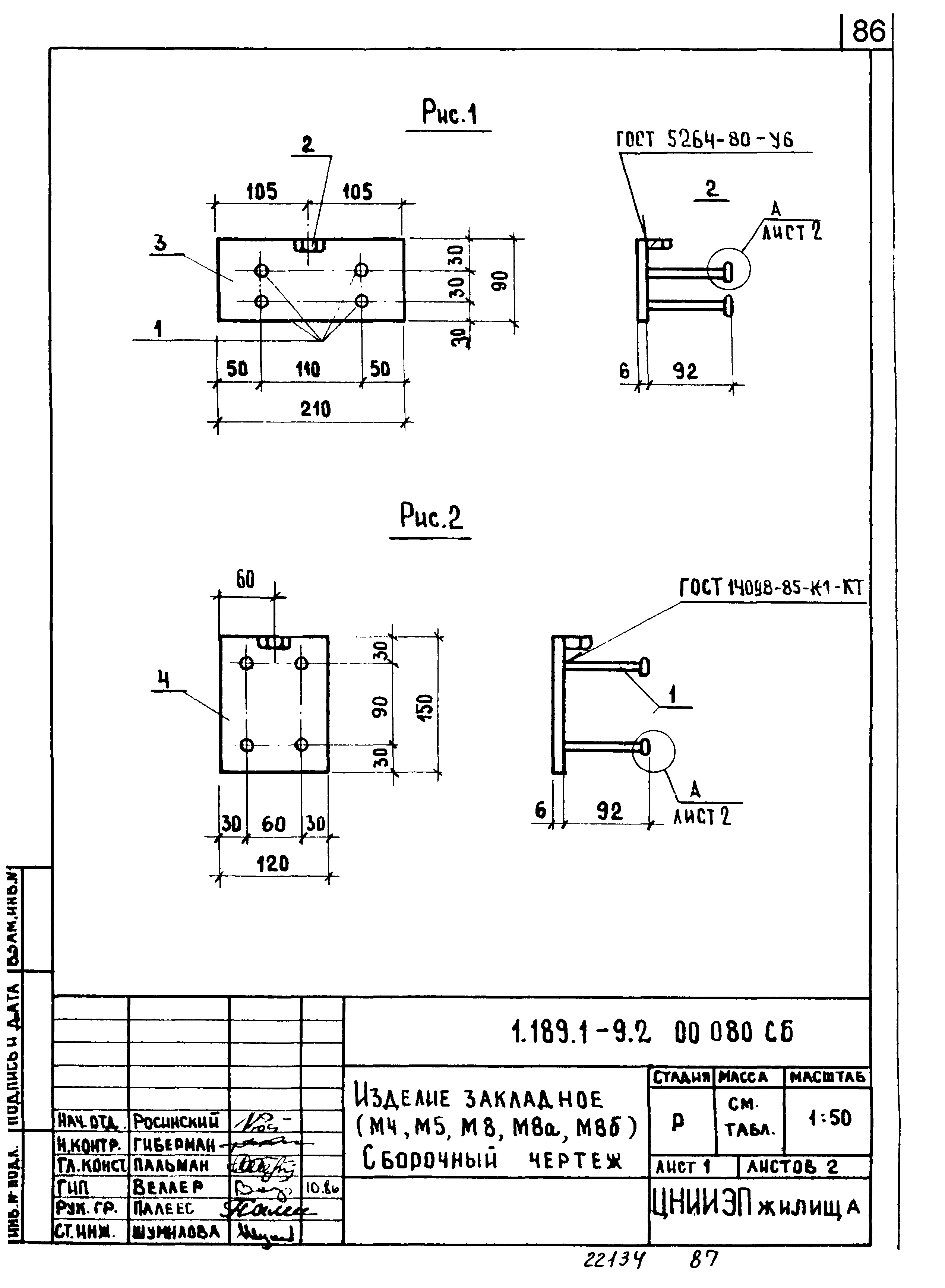
| Оглавление: | 1.189.1-9.2 00 000 ТО Техническое описание 1.189.1-9.2 00 000 Н Номенклатура конструкций 1.189.1-9.2 00 000 Д1 Схема расположения блоков, детали, узлы А,Б,В,Г 1.189.1-9.2 10 000 Блок средний ШЛС 28-40-1 1.189.1-9.2 10 000 СБ Блок средний ШЛС 28-40-1. Сборочный чертеж 1.189.1-9.2 20 000 Блок нижний ШЛС 14-40-1 1.189.1-9.2 20 000 СБ Блок нижний ШЛС 14-40-1. Сборочный чертеж 1.189.1-9.2 30 000 Блок верхний ШЛС 9-40-1 1.189.1-9.2 30 000 СБ Блок верхний ШЛС 9-40-1. Сборочный чертеж 1.189.1-9.2 40 000 Плита перекрытия ПЛ19.18-40 1.189.1-9.2 40 000 СБ Плита перекрытия ПЛ19.18-40. Сборочный чертеж 1.189.1-9.2 50 000 Монолитная плита приямка ПЛм17.16-40 1.189.1-9.2 50 000 СБ Монолитная плита приямка ПЛм17.16-40. Сборочный чертеж 1.189.1-9.2 00 000 Д2 Узлы 1…9 1.189.1-9.2 11 000 Блок арматурный АБ1 1.189.1-9.2 11 000 СБ Блок арматурный АБ1. Сборочный чертеж 1.189.1-9.2 21 000 Блок арматурный АБ2 1.189.1-9.2 21 000 СБ Блок арматурный АБ2. Сборочный чертеж 1.189.1-9.2 31 000 Блок арматурный АБ3 1.189.1-9.2 31 000 СБ Блок арматурный АБ3. Сборочный чертеж 1.189.1-9.2 41 000 Блок арматурный АБ4 1.189.1-9.2 41 000 СБ Блок арматурный АБ4. Сборочный чертеж 1.189.1-9.2 00 010 Сетка (С1…С3) 1.189.1-9.2 00 010 СБ Сетка (С1…С3). Сборочный чертеж 1.189.1-9.2 00 020 Сетка (С4…С6) 1.189.1-9.2 00 020 СБ Сетка (С4…С6). Сборочный чертеж 1.189.1-9.2 00 030 Сетка (С7…С9) 1.189.1-9.2 00 030 СБ Сетка (С7…С9). Сборочный чертеж 1.189.1-9.2 00 040 Сетка С10 1.189.1-9.2 00 050 Каркас (К1,К2) 1.189.1-9.2 00 050 СБ Каркас (К1,К2). Сборочный чертеж 1.189.1-9.2 00 060 Каркас (К3...К6) 1.189.1-9.2 00 060 СБ Каркас (К3...К6). Сборочный чертеж 1.189.1-9.2 00 070 Изделие закладное (М1…М3) 1.189.1-9.2 00 070 СБ Изделие закладное (М1…М3). Сборочный чертеж 1.189.1-9.2 00 080 Изделие закладное (М4,М5,М8,М8а,М8б) 1.189.1-9.2 00 080 СБ Изделие закладное (М4,М5,М8,М8а,М8б). Сборочный чертеж 1.189.1-9.2 00 090 Изделие закладное (М6,М6а,М7) 1.189.1-9.2 00 090 СБ Изделие закладное (М6,М6а,М7). Сборочный чертеж 1.189.1-9.2 00 100 Изделие закладное (М9...М13) 1.189.1-9.2 00 100 СБ Изделие закладное (М9...М13). Сборочный чертеж 1.189.1-9.2 00 001 Петля строповочная (П1…П4) 1.189.1-9.2 00 000 РС Ведомость расхода стали 1.189.1-9.2 00 000 РМ Ведомость расхода материалов |
| Разработан: | ЦНИИЭП жилища |
| Утверждён: | 31.03.1987 Госгражданстрой (Gosgrazhdanstroy 106) |
| Принят: | Гипростроммаш |
| Издан: | ЦИТП Госстроя СССР (CITP, Gosstroy (USSR) 1987 г. ) |


































































































