Скачать ОСТ 108.275.52-80 Блоки хомутовые для подвесок трубопроводов ТЭС и АЭС. Конструкции и размеры

Дата актуализации: 01.01.2021

ОСТ 108.275.52-80

Блоки хомутовые для подвесок трубопроводов ТЭС и АЭС. Конструкции и размеры

Обозначение: ОСТ 108.275.52-80
Обозначение англ: OST 108.275.52-80
Статус:не определен законодательством
Название рус.:Блоки хомутовые для подвесок трубопроводов ТЭС и АЭС. Конструкции и размеры
Дата добавления в базу:01.09.2013
Дата актуализации:01.01.2021
Дата введения:01.01.1982
Дата окончания срока действия:30.06.2003
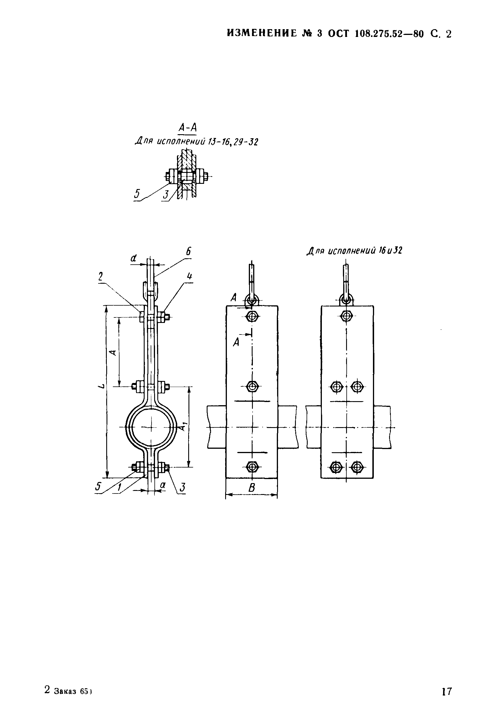
Область применения:Стандарт распространяется на хомутовые блоки для подвесок горизонтальных трубопроводов наружным диаметром: 57 - 720 мм из хромомолибденованадиевых, кремнемарганцовистых и углеродистой сталей для ТЭС; 57 - 630 мм из углеродистой и кремнемарганцовистых сталей для АЭС.
Утверждён:30.06.1980 Министерство энергетического машиностроения (Ministry of Energy Machinery Manufacturing ЮК-002/5260)
Список изменений:
Нормативные ссылки:
ОСТ 108.275.52-80ОСТ 108.275.52-80ОСТ 108.275.52-80ОСТ 108.275.52-80ОСТ 108.275.52-80ОСТ 108.275.52-80ОСТ 108.275.52-80ОСТ 108.275.52-80ОСТ 108.275.52-80ОСТ 108.275.52-80ОСТ 108.275.52-80

Текстовое изменение № 2 от 01.01.1984

№ 2№ 2№ 2№ 2№ 2№ 2№ 2№ 2№ 2

Текстовое изменение № 3 от 01.01.1988

№ 3№ 3№ 3№ 3№ 3№ 3

Текстовое изменение № от 15.02.1994

№ № № №