Скачать ОСТ 24.125.110-01 Подвески трубопроводов ТЭС и АЭС. Траверса. Конструкция и размерыДата актуализации: 01.01.2021
|
| Обозначение: | ОСТ 24.125.110-01 |
| Обозначение англ: | OST 24.125.110-01 |
| Статус: | не определен законодательством |
| Название рус.: | Подвески трубопроводов ТЭС и АЭС. Траверса. Конструкция и размеры |
| Дата добавления в базу: | 01.09.2013 |
| Дата актуализации: | 01.01.2021 |
| Дата введения: | 01.01.2002 |
| Дата окончания срока действия: | 30.06.2003 |
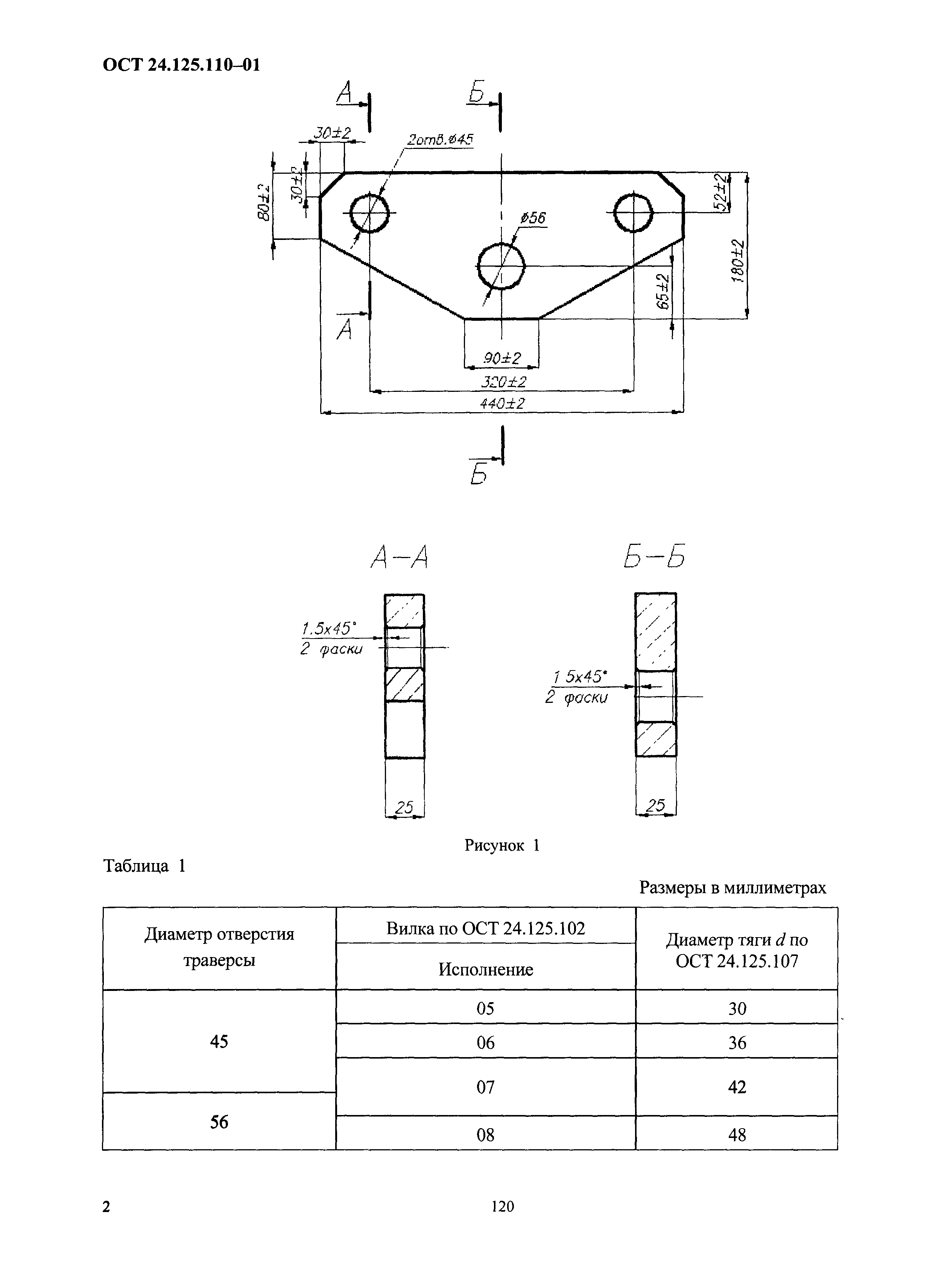
| Область применения: | Стандарт распространяется на траверсы для подвесок трубопроводов ТЭС и АЭС и устанавливает их конструкцию и размеры. |
| Оглавление: | 1 Область применения 2 Нормативные ссылки 3 Конструкция и размеры |
| Разработан: | ОАО НПО ЦКТИ ОАО Белэнергомаш |
| Утверждён: | 31.10.2001 Министерство промышленности, науки и технологий Российской Федерации (Russian Federation Ministry of Industry, Science, and Technology 10-1984) |
| Издан: | ОАО НПО ЦКТИ (2002 г. ) |
| Нормативные ссылки: |
|









