Скачать ОСТ 108.275.67-80 Блоки хомутовые с опорной балкой для подвесок трубопроводов АЭС. Конструкция и размеры

Дата актуализации: 01.01.2021

ОСТ 108.275.67-80

Блоки хомутовые с опорной балкой для подвесок трубопроводов АЭС. Конструкция и размеры

Обозначение: ОСТ 108.275.67-80
Обозначение англ: OST 108.275.67-80
Статус:не определен законодательством
Название рус.:Блоки хомутовые с опорной балкой для подвесок трубопроводов АЭС. Конструкция и размеры
Дата добавления в базу:01.09.2013
Дата актуализации:01.01.2021
Дата введения:01.01.1982
Дата окончания срока действия:30.06.2003
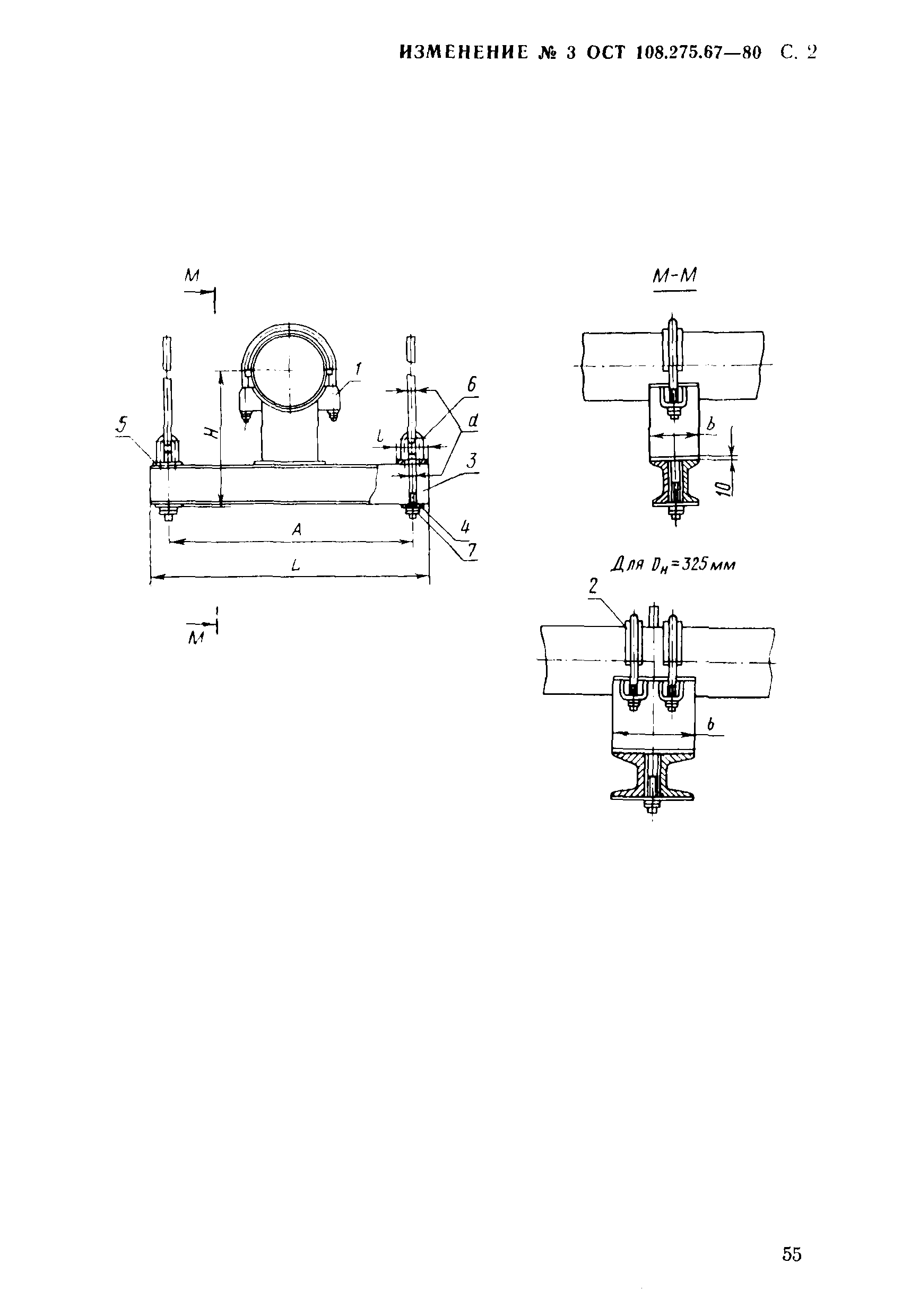
Область применения:Стандарт распространяется на блоки подвесок с хомутовой опорой и опорной балкой для горизонтальных трубопроводов наружным диаметром 219 - 325 мм из коррозионно-стойкой стали аустенитного класса для АЭС.
Оглавление:Перечень отраслевых нормативных документов, ограничение срока действия которых снимается
Утверждён:30.06.1980 Министерство энергетического машиностроения (Ministry of Energy Machinery Manufacturing ЮК-002/5260)
Список изменений:
Нормативные ссылки:
ОСТ 108.275.67-80ОСТ 108.275.67-80ОСТ 108.275.67-80ОСТ 108.275.67-80ОСТ 108.275.67-80ОСТ 108.275.67-80ОСТ 108.275.67-80ОСТ 108.275.67-80ОСТ 108.275.67-80

Текстовое изменение № 2 от 01.01.1984

№ 2

Текстовое изменение № 3 от 01.01.1988

№ 3№ 3№ 3№ 3

Текстовое изменение № от 15.02.1994

№ № № №