Скачать ОСТ 26.260.476-2001 Устройства для установки приборов измерения давления на Ру 4,0 и 16,0 МПа (с одним клапаном типа ВНИЛ). Конструкция и размерыДата актуализации: 01.01.2021
|
| Обозначение: | ОСТ 26.260.476-2001 |
| Обозначение англ: | OST 26.260.476-2001 |
| Статус: | не определен законодательством |
| Название рус.: | Устройства для установки приборов измерения давления на Ру 4,0 и 16,0 МПа (с одним клапаном типа ВНИЛ). Конструкция и размеры |
| Дата добавления в базу: | 01.09.2013 |
| Дата актуализации: | 01.01.2021 |
| Дата введения: | 01.02.2001 |
| Дата окончания срока действия: | 30.06.2003 |
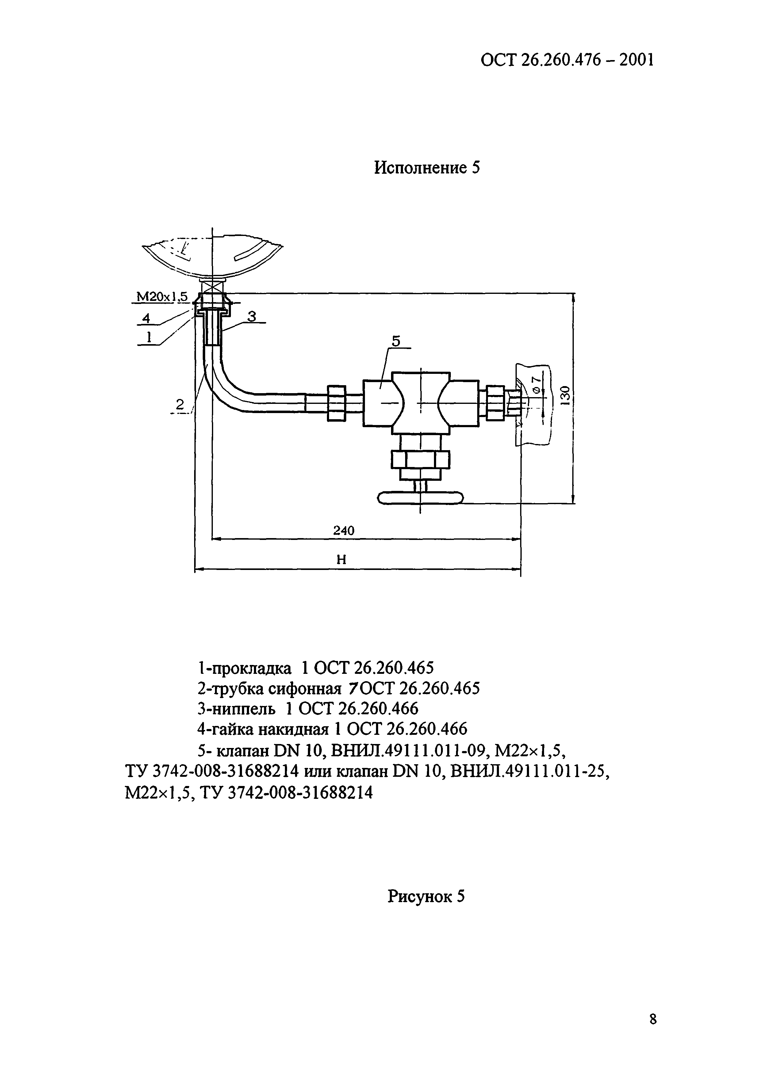
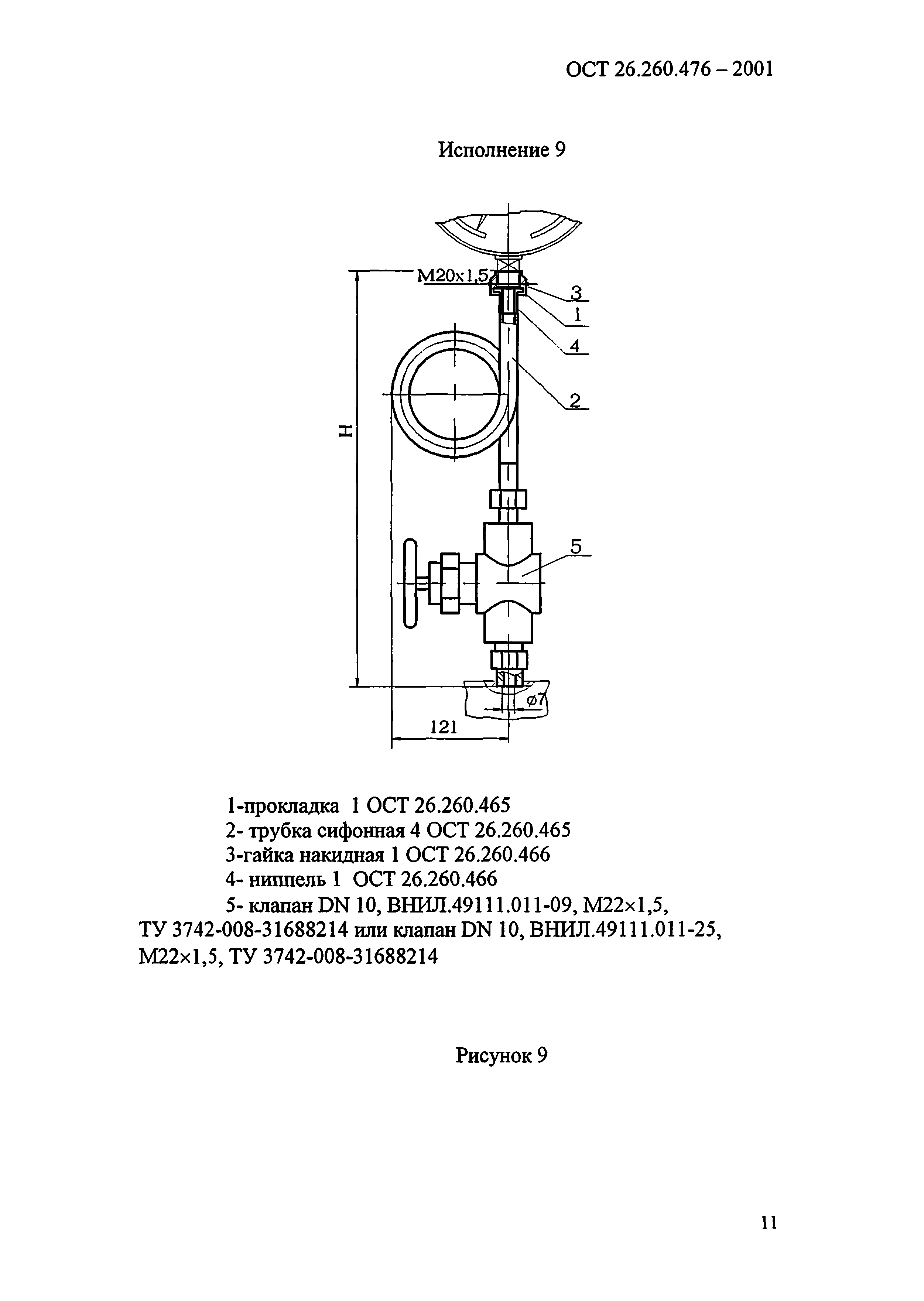
| Область применения: | Стандарт устанавливает конструкцию, пределы применения и основные размеры устройств для установки приборов измерения давления на трубопроводах и аппаратах, применяемых в химической, нефтехимической, газовой и других смежных отраслях промышленности на условное давление 4,0 и 16,0 МПа и температуру от минус 40 до 200 град. С для материального исполнения 5 и от минус 70 до 300 град. С для материального исполнения 6 |
| Оглавление: | 1. Область применения 2. Нормативные ссылки 3. Конструкция и размеры |
| Разработан: | ДАО ЦКБН |
| Утверждён: | ТК 260 Оборудование химическое и нефтегазоперерабатывающее (Technical Committee 260, Chemical and Petroleum and Gas Refining Equipment ) |
| Нормативные ссылки: |
|
















