Скачать МИ 2016-03 Прочность бетона в конструкциях и изделиях. Методика выполнения измерений при натурных испытаниях методом вырыва анкераДата актуализации: 01.01.2021
|
| Обозначение: | МИ 2016-03 |
| Обозначение англ: | MI 2016-03 |
| Статус: | действует |
| Название рус.: | Прочность бетона в конструкциях и изделиях. Методика выполнения измерений при натурных испытаниях методом вырыва анкера |
| Дата добавления в базу: | 01.09.2013 |
| Дата актуализации: | 01.01.2021 |
| Дата введения: | 01.12.2003 |
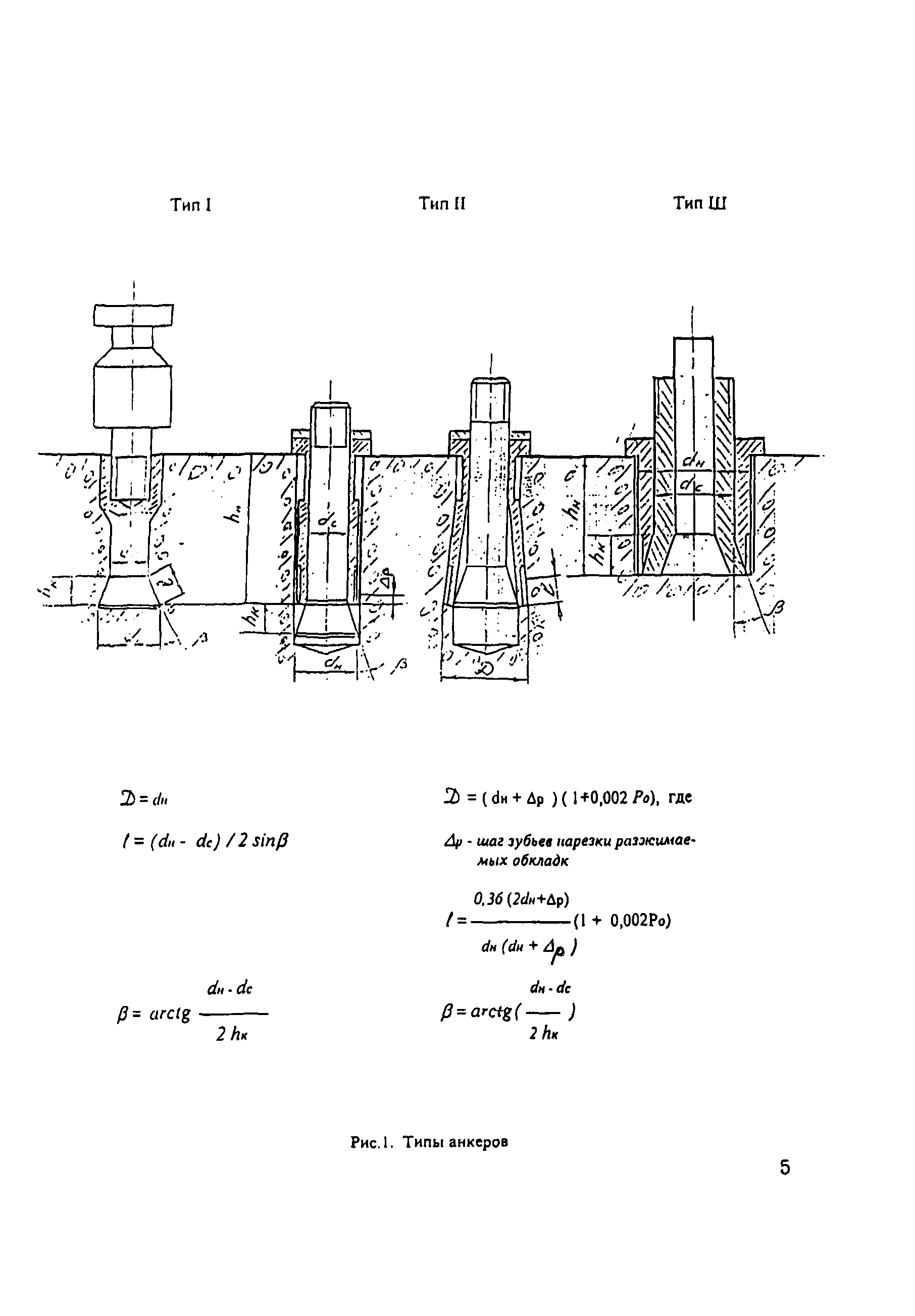
| Область применения: | Рекомендации устанавливают методику выполнения измерений при определении прочности бетона методом вырыва анкера в изделиях и конструкциях при их натурных испытаниях. Рекомендации распространяются на конструктивные цементные бетоны в бетонных и железобетонных конструкциях и изделиях |
| Оглавление: | 1. Область применения 2. Норма погрешности 3. Основы метода испытаний 4. Требования к средствам испытаний 5. Указания по технике безопасности 6. Планирование испытаний 7. Подготовка к испытаниям 8. Проведение испытаний 9. Обработка результатов испытаний Приложения |
| Разработан: | НИИЖБ ГП ВНИИФТРИ |
| Заменяет собой: |
|
| Нормативные ссылки: |
































