Скачать Общемашиностроительные нормативы времени и режимов резания для нормирования работ, выполняемых на универсальных и многоцелевых станках с числовым программным управлением. Часть I. Нормативы времени

Дата актуализации: 01.01.2021

Общемашиностроительные нормативы времени и режимов резания для нормирования работ, выполняемых на универсальных и многоцелевых станках с числовым программным управлением. Часть I. Нормативы времени

Статус:действует
Название рус.:Общемашиностроительные нормативы времени и режимов резания для нормирования работ, выполняемых на универсальных и многоцелевых станках с числовым программным управлением. Часть I. Нормативы времени
Дата добавления в базу:01.09.2013
Дата актуализации:01.01.2021
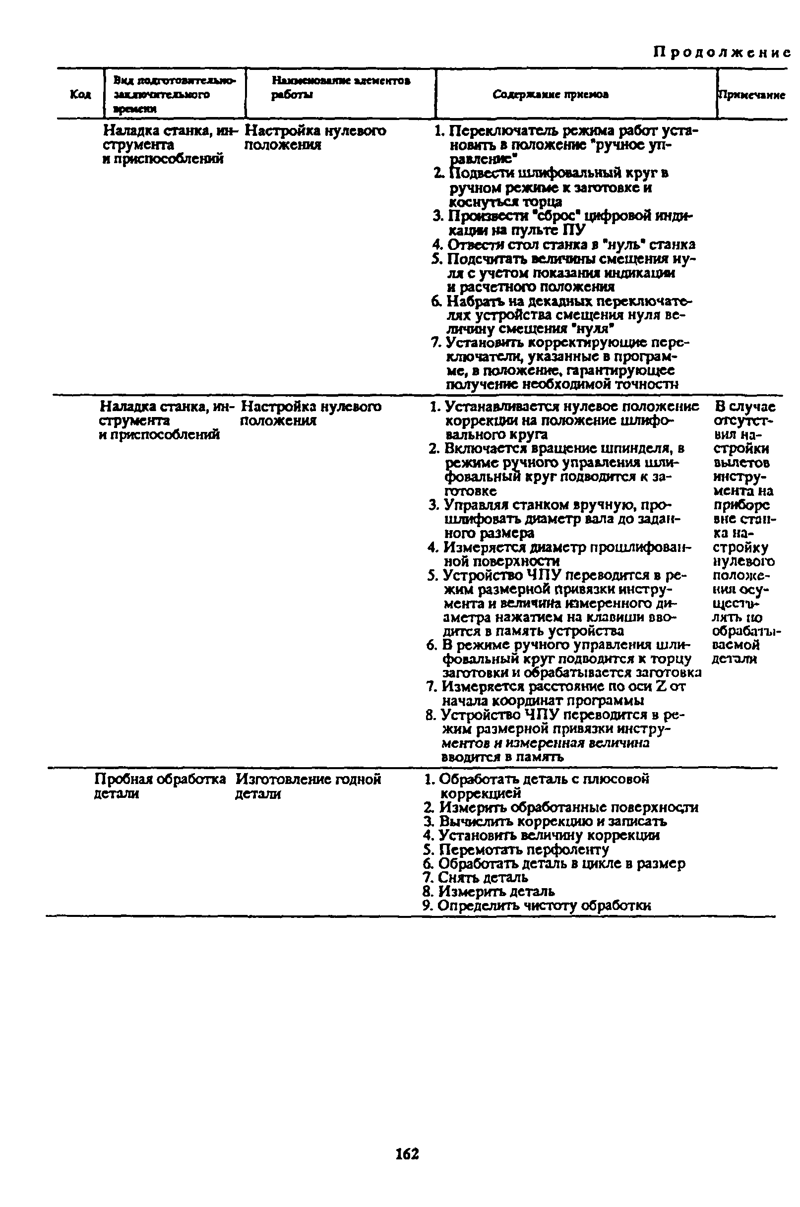
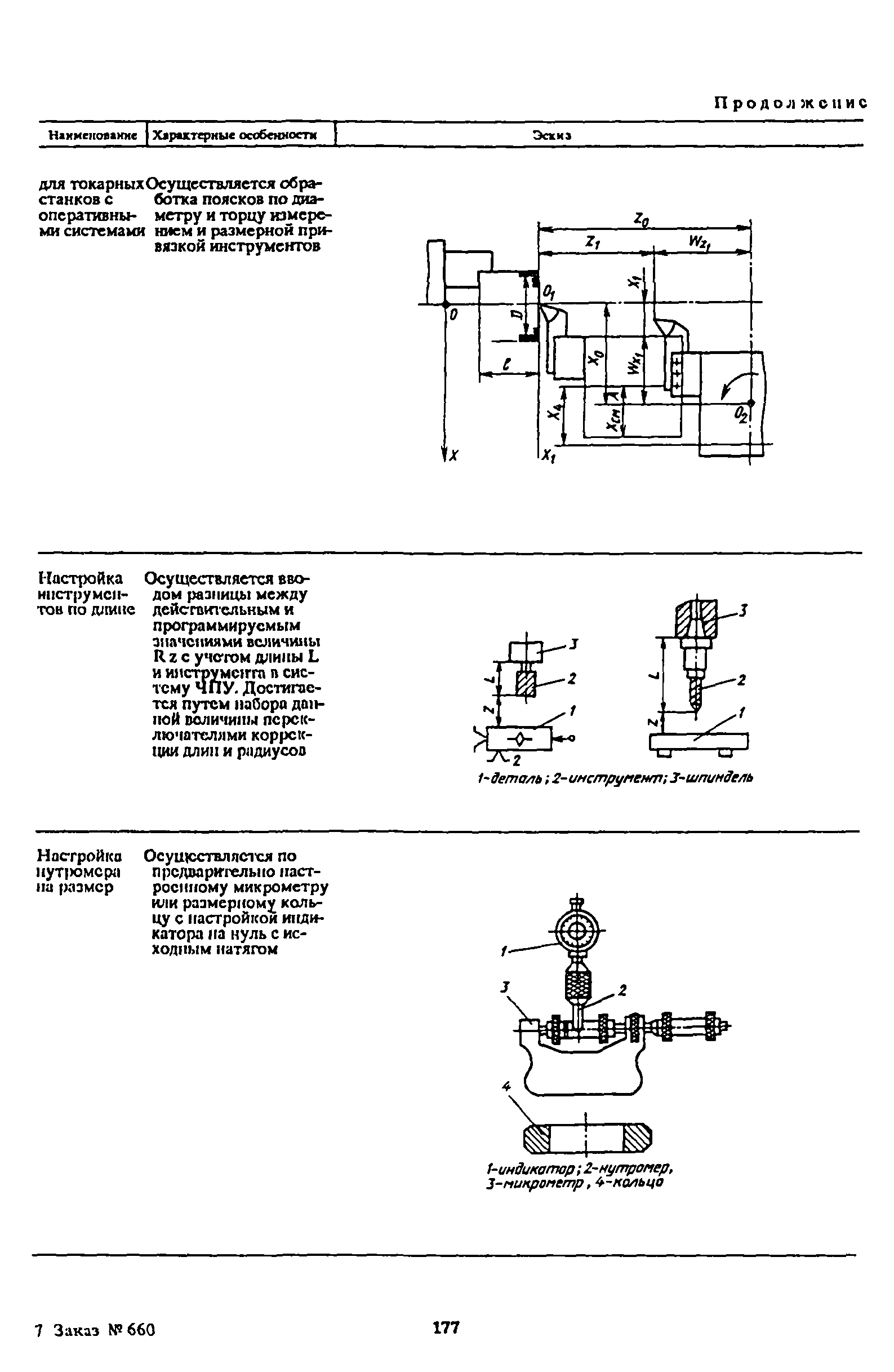
Область применения:Нормативы времени и режимов резания предназначены для технического нормирования работ, выполняемых на универсальных и многоцелевых станках с числовым программным управлением в условиях мелкосерийного и среднесерийного типов производства.
Оглавление:1. Общая часть
2. Многостаночное обслуживание
3. Организационно-технические условия и организация труда
4. Нормативная часть
Приложения
Разработан: Челябинский политехнический институт
ЦБНТ
Утверждён:03.02.1988 Государственный комитет СССР по труду и социальным вопросам (54/3-72)
Издан: Издательство Экономика (1990 г. )
Заменяет собой:
  • «Общемашиностроительные нормативы времени и режимов резания на работы, выполняемые на металлорежущих станках с программным управлением» (НИИ труда, 1980)