Скачать Общемашиностроительные нормативы времени и режимов резания для нормирования работ, выполняемых на универсальных и многоцелевых станках с числовым программным управлением. Часть II. Нормативы режимов резания

Дата актуализации: 01.01.2021

Общемашиностроительные нормативы времени и режимов резания для нормирования работ, выполняемых на универсальных и многоцелевых станках с числовым программным управлением. Часть II. Нормативы режимов резания

Статус:действует
Название рус.:Общемашиностроительные нормативы времени и режимов резания для нормирования работ, выполняемых на универсальных и многоцелевых станках с числовым программным управлением. Часть II. Нормативы режимов резания
Дата добавления в базу:01.09.2013
Дата актуализации:01.01.2021
Область применения:Общемашиностроительные нормативы режимов резания являются частью комплекса нормативных материалов, предназначенных для расчета технически обоснованных норм времени на работы, выполняемые на металлорежущих станках с числовым программным управлением (ЧПУ)
Оглавление:Основные условные обозначения и размерности
   1. Общая часть
   2. Нормативы режимов резания
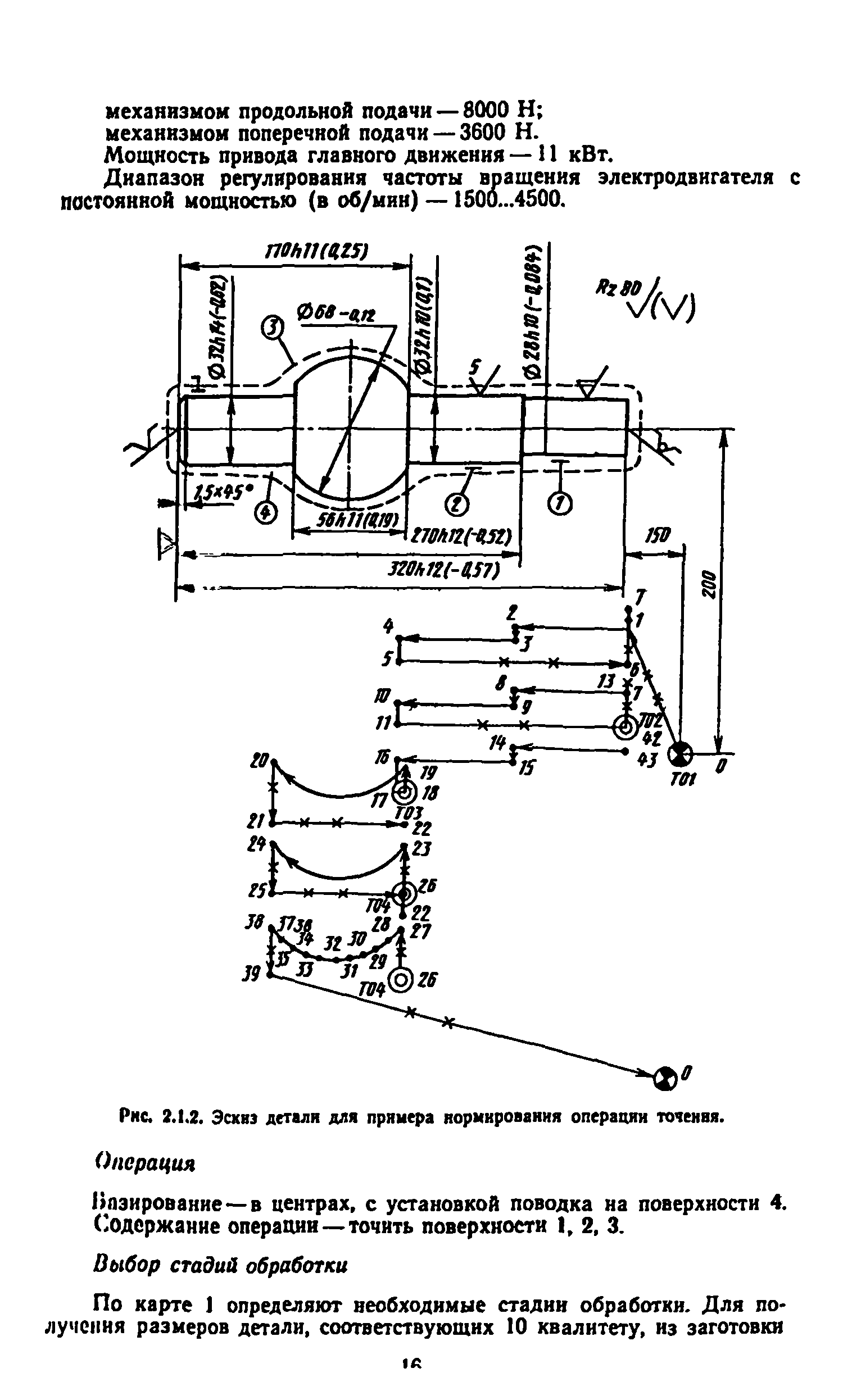
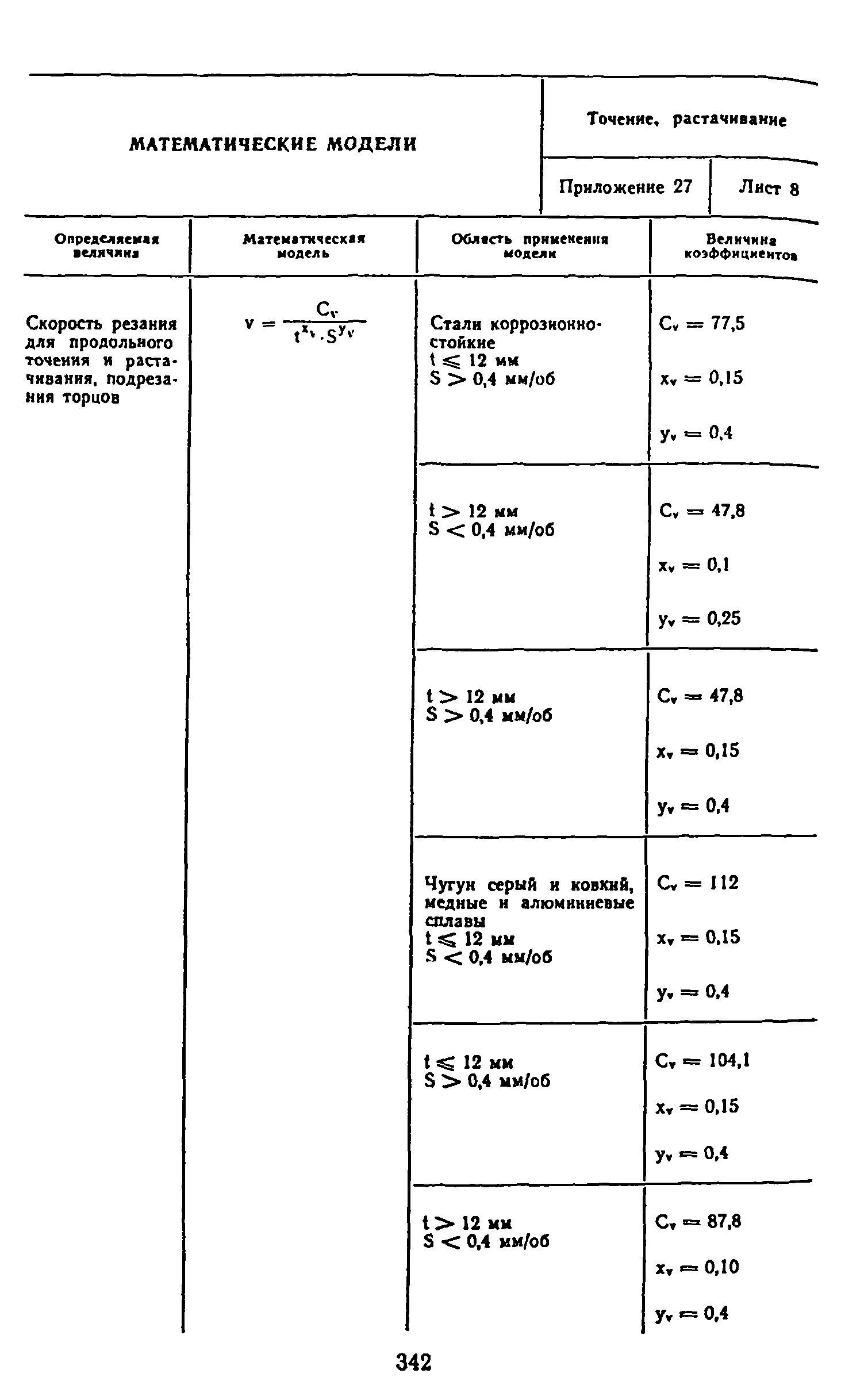
      2.1. Точение и растачивание
         2.1.2. Примеры расчета режимов резания и норм штучного времени
      2.2. Обработка отверстий
         2.2.1. Методические указания
         2.2.2. Пример расчета режимов резания и нормы штучного времени для операций обработки отверстий
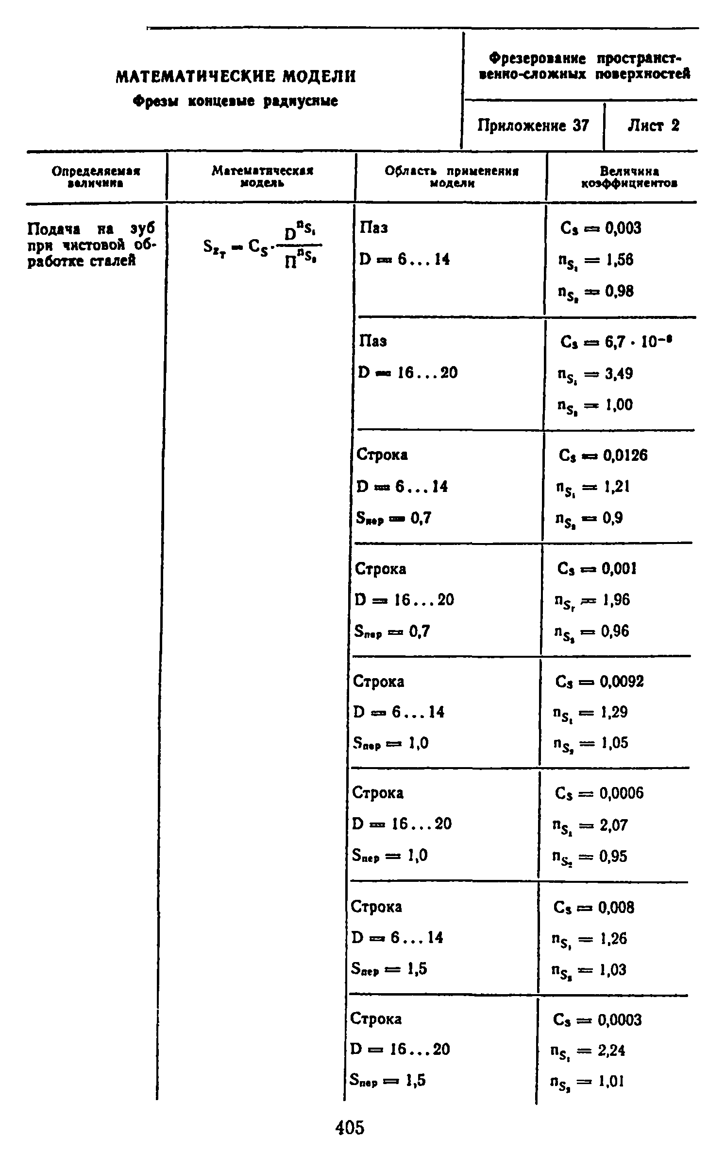
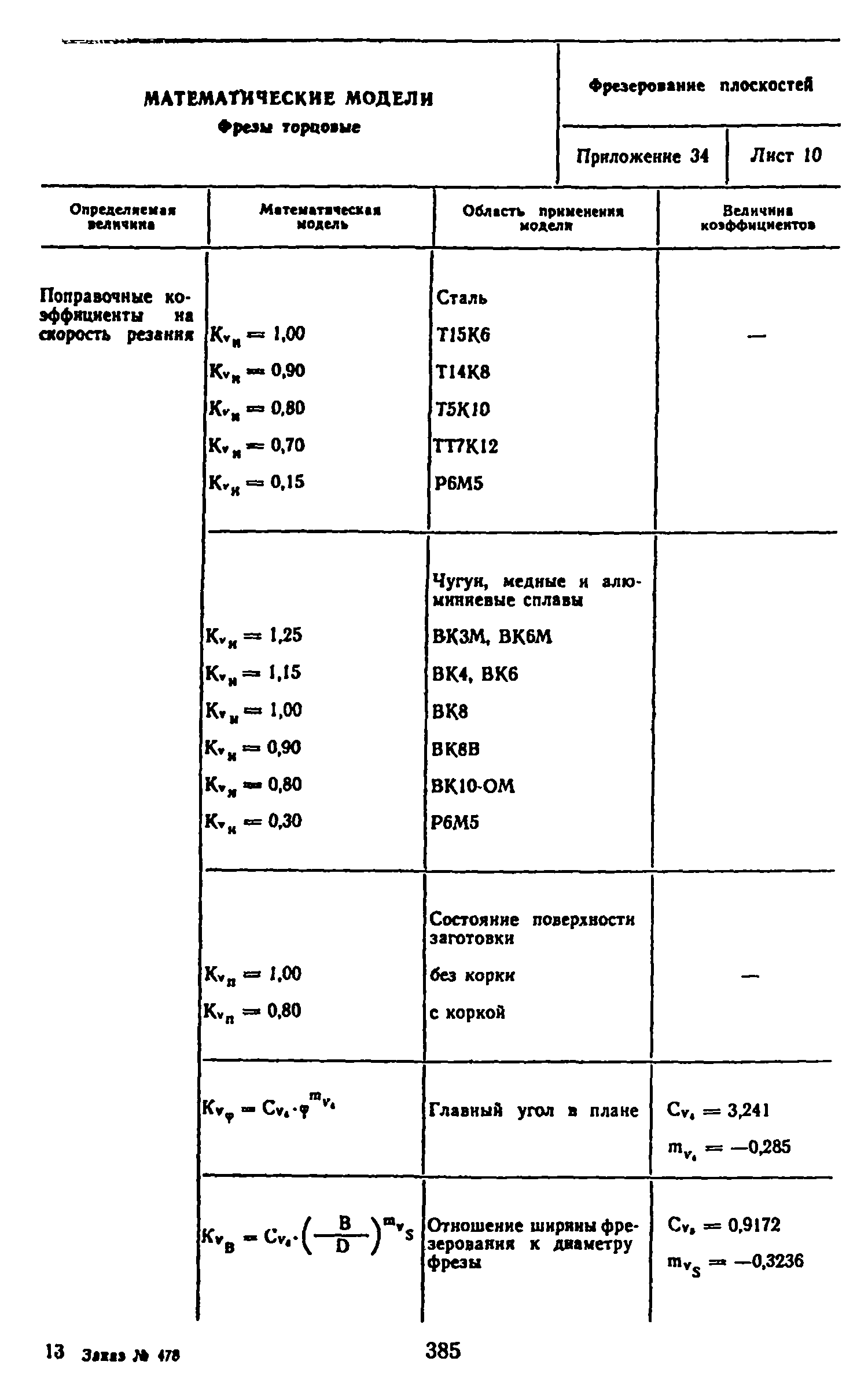
      2.3. Фрезерование
         2.3.1. Методические указания
         2.3.1.1. Фрезерование плоскостей торцовыми фрезами
        2.3.1.2. Фрезерование концевыми фрезами
        2.3.1.3. Объемное фрезерование концевыми радиусными фрезами
        2.3.1.4. Фрезерование дисковыми фрезами
        2.3.2. Примеры расчета режимов резания и норм штучного времени
      2.4. Круглое наружное шлифование
         2.4.1. Методические указания
        2.4.2. Пример расчета режимов резания и норм штучного времени
Приложения
Разработан: Челябинский политехнический институт
ЦБНТ
Утверждён:03.02.1988 Государственный комитет СССР по труду и социальным вопросам (54/3-72)
Издан: Издательство Экономика (1990 г. )