Скачать Технологическое руководство по испытанию и регулировке гидроагрегатов сельскохозяйственных машин на стенде КИ-28097-01М ГОСНИТИ

Дата актуализации: 01.01.2021

Технологическое руководство по испытанию и регулировке гидроагрегатов сельскохозяйственных машин на стенде КИ-28097-01М ГОСНИТИ

Статус:действует
Название рус.:Технологическое руководство по испытанию и регулировке гидроагрегатов сельскохозяйственных машин на стенде КИ-28097-01М ГОСНИТИ
Дата добавления в базу:01.09.2013
Дата актуализации:01.01.2021
Область применения:Технологическое руководство предназначено для испытания и регулировки гидрооборудования тракторов сельскохозяйственного, лесного и промышленного назначения, зерноуборочных комбайнов и кормоуборочных машин, а также самоходных дорожно-строительных машин на стенде КИ-28097-01М-ГОСНИТИ
Оглавление:1. Подготовка стенда к работе
2. Испытание шестеренных насосов (НШ)
3. Испытание гидрораспределителей
4. Испытание гидроцилиндров
5. Испытание гидрошлангов (рукавов) высокого давления
6. Испытание сборочных единиц гидростатической трансмиссии (ГСТ-90) сельскохозяйственных машин
7. Описание работы электрической схемы стенда КИ-28097-01М
Приложения
   Таблица 1. Номенклатура контролируемых параметров агрегатов гидропривода тракторов и самоходных сельскохозяйственных машин с применением стенда КИ-28097-01М
   Таблица 2. Комплект принадлежностей и присоединительных устройств к стенду КИ-28097-01М
   Рис.1. Стенд КИ-28097-01М ГОСНИТИ для испытания гидроагрегатов сельскохозяйственных машин
   Рис. 2а. Определение направления вращения ведущего вала стенда
   Рис. 2б. Установка гидронасоса НШ на стенде КИ-28097-01М
   Рис. 3. Проверка герметичности гидронасоса НШ на стенде КИ-28097-01М
   Рис. 4. Проверка срабатывания автомата возврата золотника и предохранительного клапана гидрораспределителя на стенде КИ-28097-01М
   Рис. 5. Проверка величины утечек через золотник и корпус гидрораспределителя
   Рис. 6. Испытание гидроцилиндра на стенде КИ-28097-01М
   Рис. 7. Подготовка гидрошланга к испытаниям на КИ-28097-01М
   Рис. 8. Испытание гидрошланга на стенде КИ-28097-01М
   Рис. 9. Установка гидронасоса ГСТ на установочную плиту КИ-28097-01М
   Рис. 10. Установка гидромотора на плиту приставки
   Рис. 11. Монтаж гидролинии ГСТ
   Рис. 12. Установка рычага торможения вала гидромотора
   Рис. 13. Установка терминала весового на ноль
   Рис. 14. Подача напряжения на тензорезисторные датчики силы
   Рис. 15. Номограмма определения крутящего момента на валу гидромотора
   Рис. 16. Корреляционная связь крутящего момента на валу ГСТ с производительностью ГСТ
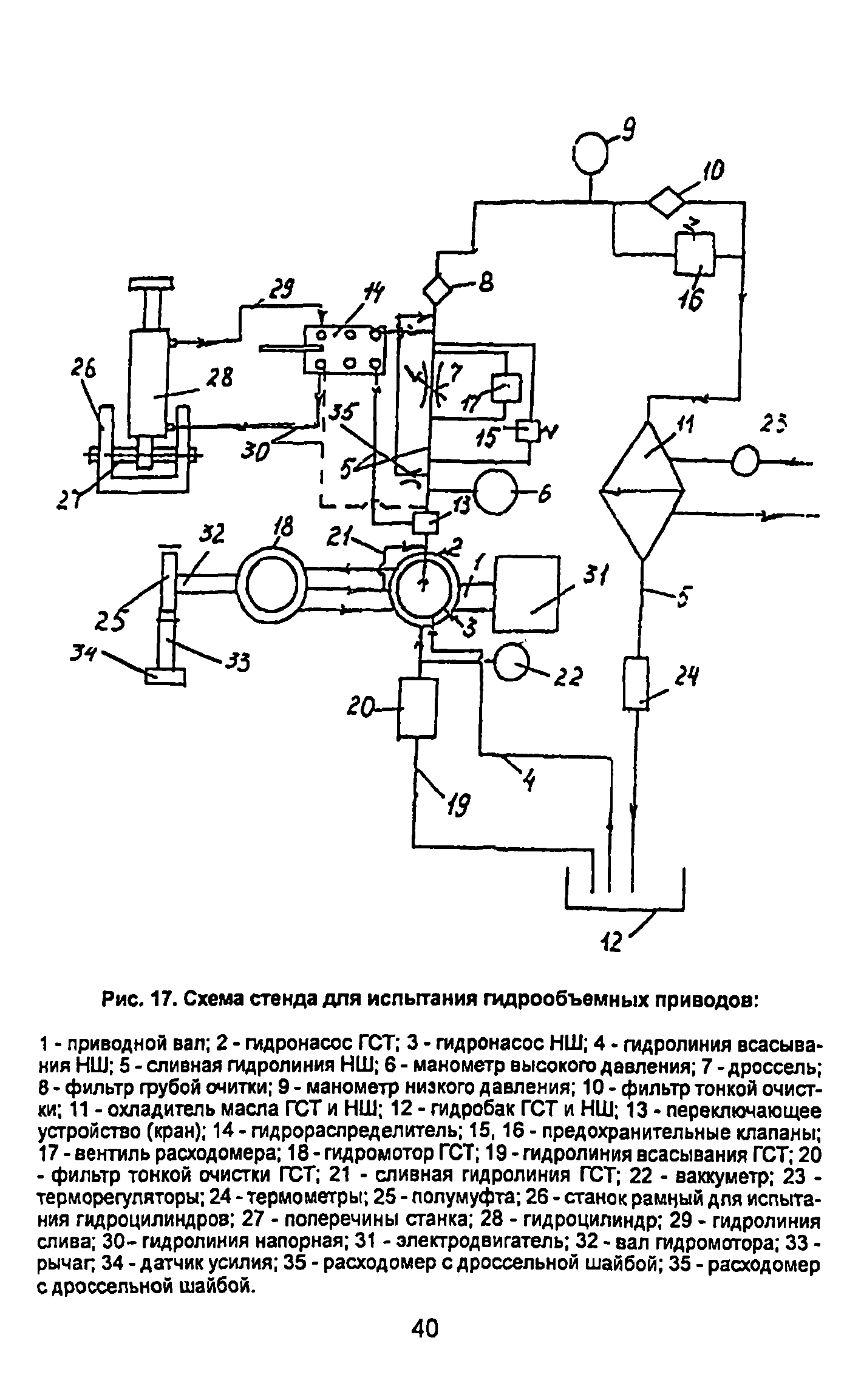
   Рис. 17. Схема стенда для испытания гидрообъемных приводов
   Рис. 18. Схема электрическая принципиальная
   Рис. 19. Комплект принадлежностей и присоединительных устройств к стенду КИ-28097-01М (согласно табл. 2)
   Рис. 20. Измеритель частоты вращения и углового ускорения приводного вала ГСТ
Разработан: ГНУ ГОСНИТИ