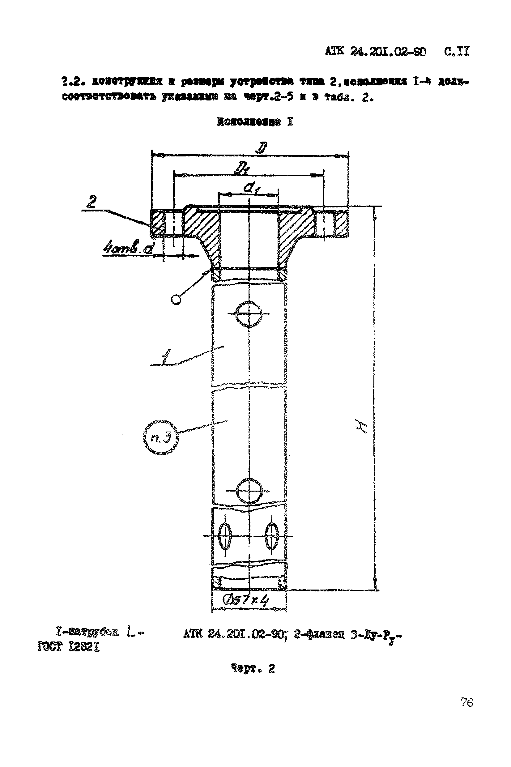
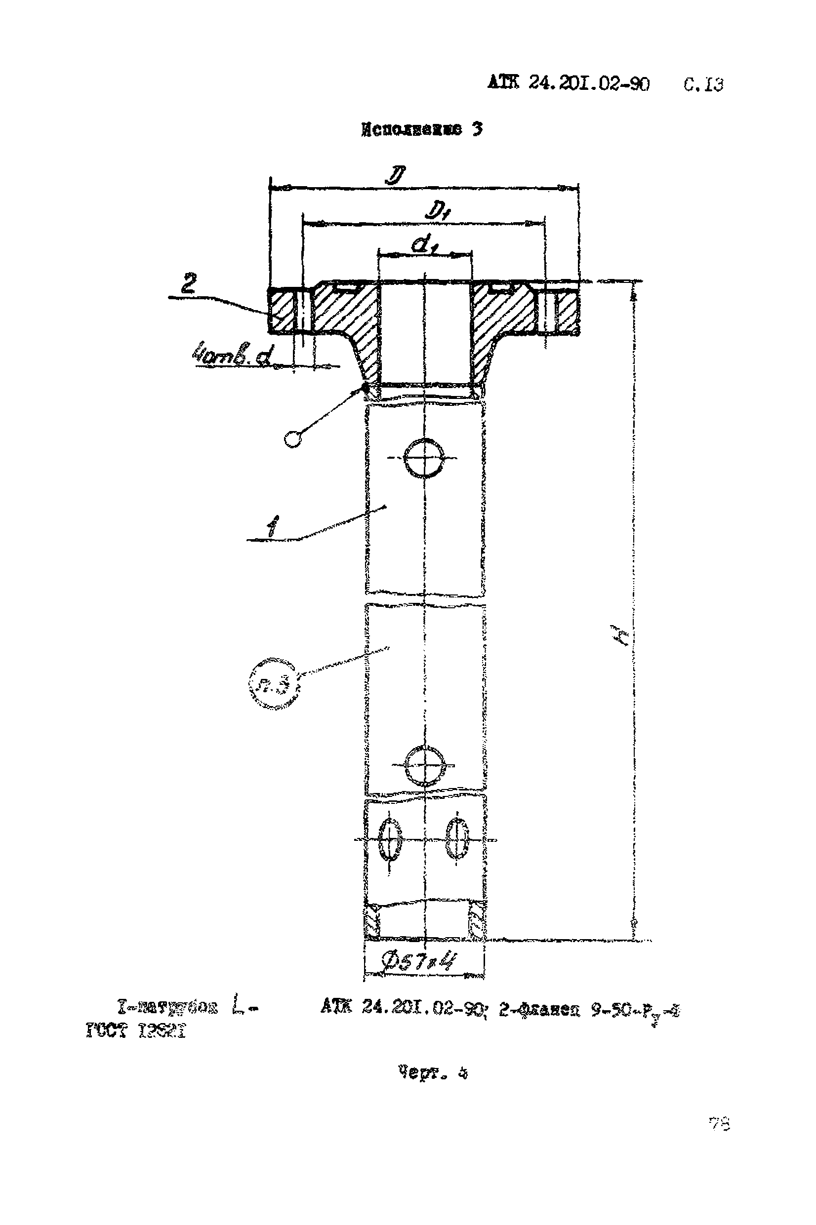
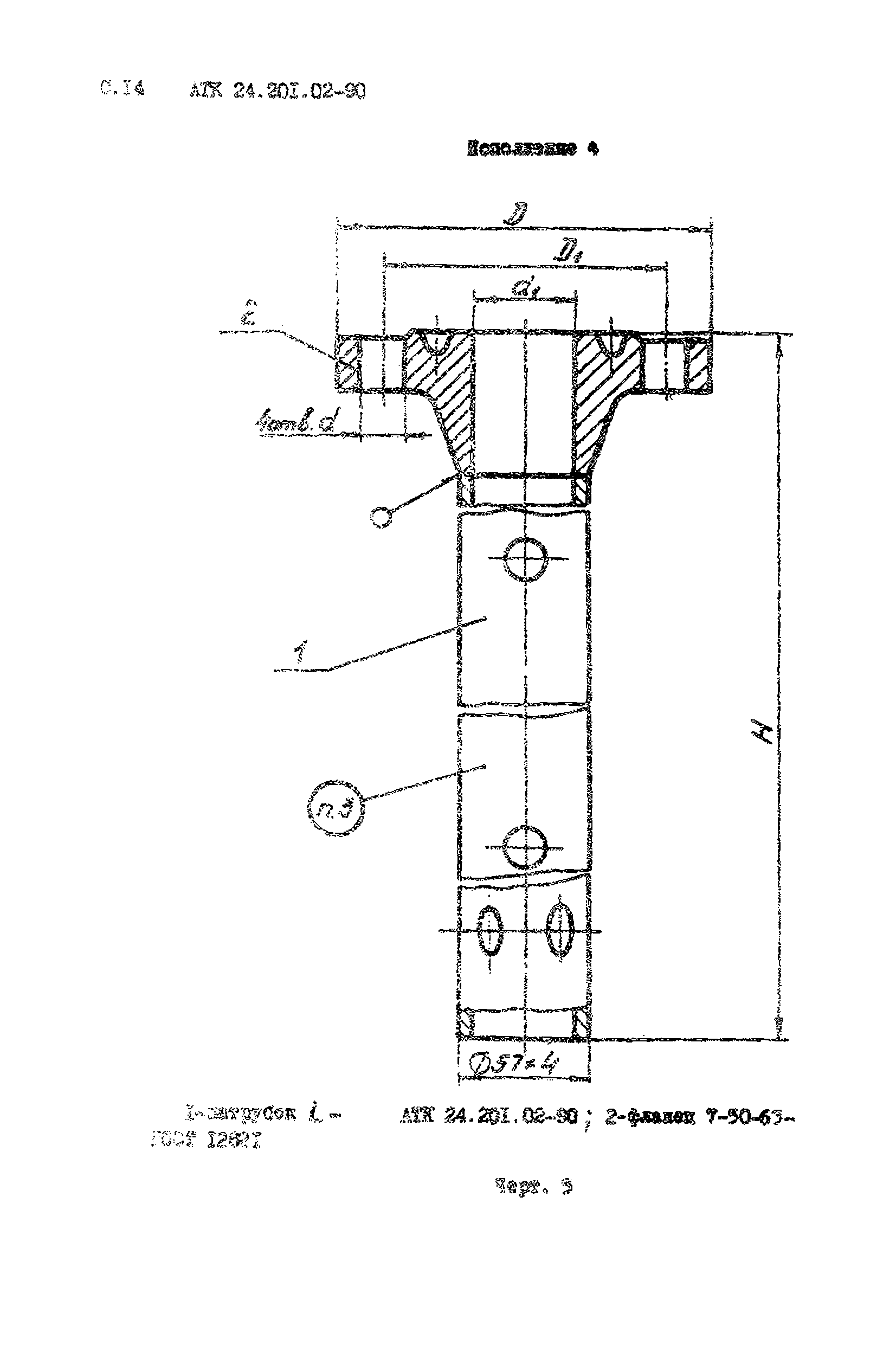
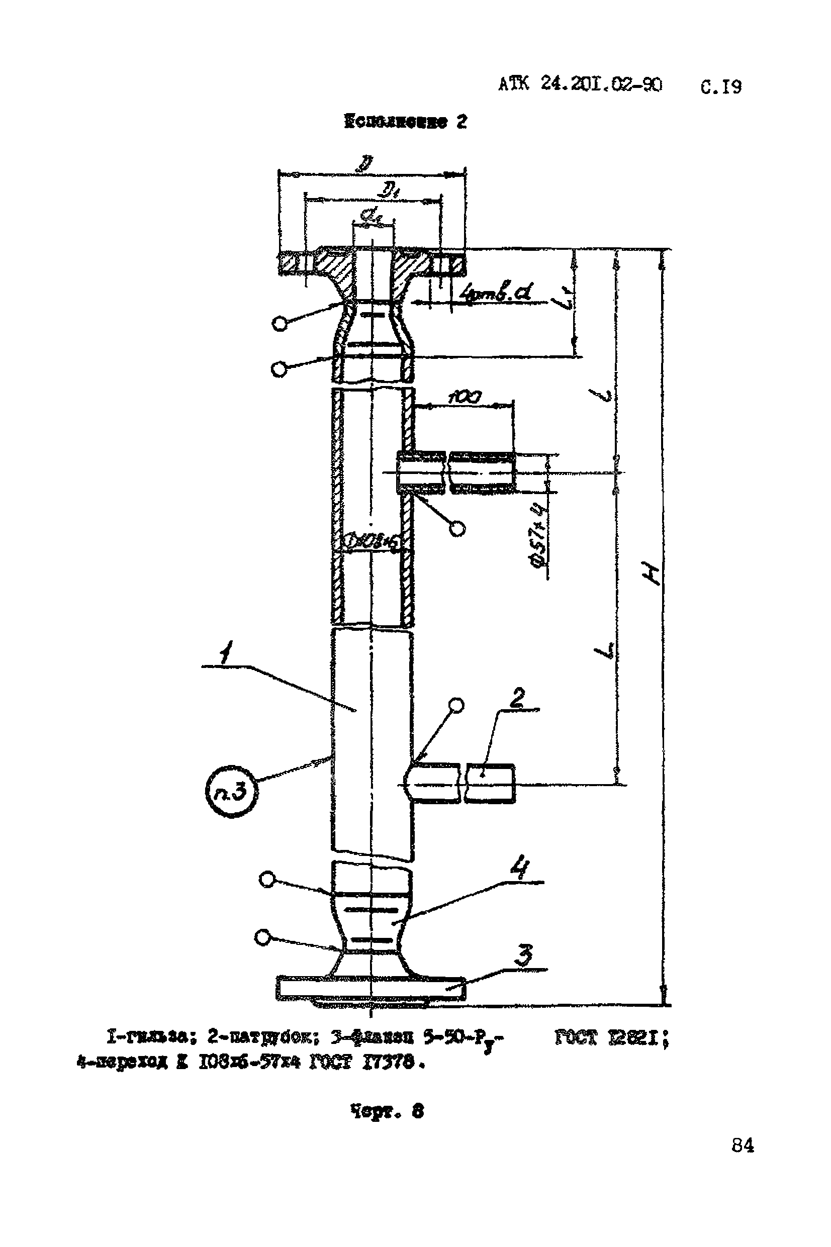
Скачать АТК 24.201.02-90 Устройства для установки приборов измерения уровня. Типы, конструкция и размерыДата актуализации: 01.01.2021 АТК 24.201.02-90
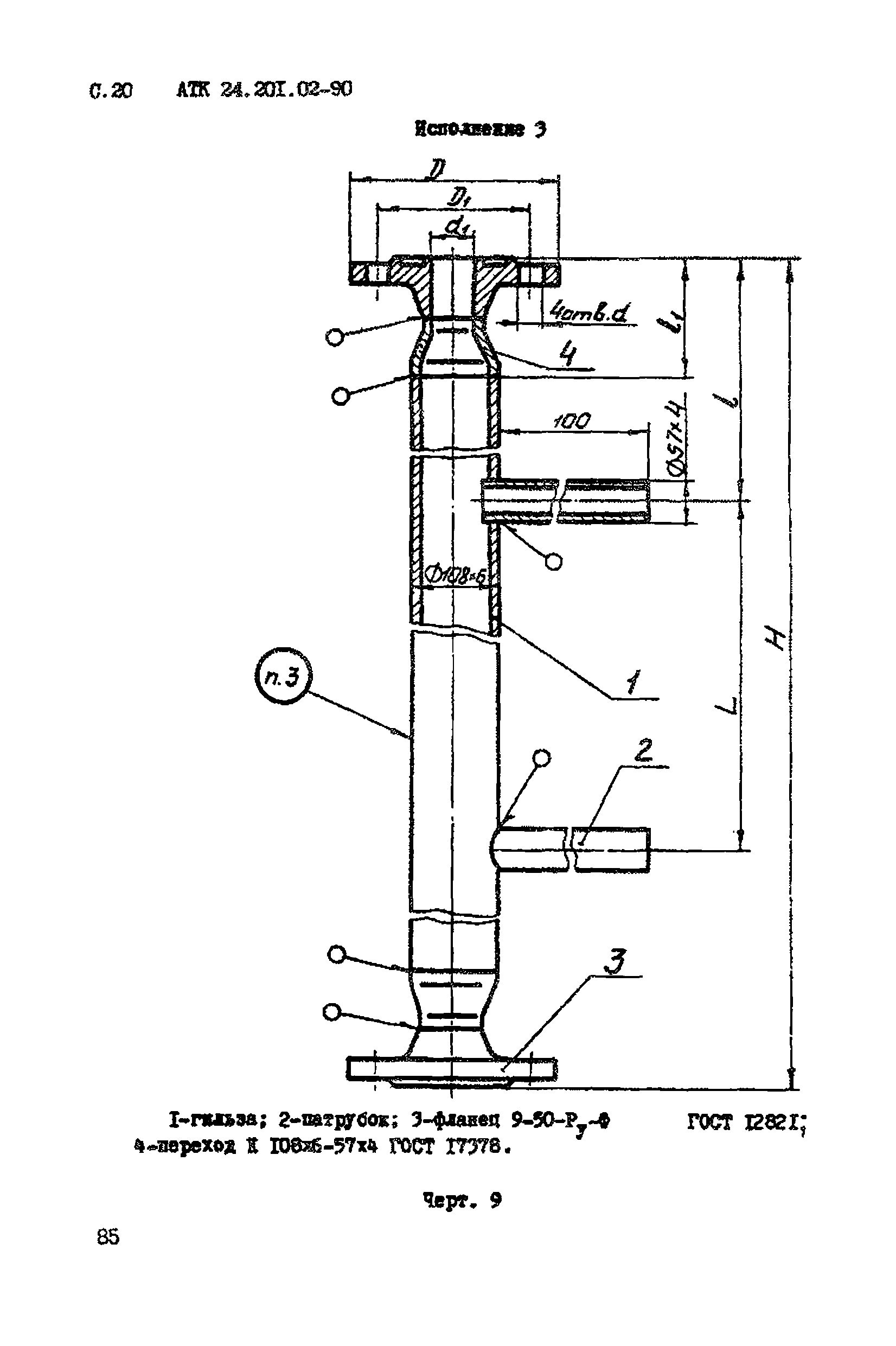
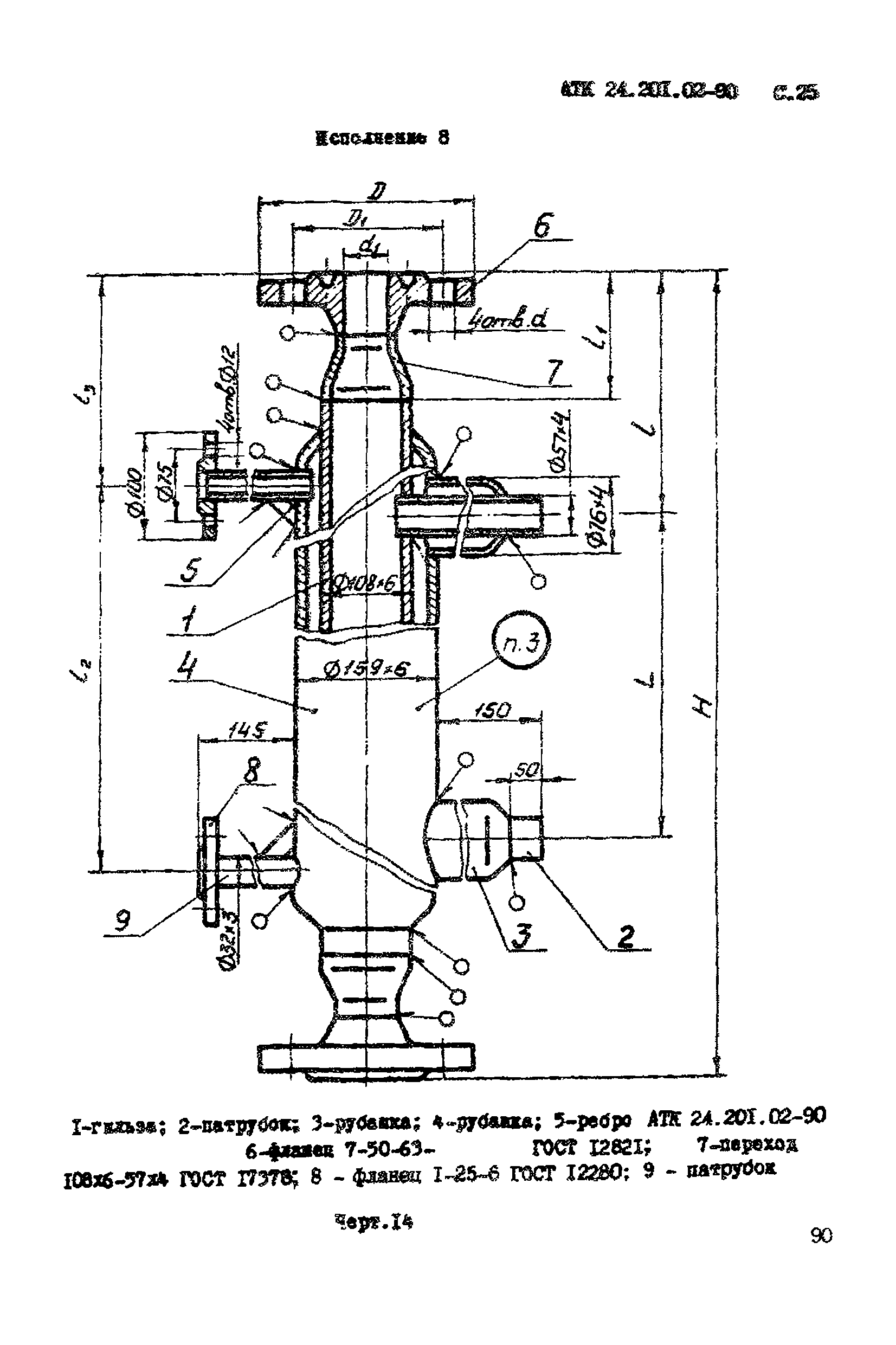
Устройства для установки приборов измерения уровня. Типы, конструкция и размеры| Обозначение: | АТК 24.201.02-90 | | Обозначение англ: | ATK 24.201.02-90 | | Статус: | не действует | | Название рус.: | Устройства для установки приборов измерения уровня. Типы, конструкция и размеры | | Дата добавления в базу: | 01.01.2019 | | Дата актуализации: | 01.01.2021 | | Дата введения: | 01.04.1990 | | Дата окончания срока действия: | 01.01.2000 | | Область применения: | Документ устанавливает типы, конструкцию и размеры устройств для установки уровнемеров буйковых УБ-II, "Сапфир" для оперативного контроля уровня жидкости, находящейся под атмосферным или избыточным давлением до 10 МПа (100 кгс/см2) на стальных сосудах и аппаратах при температуре от минус 50 до плюс 400 градусов Цельсия. Устройства не предназначены для установки на сосудах и аппаратах с защитными покрытиями из полимерных материалов и эмали | | Оглавление: | I Типы 2 Конструкция и размеры | | Разработан: | ДАО ЦКБН
| | Заменяет собой: | | | Нормативные ссылки: | |
                          
|