Скачать Рекомендации по проектированию фундаментов под технологическое оборудование, возводимых в условиях реконструкцииДата актуализации: 01.01.2021 |
| Статус: | действует |
| Название рус.: | Рекомендации по проектированию фундаментов под технологическое оборудование, возводимых в условиях реконструкции |
| Дата добавления в базу: | 01.09.2013 |
| Дата актуализации: | 01.01.2021 |
| Область применения: | Рекомендации распространяются на проектирование фундаментов под технологическое оборудование и заглубленных помещений в условиях реконструкции при нормальном температурном режиме, а также при воздействии повышенных и высоких температур |
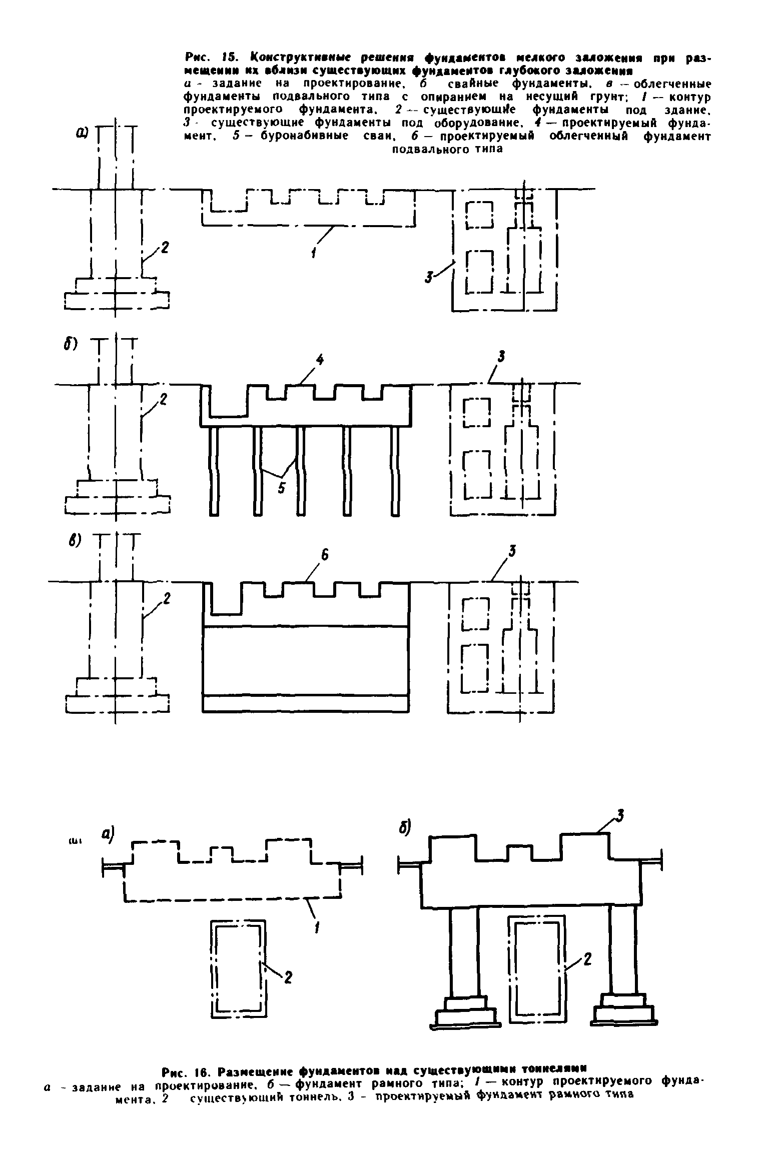
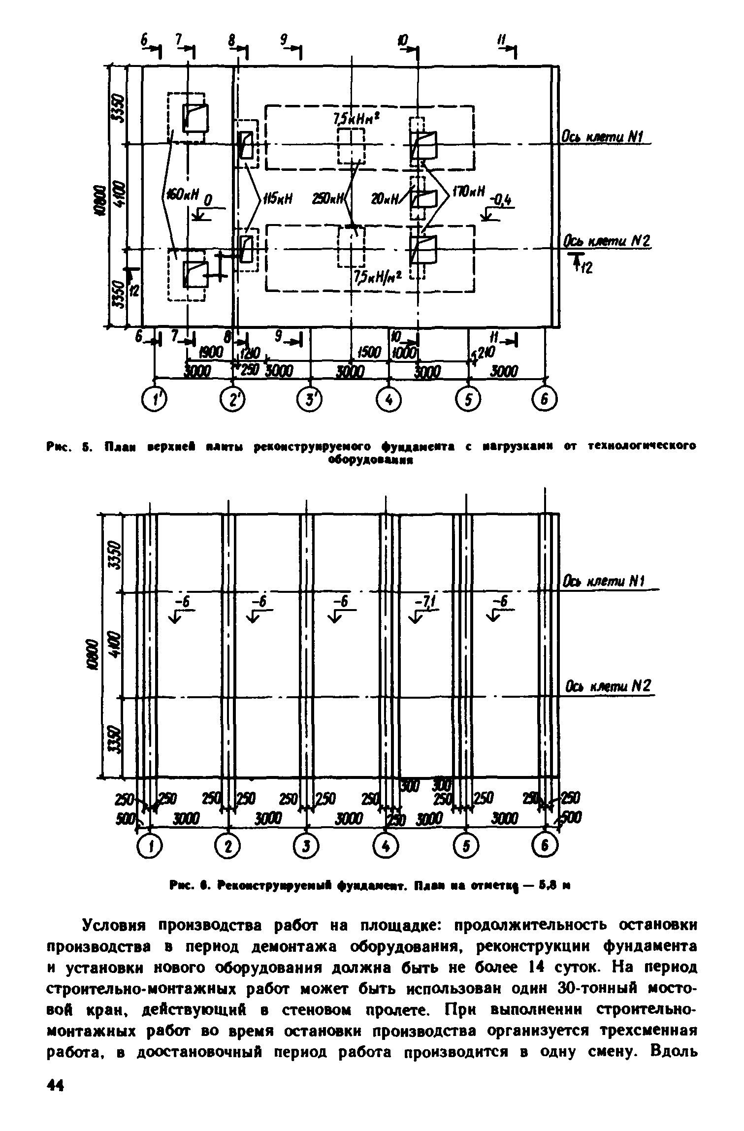
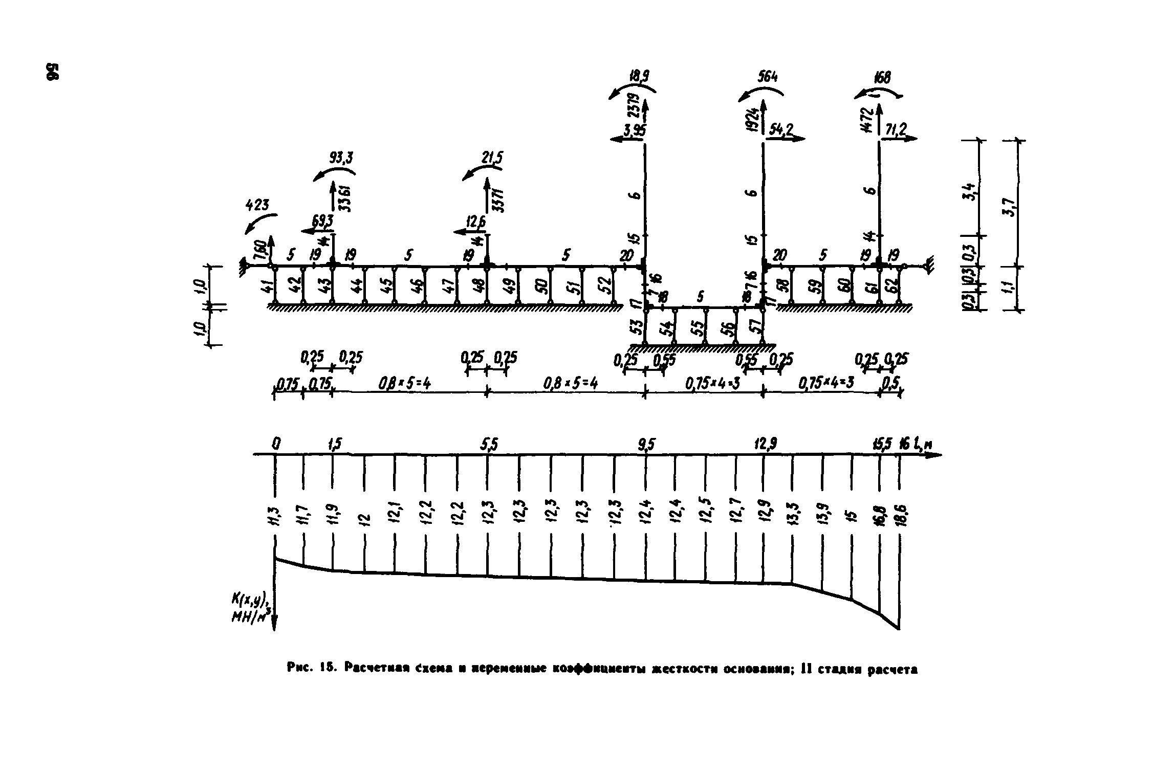
| Оглавление: | 1. Общие положения 2. Требования к проектированию фундаментов 3. Указания по расчету оснований и фундаментов 4. Конструктивные решения 5. Технико-экономическая оценка вариантов реконструкций фундаментов Приложение 1. Расчет осадок. Кренов и переменных коэффициентов жесткости оснований реконструируемых фундаментов Приложение 2. Узлы сопряжения элементов сборно-монолитных облегченных фундаментов Приложение 3. Пример расчета реконструкции фундамента под оборудование |
| Разработан: | Харьковский Промстройниипроект |
| Утверждён: | Харьковский Промстройниипроект Госстроя СССР (Kharkov Promstroyniiproject, USSR Gosstroy ) |
| Нормативные ссылки: |
|






























































