Скачать РД 39-3-593-81 Инструкция по гидродинамическим методам исследований пластов и скважинДата актуализации: 01.01.2021
|
| Обозначение: | РД 39-3-593-81 |
| Обозначение англ: | RD 39-3-593-81 |
| Статус: | не действует |
| Название рус.: | Инструкция по гидродинамическим методам исследований пластов и скважин |
| Дата добавления в базу: | 01.09.2013 |
| Дата актуализации: | 01.01.2021 |
| Дата введения: | 01.01.1982 |
| Дата окончания срока действия: | 01.01.1987 |
| Область применения: | В Инструкции сформулированы задачи гидродинамических исследований и приведен комплекс исследований по категориям скважин на стадиях разведки и разработки месторождений. Изложены основные технологические требования к производству измерений и исследований в промышленных условиях. |
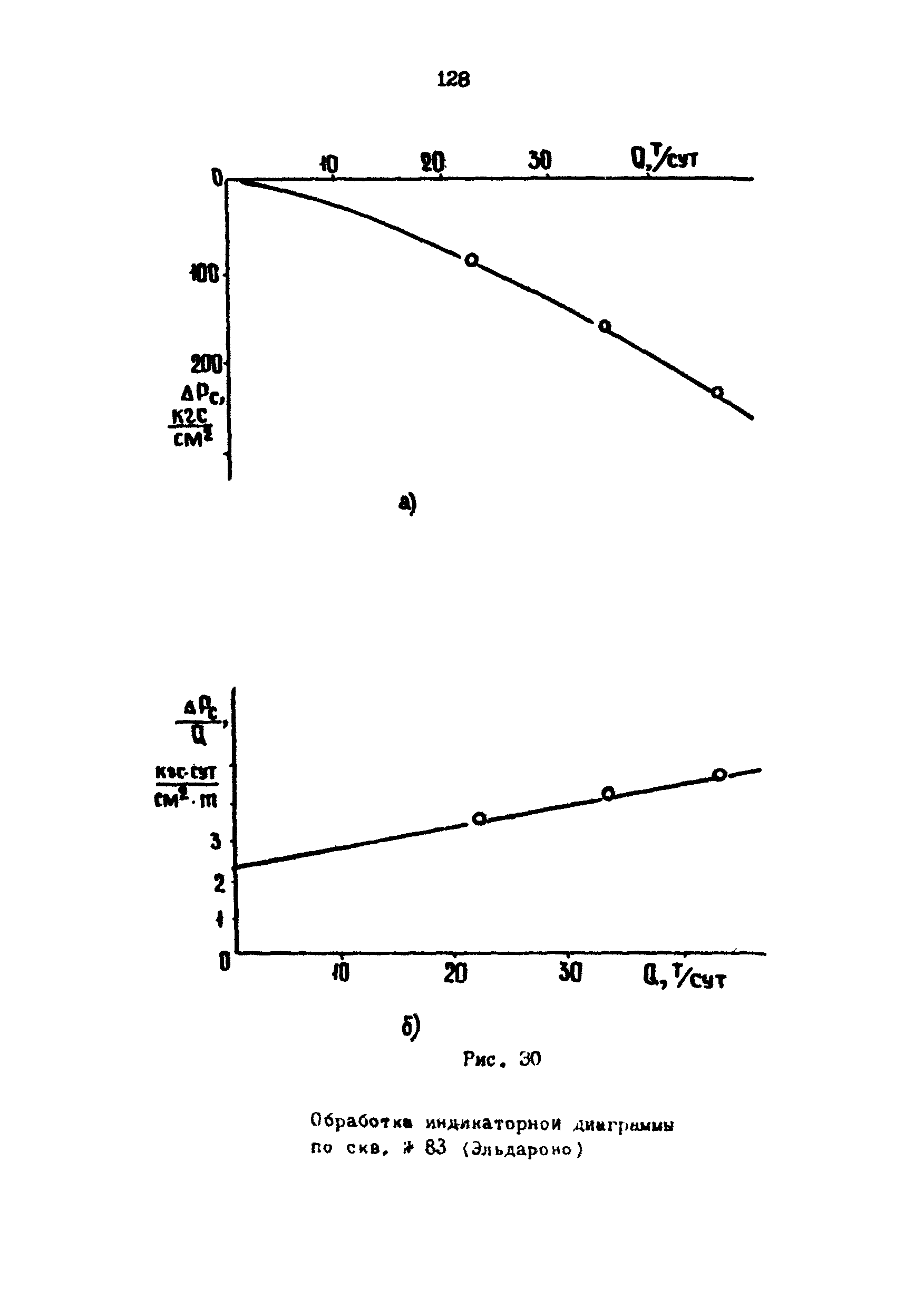
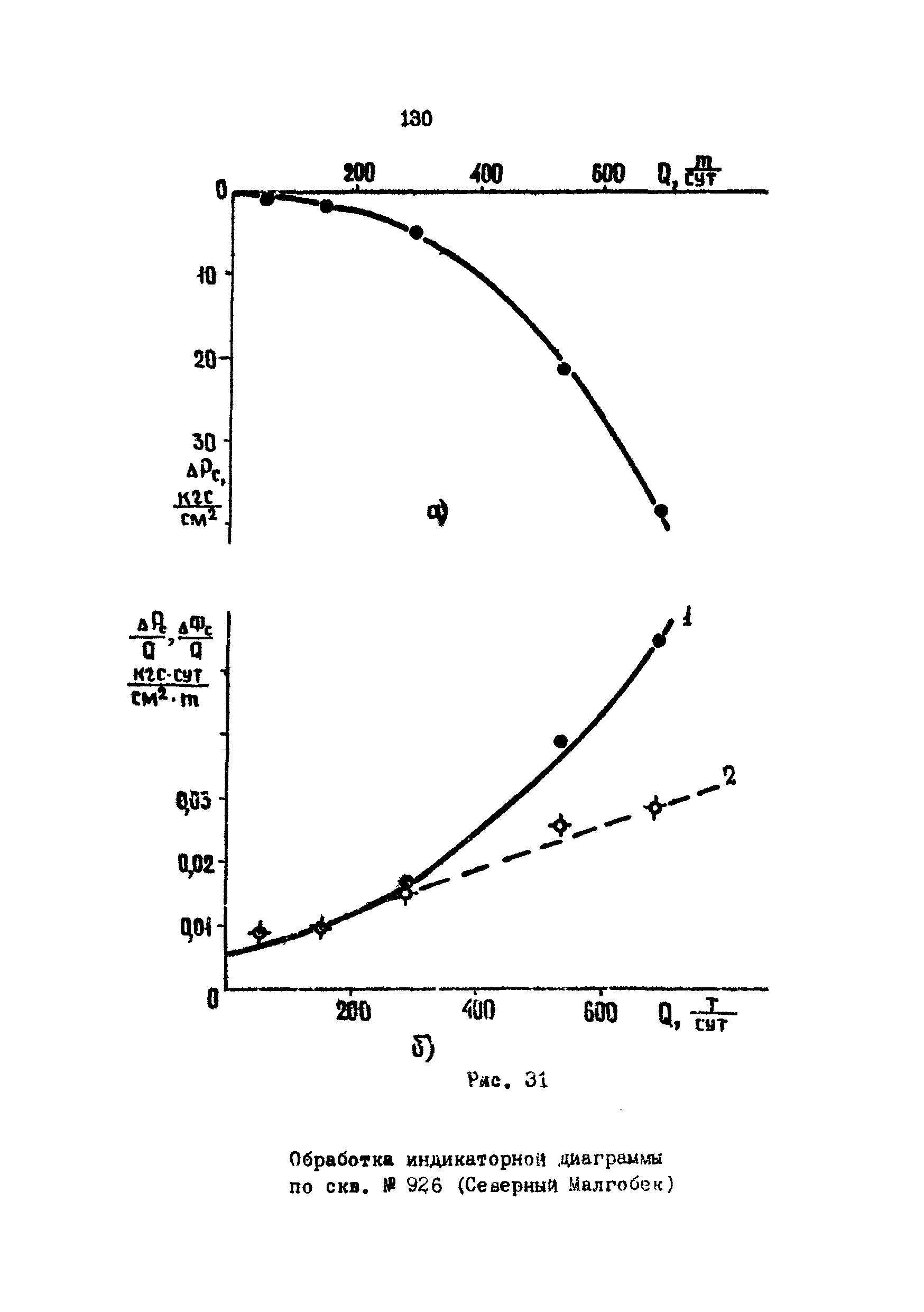
| Оглавление: | 1 Предисловие 2 Общие положения 3 Комплекс гидродинамических исследований при разведке и разработке нефтяных месторождений 4 Вопросы технологии исследований и измерений 5 Обработка результатов гидродинамических исследований 6 Основные обозначения и размерности 7 Список литературы Приложение |
| Разработан: | БашНИПИнефть Всесоюзный нефтегазовый научно-исследовательский институт (ВНИИ) СибНИИ НП СевКавНИПИнефти АэНИПИнефть |
| Утверждён: | 21.07.1981 Миннефтепром СССР |
| Издан: | Гостоптехиздат (1982 г. ) |
| Заменяет собой: |
|




















































































































































































