Скачать РД 39-0147103-393-87 Методические указания по определению минимально допустимых и технологических остатков нефти в резервуарных парках насосных станций управлений магистральными нефтепроводами ГлавтранснефтиДата актуализации: 01.01.2021
|
| Обозначение: | РД 39-0147103-393-87 |
| Обозначение англ: | RD 39-0147103-393-87 |
| Статус: | заменен |
| Название рус.: | Методические указания по определению минимально допустимых и технологических остатков нефти в резервуарных парках насосных станций управлений магистральными нефтепроводами Главтранснефти |
| Дата добавления в базу: | 01.09.2013 |
| Дата актуализации: | 01.01.2021 |
| Дата введения: | 01.11.1987 |
| Дата окончания срока действия: | 01.11.1992 |
| Область применения: | Методические указания предназначены для определения технологических и минимально допустимых остатков нефти в резервуарных парках управлений магистральными нефтепроводами Главтранснефти. |
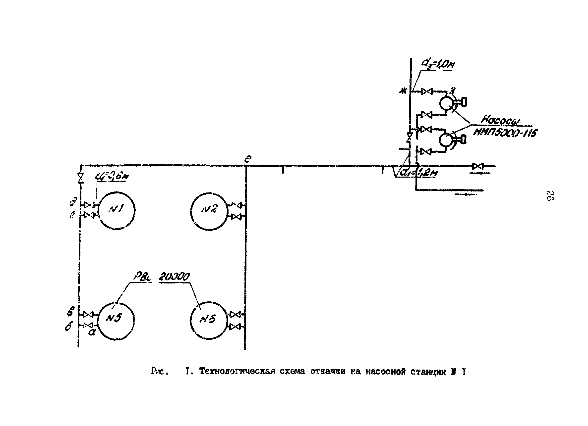
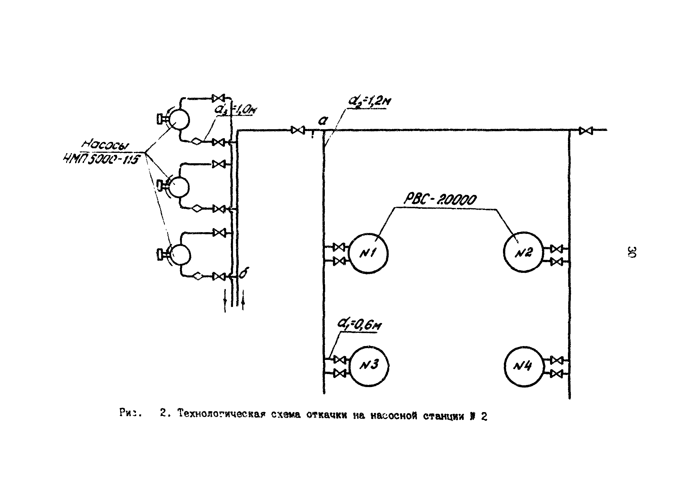
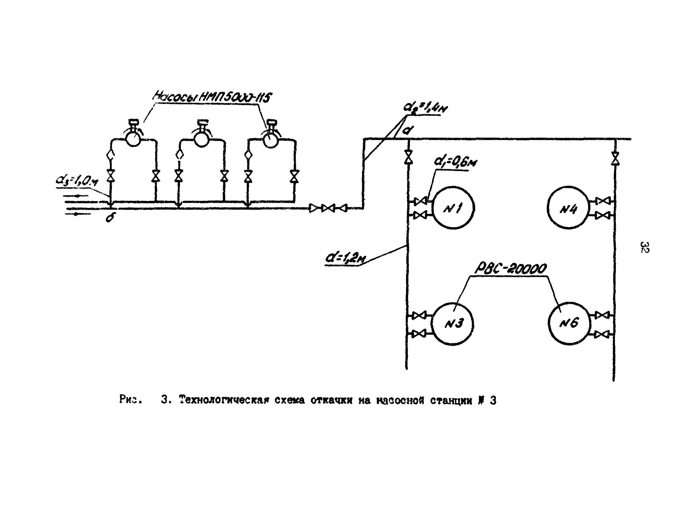
| Оглавление: | 1 Общие положения 2 Определение минимально допустимого уровня нефти в резервуаре 3 Определение технологического уровня 4 Определение величины товаро-коммерческих запасов нефти Приложение |
| Разработан: | ВНИИСПТнефть |
| Утверждён: | Министерство нефтяной промышленности СССР (USSR Ministry of the Petroleum Industry ) |
| Издан: | Ротапринт ВНИИСПТнефть (1987 г. ) |
| Заменяет собой: |
|
| Нормативные ссылки: |






































