Скачать Рекомендации по проектированию гидроизоляции подземных частей зданий и сооружений. Конструктивные детали гидроизоляцииДата актуализации: 01.01.2021 |
| Статус: | действует |
| Название рус.: | Рекомендации по проектированию гидроизоляции подземных частей зданий и сооружений. Конструктивные детали гидроизоляции |
| Дата добавления в базу: | 01.09.2013 |
| Дата актуализации: | 01.01.2021 |
| Область применения: | Рекомендации распространяются на защиту подземных частей зданий и сооружений, а также заглубленных помещений и фундаментов колонн, стен и оборудования от подземных вод |
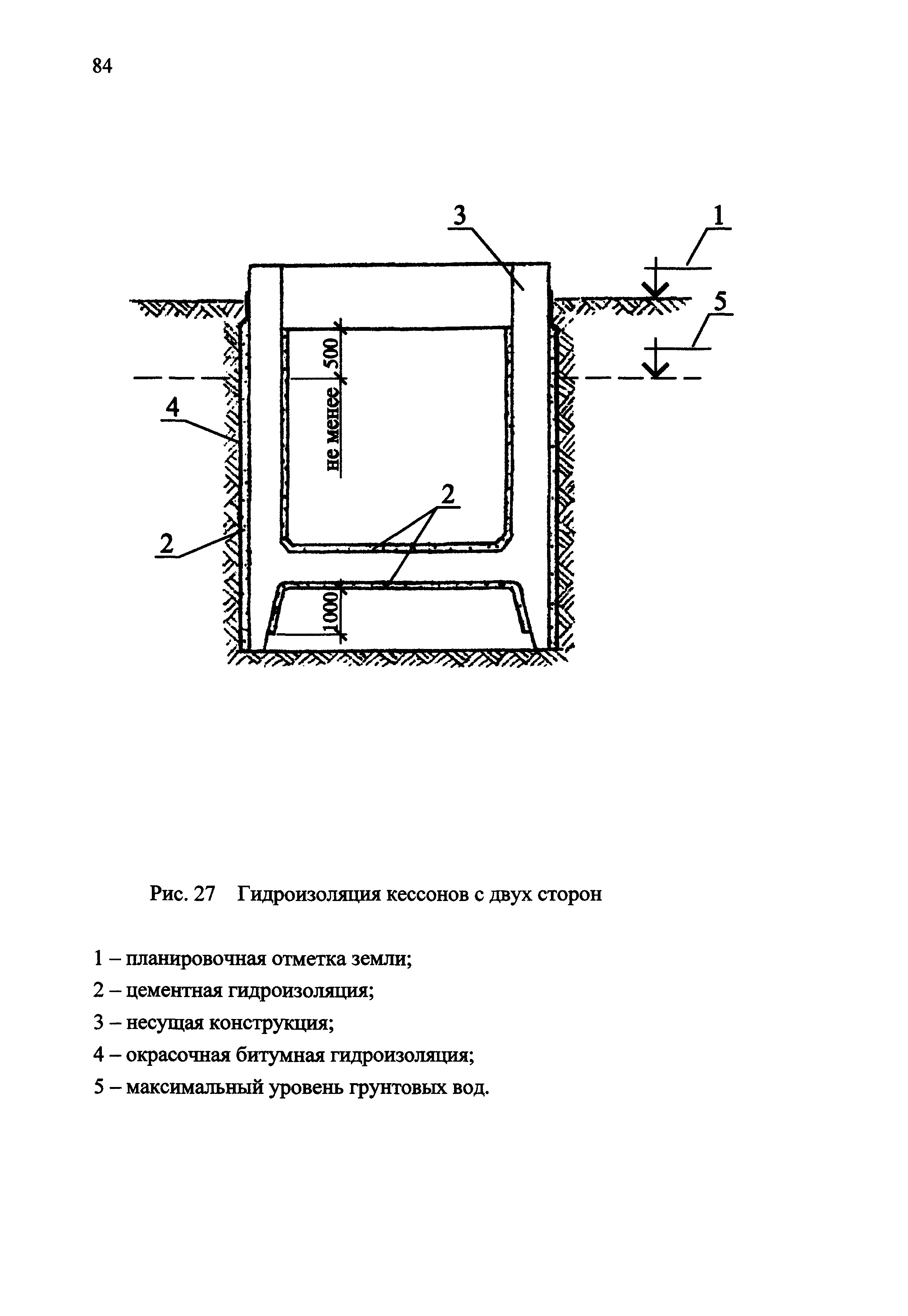
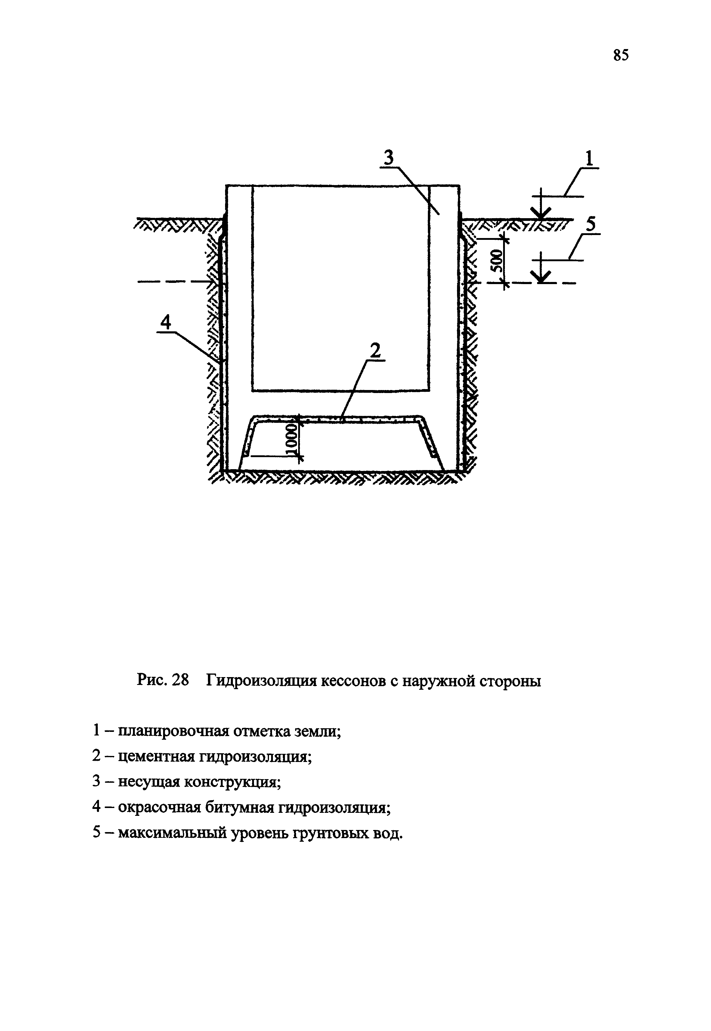
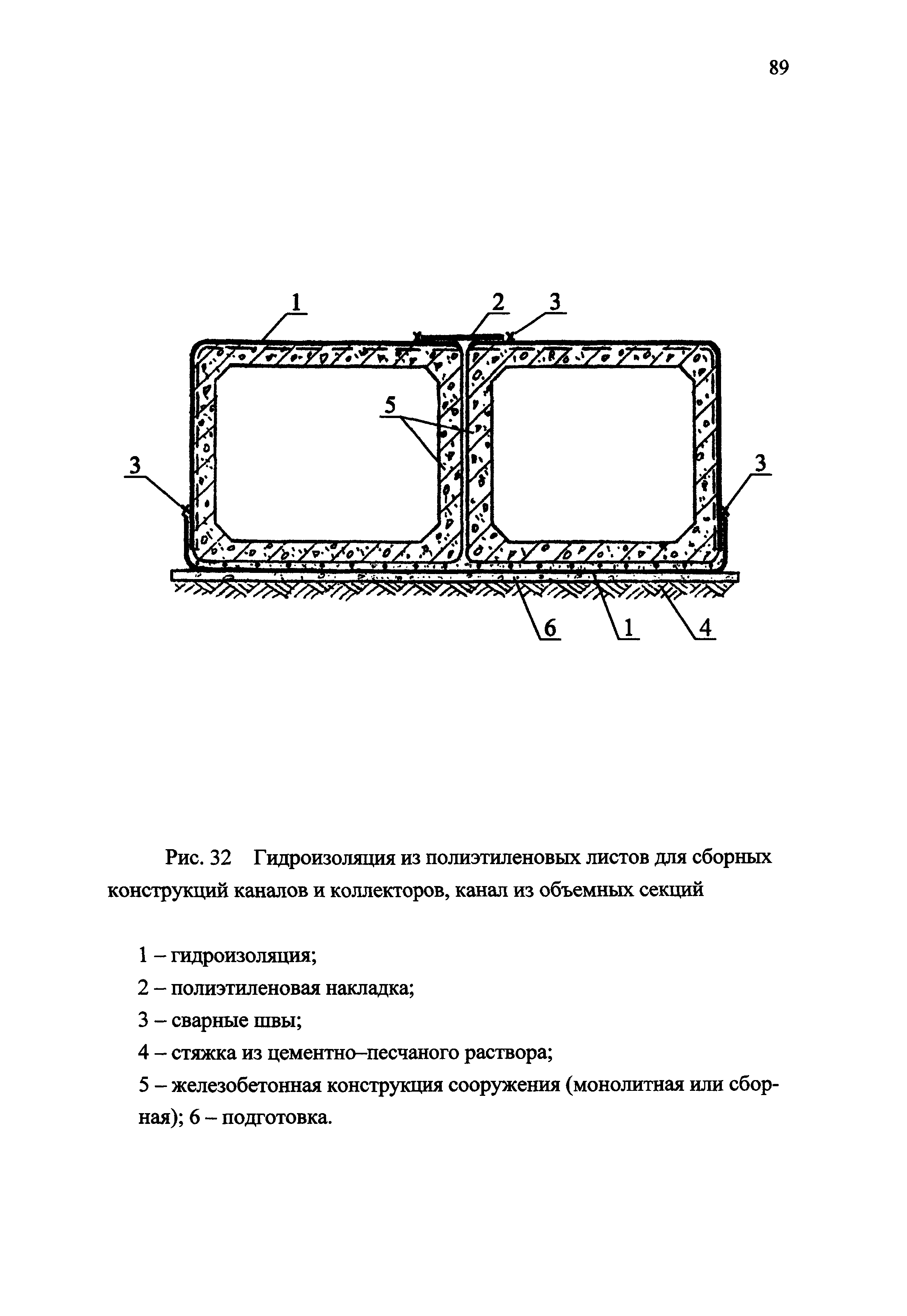
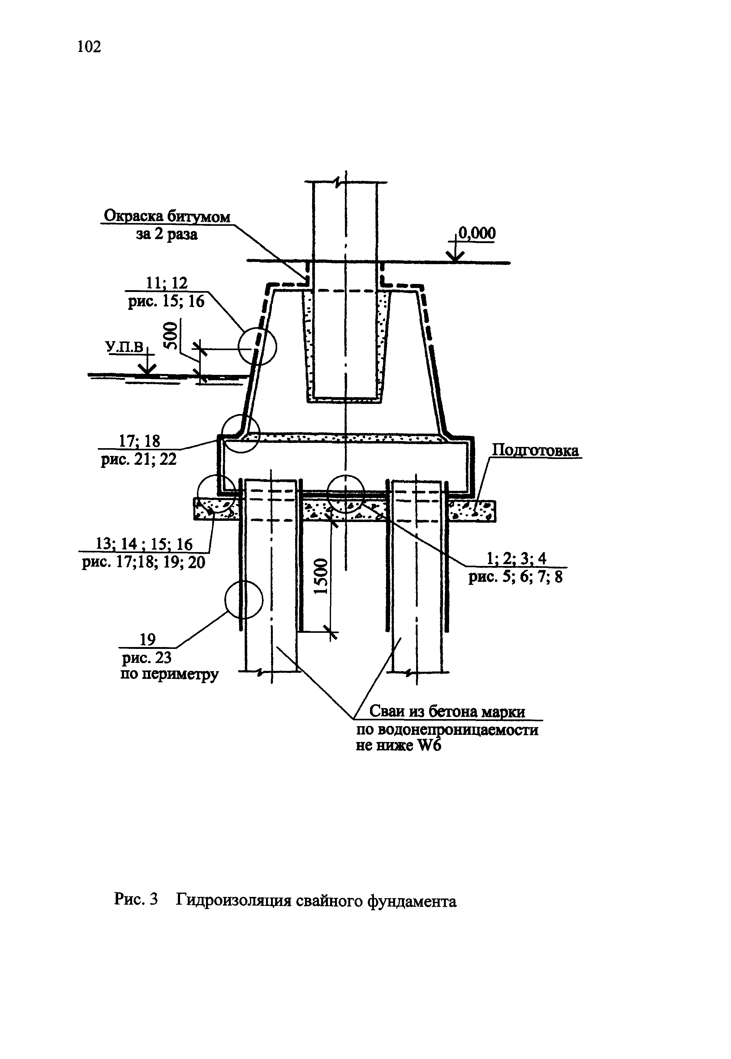
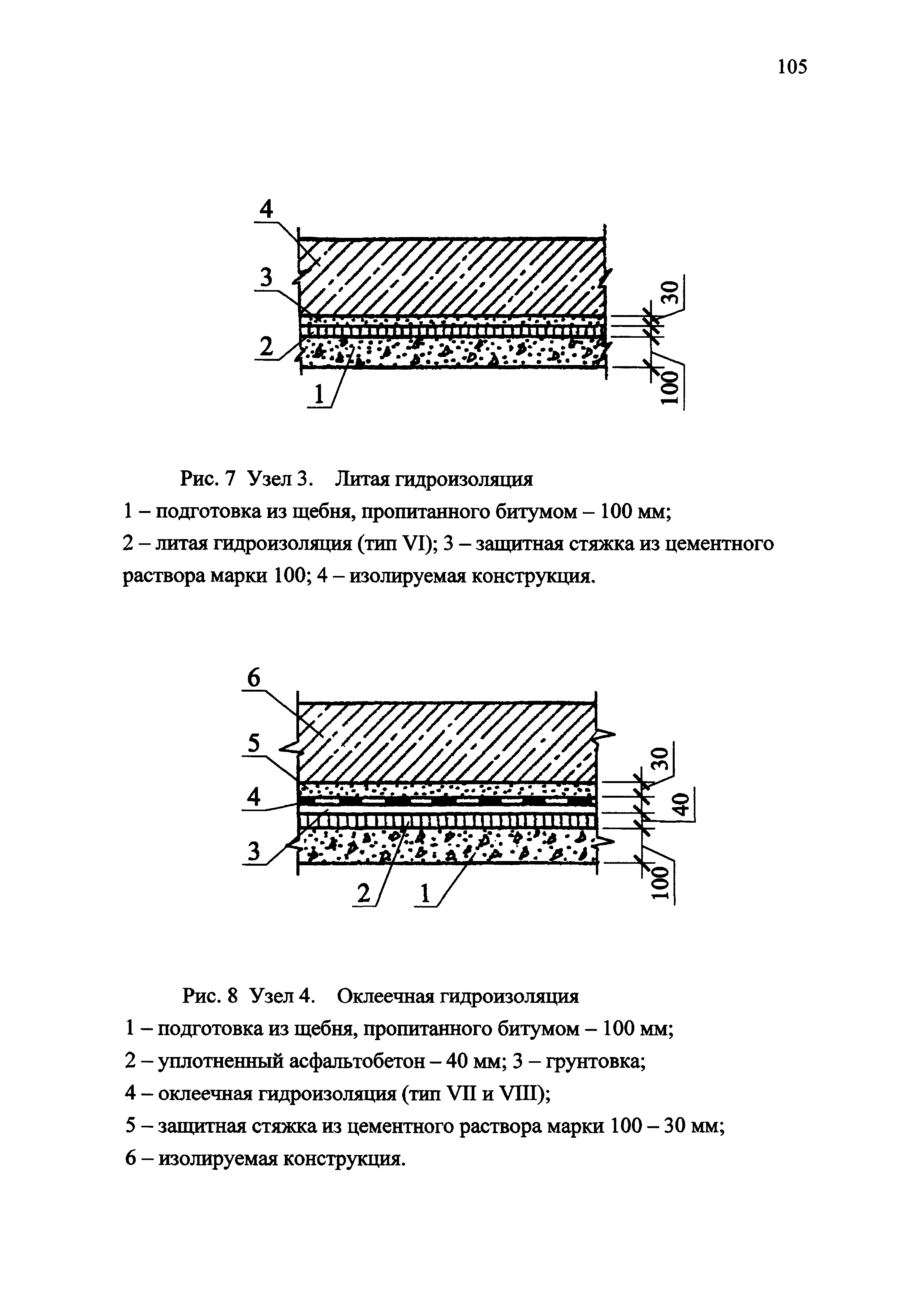
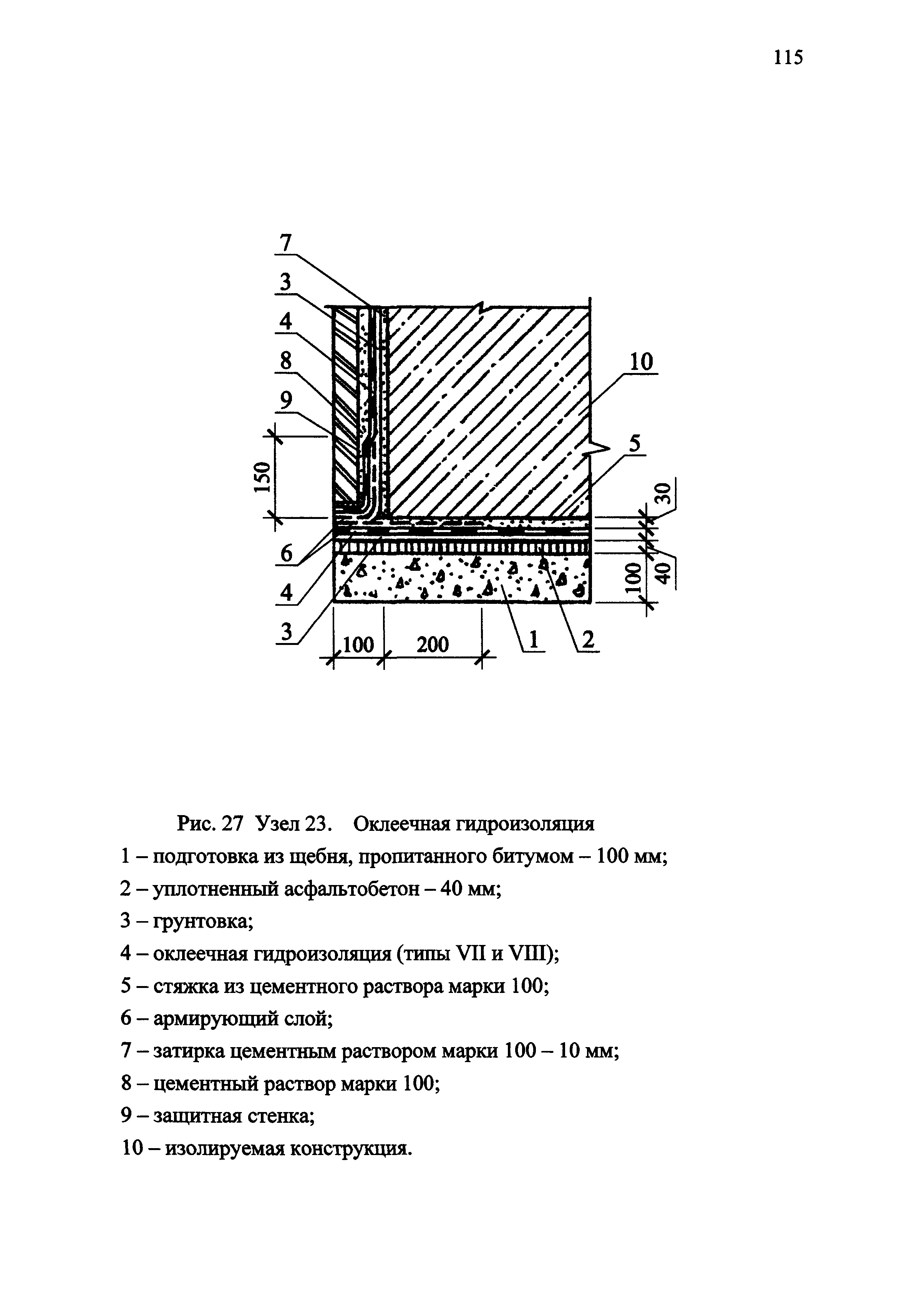
| Оглавление: | 1. Общая часть 2. Типы гидроизоляции - Окрасочная гидроизоляция - Штукатурная гидроизоляция - Оклеечная гидроизоляция - Облицовочная гидроизоляция 3. Гидроизоляция деформационных швов и пропуска труб 4. Конструкция гидроизоляции - Тоннели, каналы - Подвалы - Подпорные стены - Фундаменты 5. Гидроизоляция подземных сооружений, возводимых специальными способами - Способ "стена в грунте" - Способ "секущих свай" - Способ "опускного колодца" - Способ продавливания объемных железобетонных элементов - Способ щитовой проходки Приложение 1. Примеры устройства гидроизоляции подземных сооружений, деформационных швов, сопряжений закладных изделий с гидроизоляцией Приложение 2. Примеры устройства гидроизоляции фундаментов при воздействии агрессивных подземных вод |
| Разработан: | ОАО ЦНИИпромзданий |
| Утверждён: | ОАО ЦНИИпромзданий (TsNIIpromzdaniy OAO ) |
| Издан: | ОАО ЦНИИпромзданий (2009 г. ) |
| Заменяет собой: | |
| Нормативные ссылки: |
|























































































































