Скачать Типовой проект 902-2-433.87 Альбом 1. Пояснительная запискаДата актуализации: 01.01.2021
|
| Обозначение: | Типовой проект 902-2-433.87 |
| Обозначение англ: | 902-2-433.87 |
| Статус: | не определен законодательством |
| Название рус.: | Альбом 1. Пояснительная записка |
| Дата добавления в базу: | 01.09.2013 |
| Дата актуализации: | 01.01.2021 |
| Дата введения: | 12.08.1987 |
| Дата окончания срока действия: | 30.06.2003 |
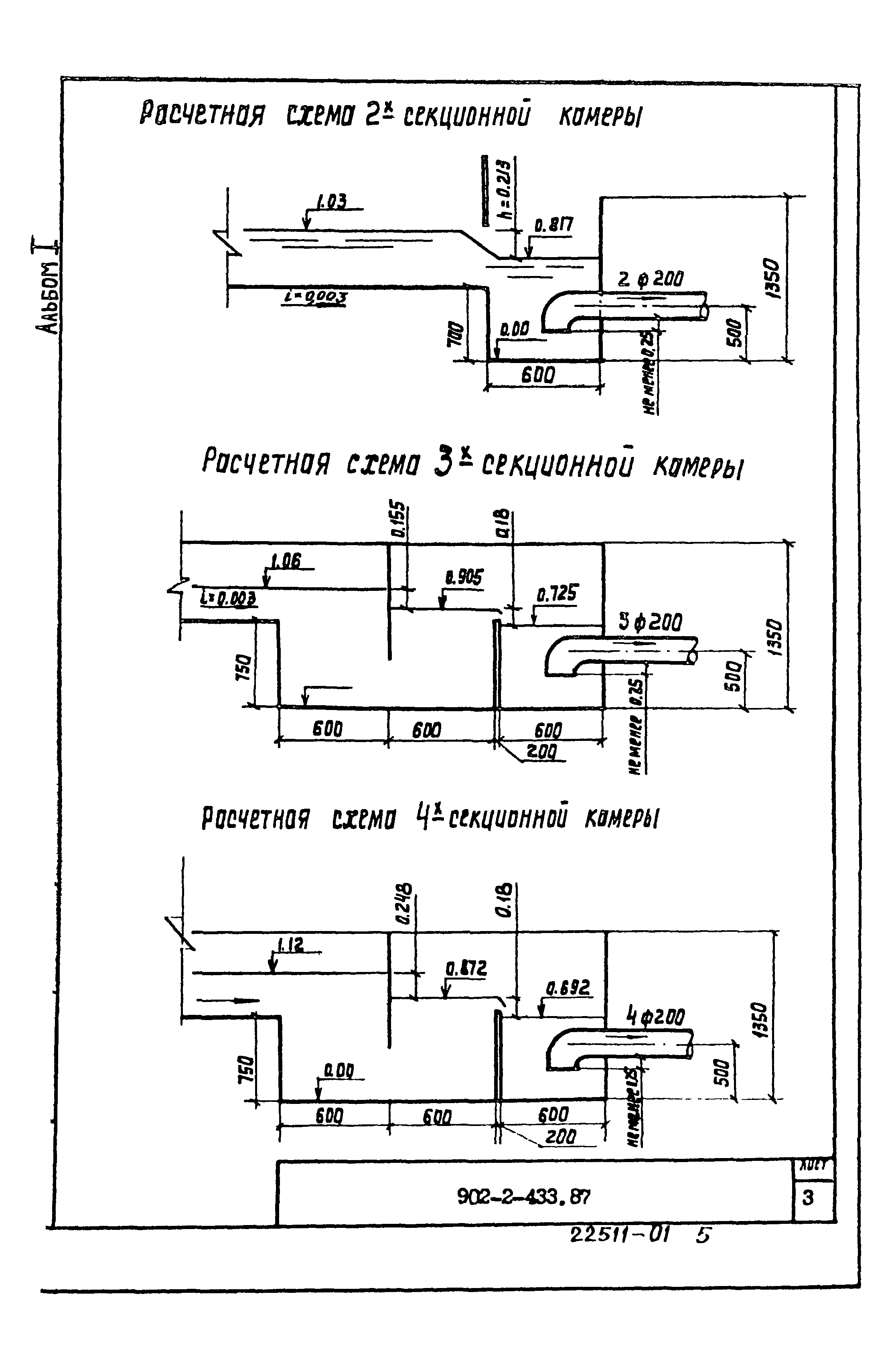
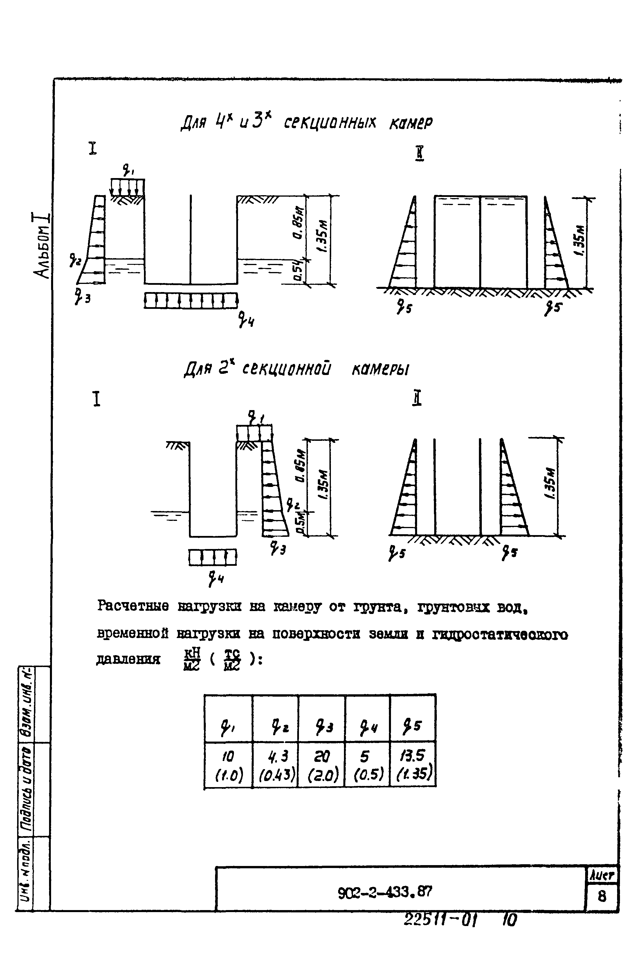
| Оглавление: | Общая часть Схема работы камеры Двухсекционной Трех и четырехсекционной Гидравлический расчет Строительная часть Конструктивная часть Основные расчетные положения Гидроизоляция и защита конструкции от коррозии Основные положения по производству строительно-монтажных работ Подготовительные работы Земляные работы Бетонные и железобетонные работы Гидравлическое испытание Производство работ в зимнее время Указания по привязке проекта |
| Разработан: | Союзводоканалпроект |
| Утверждён: | 12.08.1987 Госстрой СССР (Государственный комитет Совета Министров СССР по делам строительства) (USSR Gosstroy А4-72) |
| Заменяет собой: |













