Скачать Руководство по проектированию заводов металлоконструкций. Унифицированные листовые детали металлоконструкций одноэтажных промзданий

Дата актуализации: 01.01.2021

Руководство по проектированию заводов металлоконструкций. Унифицированные листовые детали металлоконструкций одноэтажных промзданий

Статус:не действует
Название рус.:Руководство по проектированию заводов металлоконструкций. Унифицированные листовые детали металлоконструкций одноэтажных промзданий
Дата добавления в базу:01.09.2013
Дата актуализации:01.01.2021
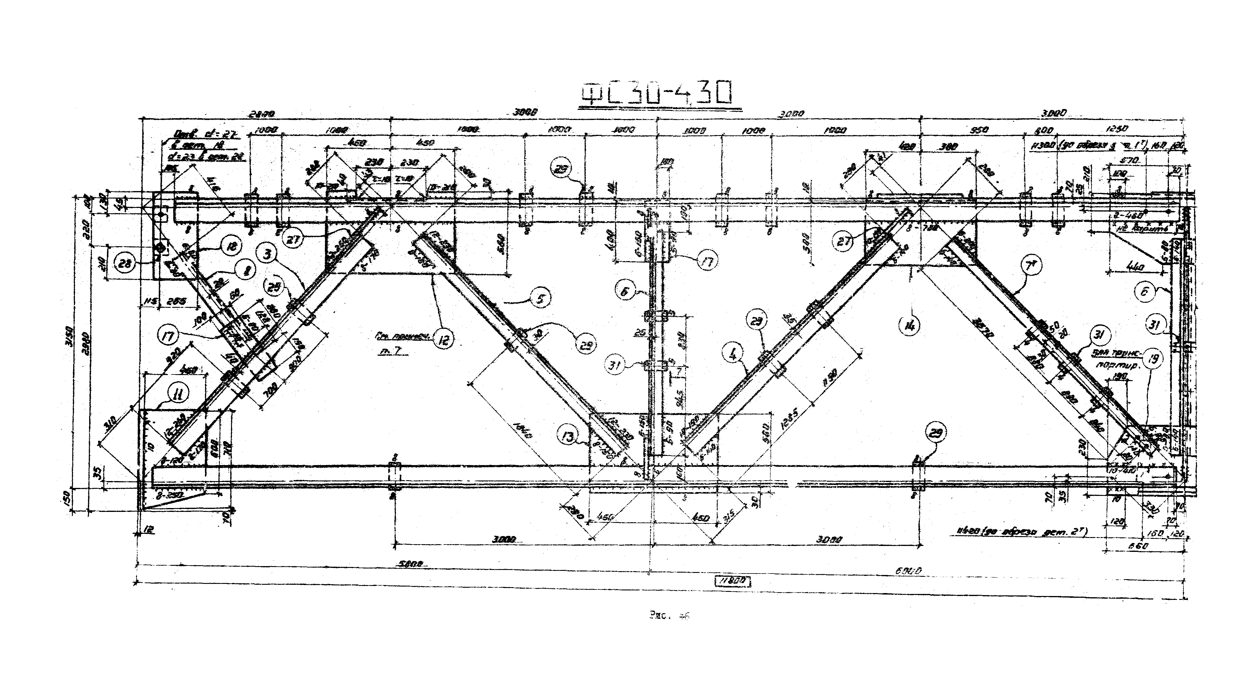
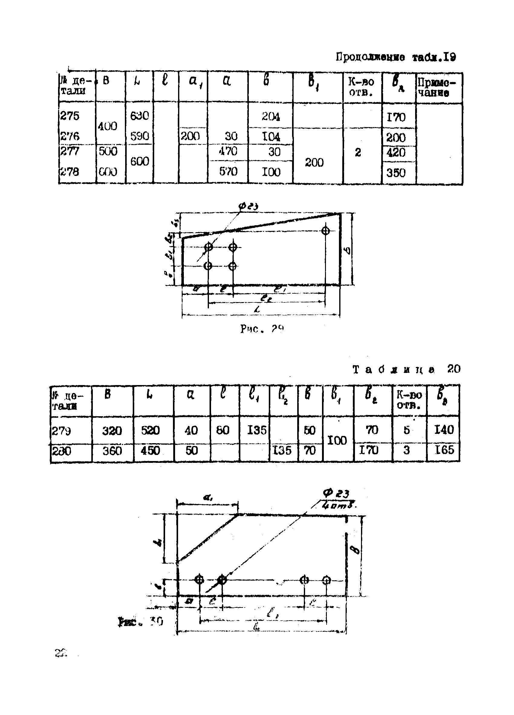
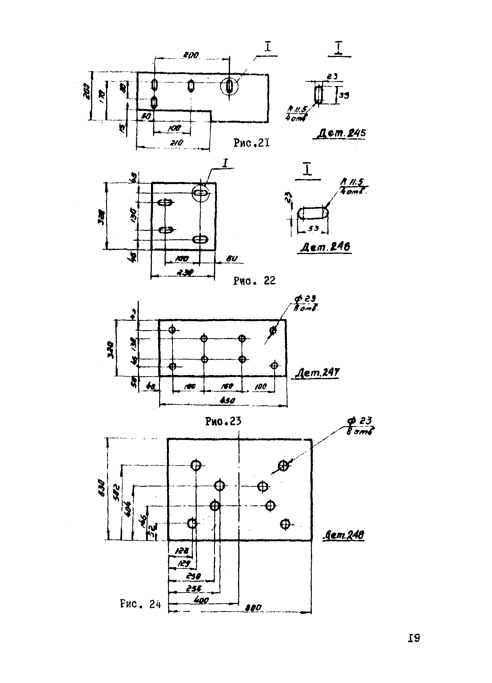
Область применения:Настоящее Руководство по проектированию заводов металлоконструкций включает чертежи унифицированных листовых деталей элементов каркасов одноэтажных промышленных зданий с мостовыми кранами грузоподъемностью до 50 тонн, краткую пояснительную записку и примеры использования Руководства для разработки чертежей КМД.
Оглавление:1 Основные положения
2 Инструкция по пользованию Руководством
3 Технические требования на изготовление деталей. Рекомендуемое оборудование
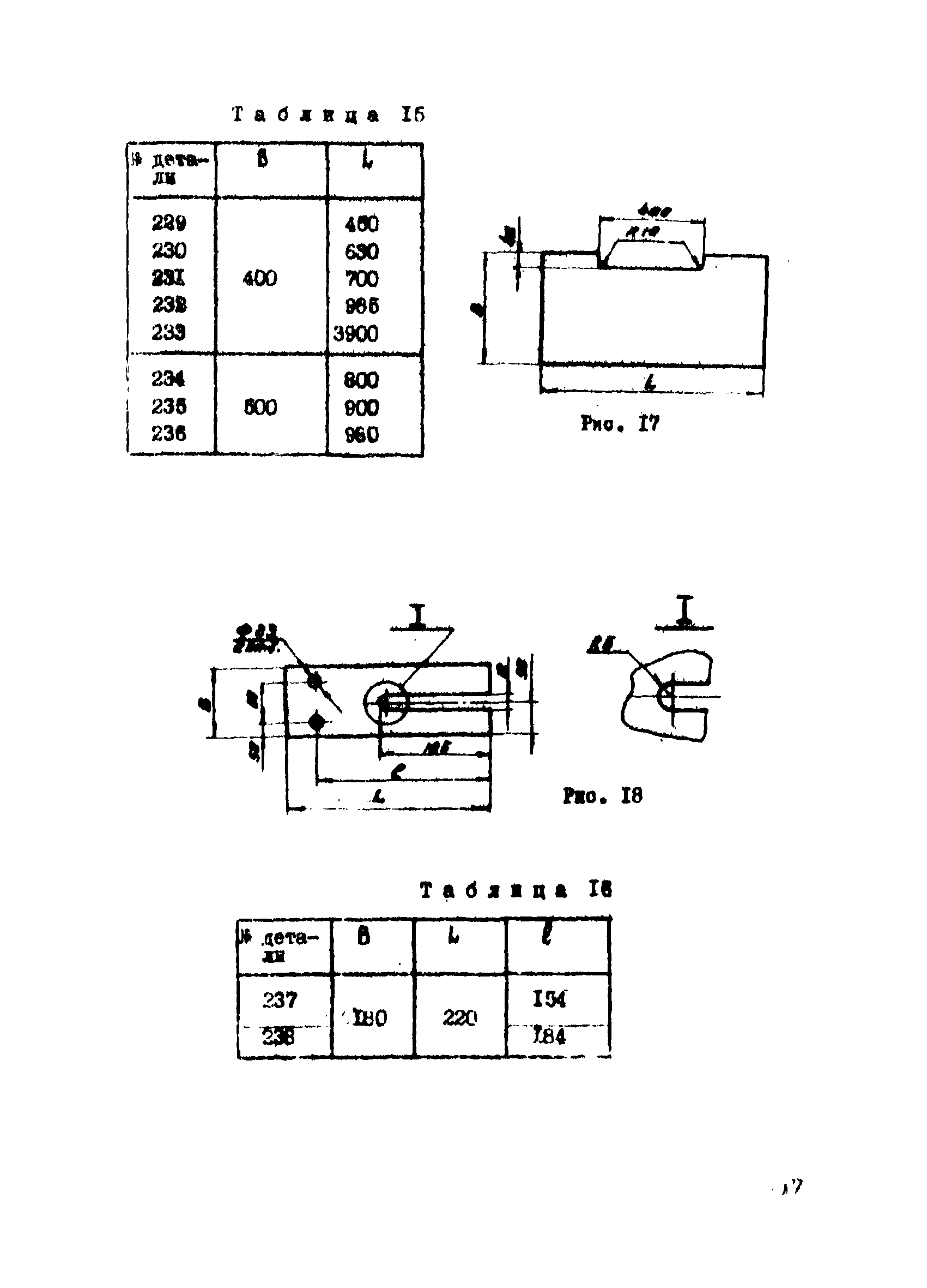
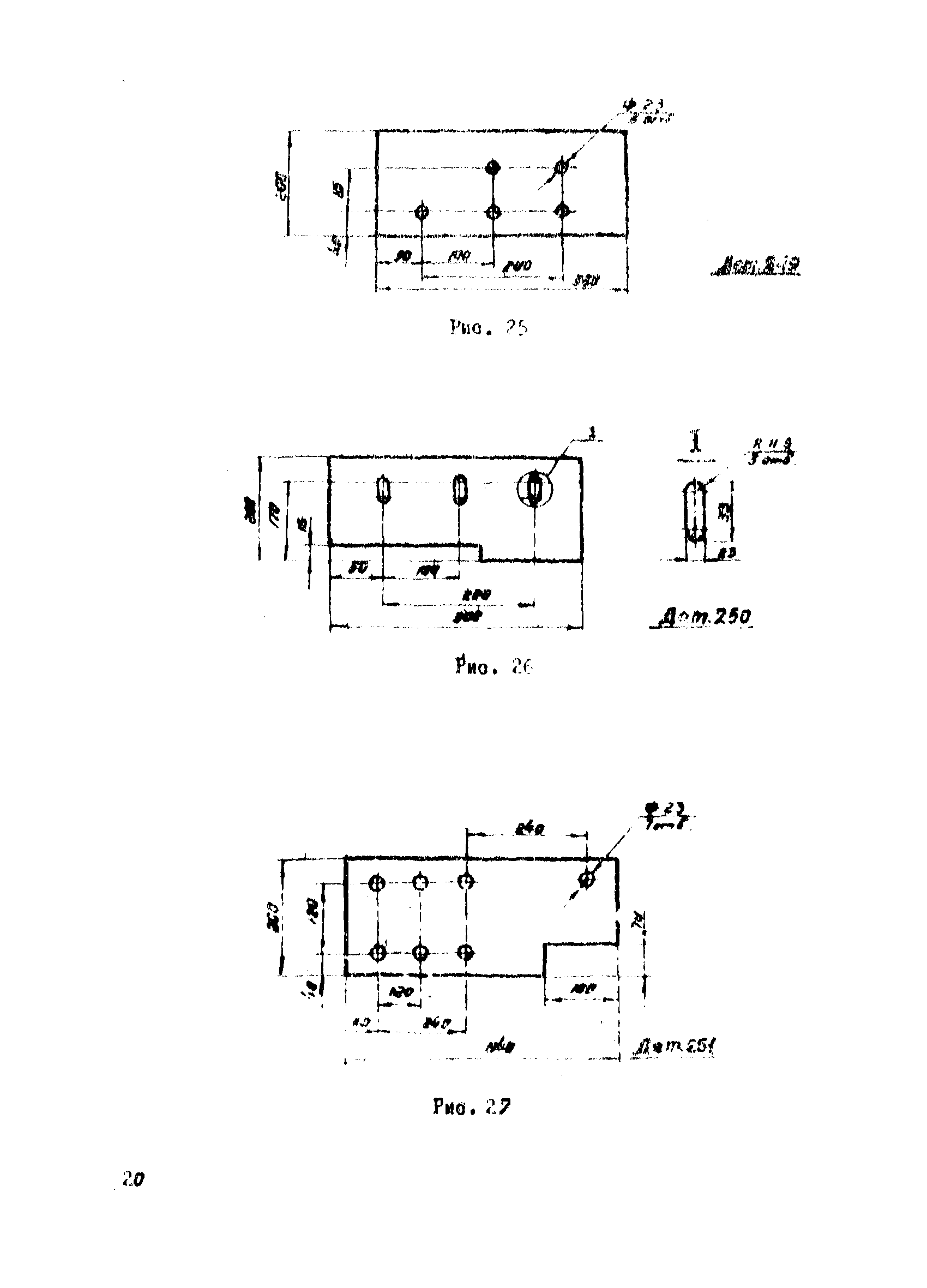
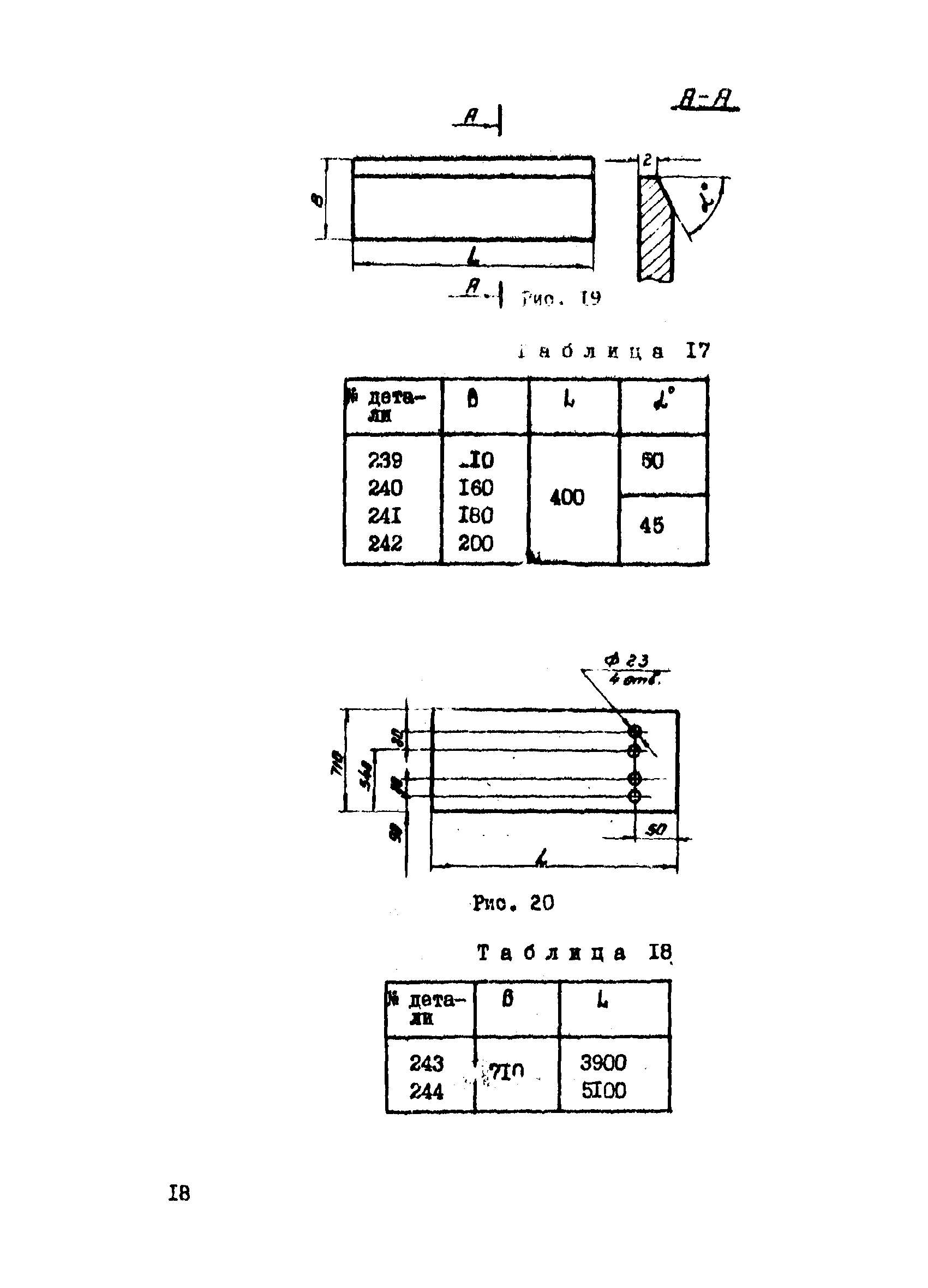
4 Унифицированные листовые детали
5 Примеры использования унифицированных деталей для четежей КМД типовых конструкций
Разработан: ЦНИИпроектстальконструкция
Утверждён:17.11.1982 ЦНИИпроектстальконструкция (TsNIIprojectstalkonstruktsiya )