Скачать ОСТ 39-091-79 Установки подготовки нефтяного газа. Параметрические рядыДата актуализации: 01.01.2021
|
| Обозначение: | ОСТ 39-091-79 |
| Обозначение англ: | OST 39-091-79 |
| Статус: | не определен законодательством |
| Название рус.: | Установки подготовки нефтяного газа. Параметрические ряды |
| Дата добавления в базу: | 01.09.2013 |
| Дата актуализации: | 01.01.2021 |
| Дата введения: | 01.01.1980 |
| Дата окончания срока действия: | 30.06.2003 |
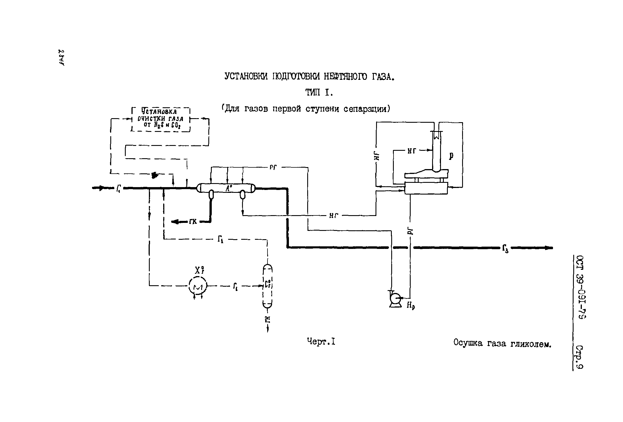
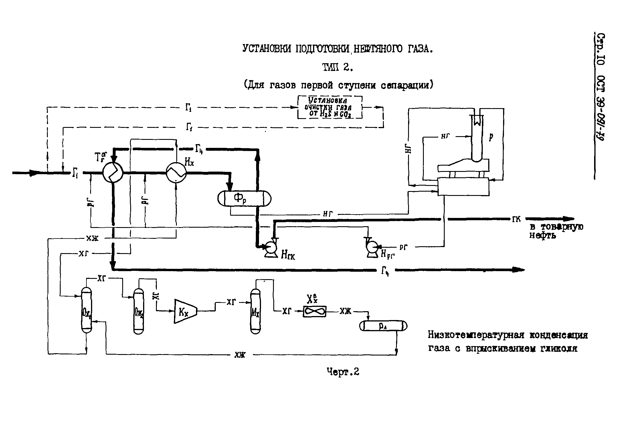
| Область применения: | Настоящий стандарт распространяется на блочные промысловые установки подготовки нефтяного газа (УПГ) к транспорту до газоперерабатывающих заводов или местных потребителей при давлении, не превышающем давление первой ступени сепарации нефти. Стандарт устанавливает параметрический ряд производительностей УПГ, а также номенклатуру и параметрические ряды функциональных технологических блоков (ФТБ) установок компримирования, низкотемпературной конденсации и осушки (абсорбционными методами) нефтяного газа. |
| Оглавление: | 1. Параметрический ряд производительностей и основные типы УПГ 2. Параметрические ряды основных ФТБ 3. Комплектность поставки УПГ Приложение 1. Справочное Приложение 2. Основные типы УПГ Приложение 3. Термины обозначений ФТБ и других элементов схем УПГ Приложение 4. Исходные данные для примеров вариантов комплектности поставки УПГ Приложение 5. Установки подготовки нефтяного газа первой ступени сепарации нефти. Примеры вариантов комплектности поставки. Типы 1, 2 Приложение 6. Установки подготовки нефтяного газа концевых ступеней сепарации нефти. Примеры вариантов комплектности поставки. Типы 3, 4, 5 |
| Разработан: | Миннефтепром СССР |
| Утверждён: | 20.07.1979 Министерство нефтяной промышленности СССР (USSR Ministry of the Petroleum Industry 360) |
| Издан: | Типография ХОЗУ Миннефтепрома |
| Нормативные ссылки: |





















