Скачать РД 39-0148306-422-89 Руководство по проектированию газоизмерительных пунктов для систем учета нефтяного газаДата актуализации: 01.01.2021
|
| Обозначение: | РД 39-0148306-422-89 |
| Обозначение англ: | RD 39-0148306-422-89 |
| Статус: | не действует |
| Название рус.: | Руководство по проектированию газоизмерительных пунктов для систем учета нефтяного газа |
| Дата добавления в базу: | 01.09.2013 |
| Дата актуализации: | 01.01.2021 |
| Дата введения: | 01.02.1990 |
| Дата окончания срока действия: | 01.02.1993 |
| Область применения: | Требования настоящего "Руководства…" должны выполняться при проектировании новых и реконструировании эксплуатируемых пунктов учета нефтяного газа, оснащенных узлами учета, использующими принцип переменного перепада давления. |
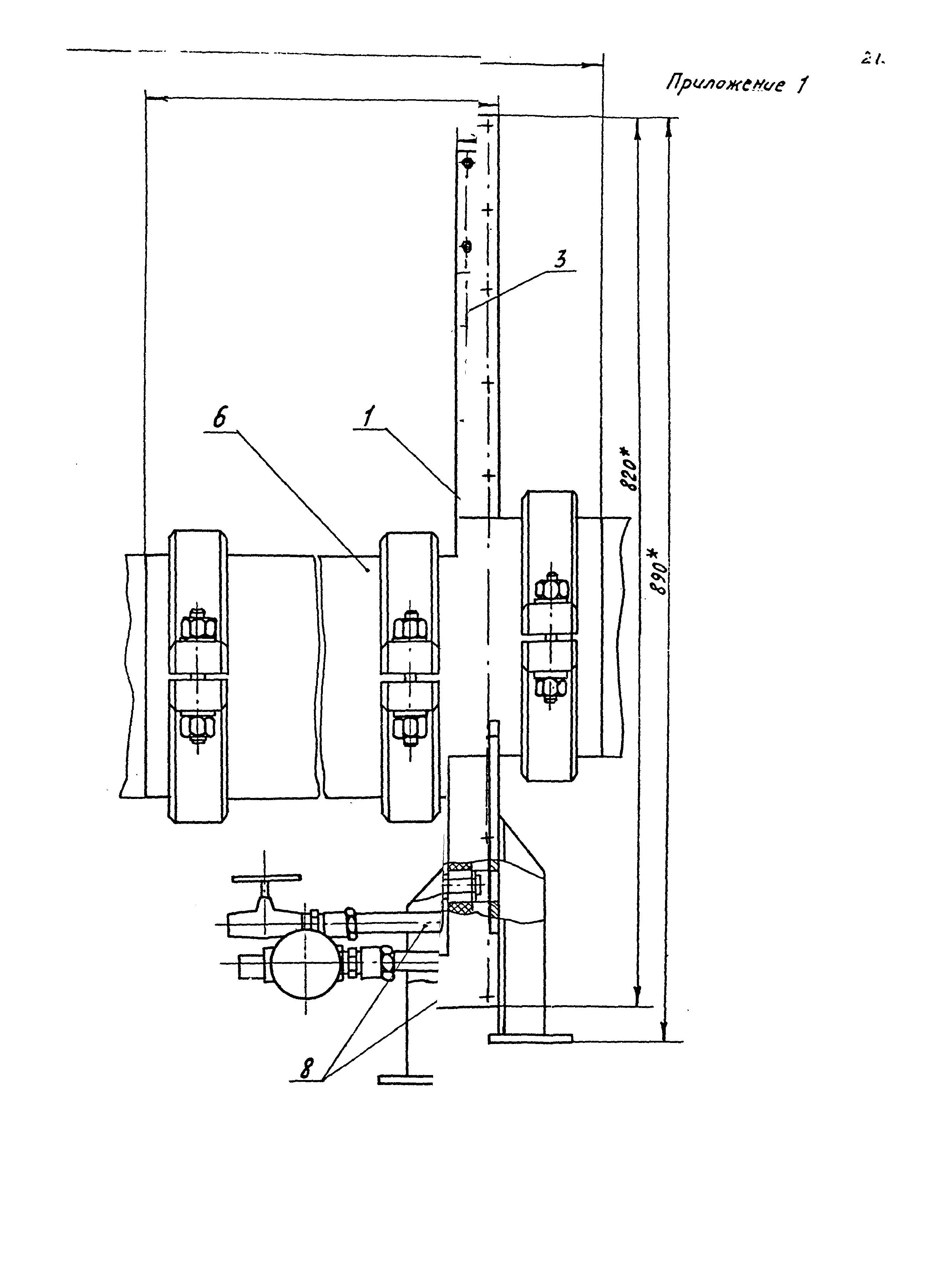
| Оглавление: | 1 Введение 2 Перечень терминов, используемых в РД 3 Термины и определения 4 Общие положения 5 Общие требования к проектированию пунктов учета нефтяного газа 6 Краткое описание устройства и технических узлов учета с использованием переменного перепада давления 7 Требования к монтажу пунктов учета 8 Требования к прямым участкам трубопроводов 9 Требования к расположению мест измерения основных параметров потока газа 10 Обеспечение требований техники безопасности при монтаже и обслуживании пунктов учета Приложения |
| Разработан: | ВНИПИгазпереработка Миннефтегазпрома СССР НПО Сибнефтеавтоматика |
| Утверждён: | 26.12.1989 Главнефтеавтоматика |
| Нормативные ссылки: |
































