Скачать ОСТ 108.632.09-80 Тяги с траверсой для подвесок трубопроводов ТЭС и АЭС. Конструкция и размеры

Дата актуализации: 01.01.2021

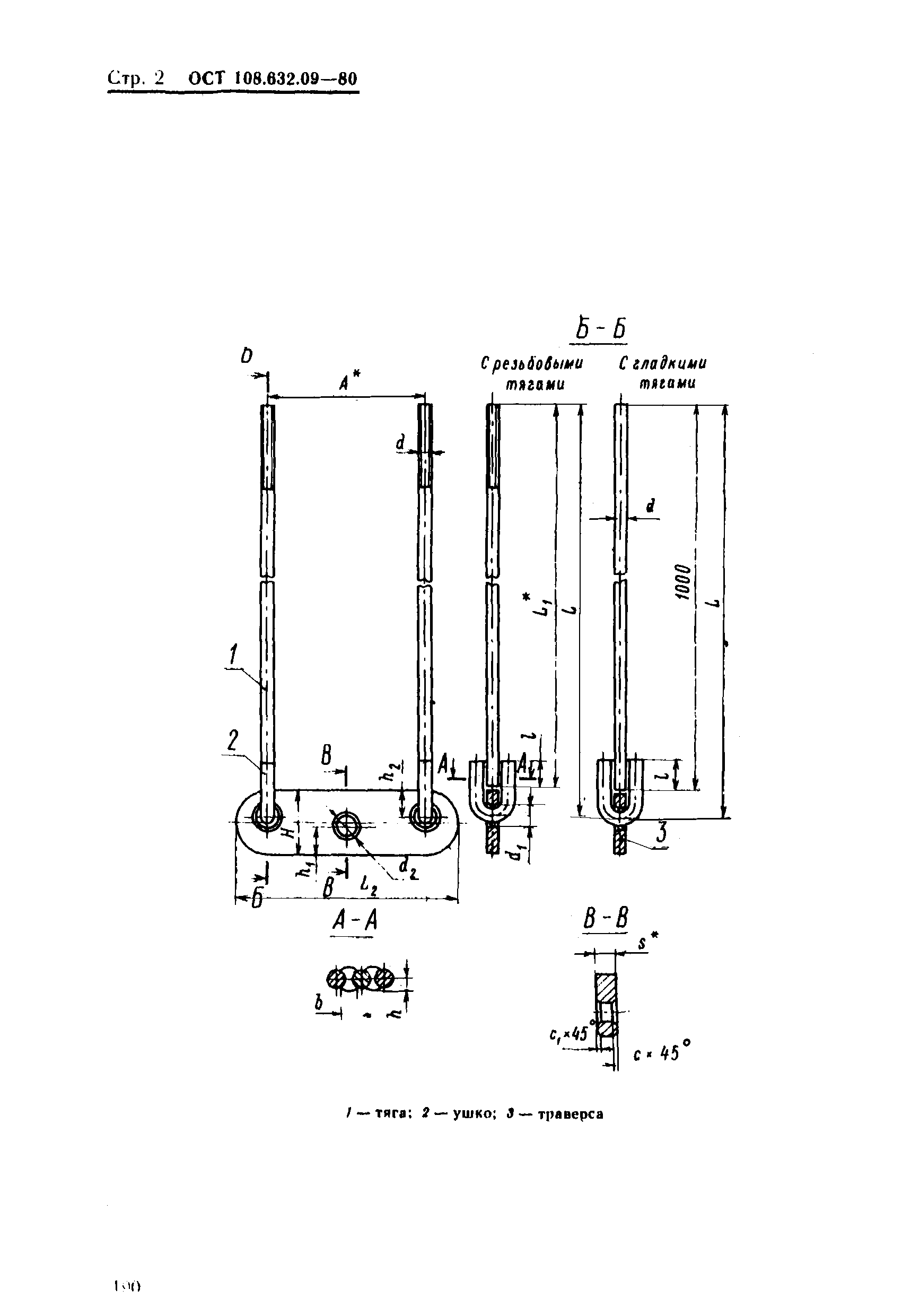
ОСТ 108.632.09-80

Тяги с траверсой для подвесок трубопроводов ТЭС и АЭС. Конструкция и размеры

Обозначение: ОСТ 108.632.09-80
Обозначение англ: OST 108.632.09-80
Статус:не определен законодательством
Название рус.:Тяги с траверсой для подвесок трубопроводов ТЭС и АЭС. Конструкция и размеры
Дата добавления в базу:01.09.2013
Дата актуализации:01.01.2021
Дата введения:01.01.1982
Дата окончания срока действия:30.06.2003
Область применения:Стандарт распространяется на гладкие и резьбовые тяги с траверсой для подвесок трубопроводов ТЭС и АЭС
Разработан: НПО ЦКТИ им. И.И. Ползунова
БЗЭМ
Утверждён:30.06.1980 Министерство энергетического машиностроения (Ministry of Energy Machinery Manufacturing ЮК-002/5260)
Принят: Министерство энергетики и электрификации СССР (USSR Ministry of Energy and Electrical Power )
Издан: НПО ЦКТИ (1989 г. )
Список изменений:
Заменяет собой:
  • МВН 382-63
Нормативные ссылки:
ОСТ 108.632.09-80ОСТ 108.632.09-80ОСТ 108.632.09-80ОСТ 108.632.09-80ОСТ 108.632.09-80ОСТ 108.632.09-80ОСТ 108.632.09-80ОСТ 108.632.09-80ОСТ 108.632.09-80ОСТ 108.632.09-80

Текстовое изменение № 2 от 01.01.1984

№ 2

Текстовое изменение № 3 от 01.01.1988

№ 3

Текстовое изменение № от 15.02.1994

№ № № №