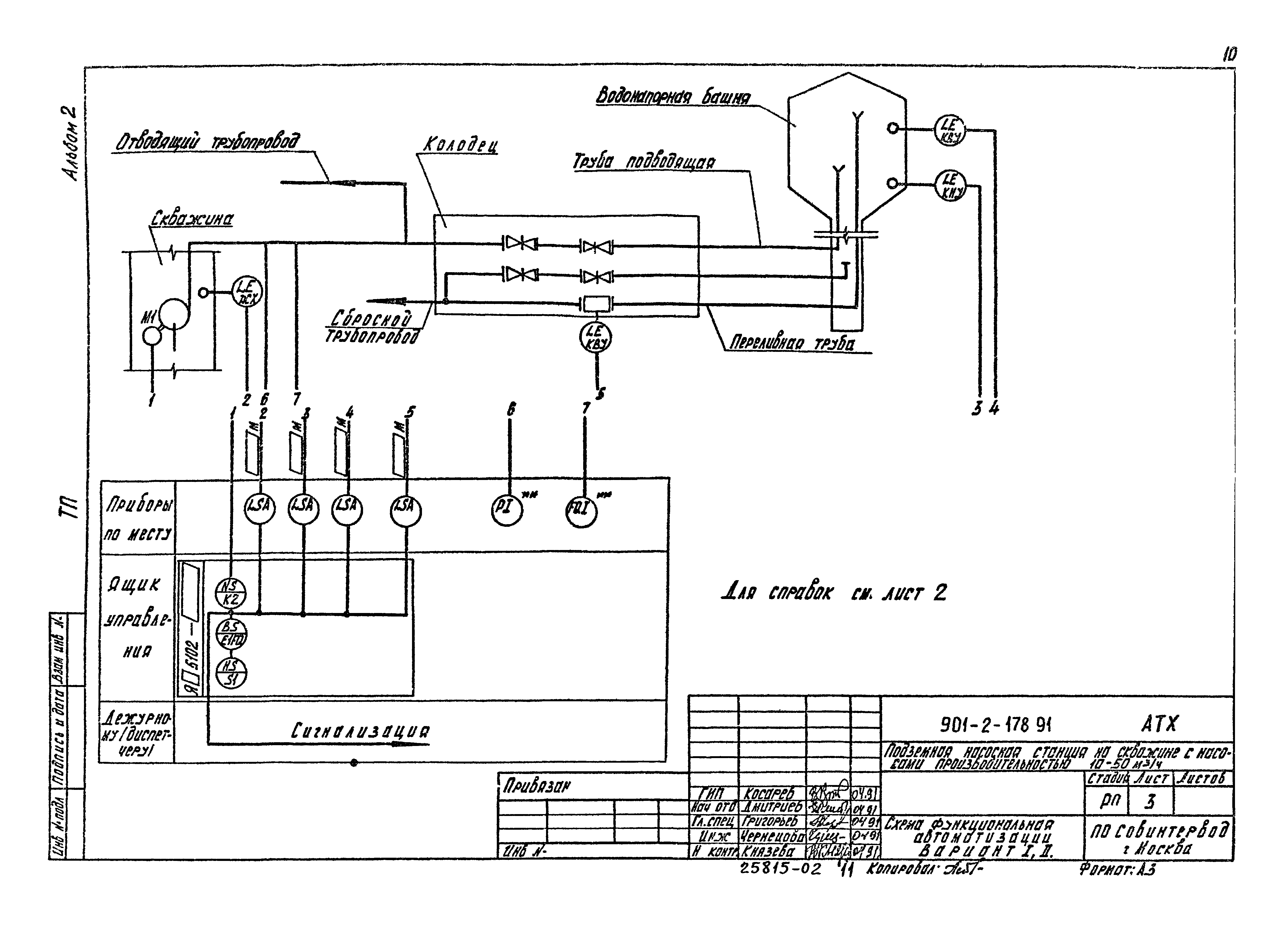
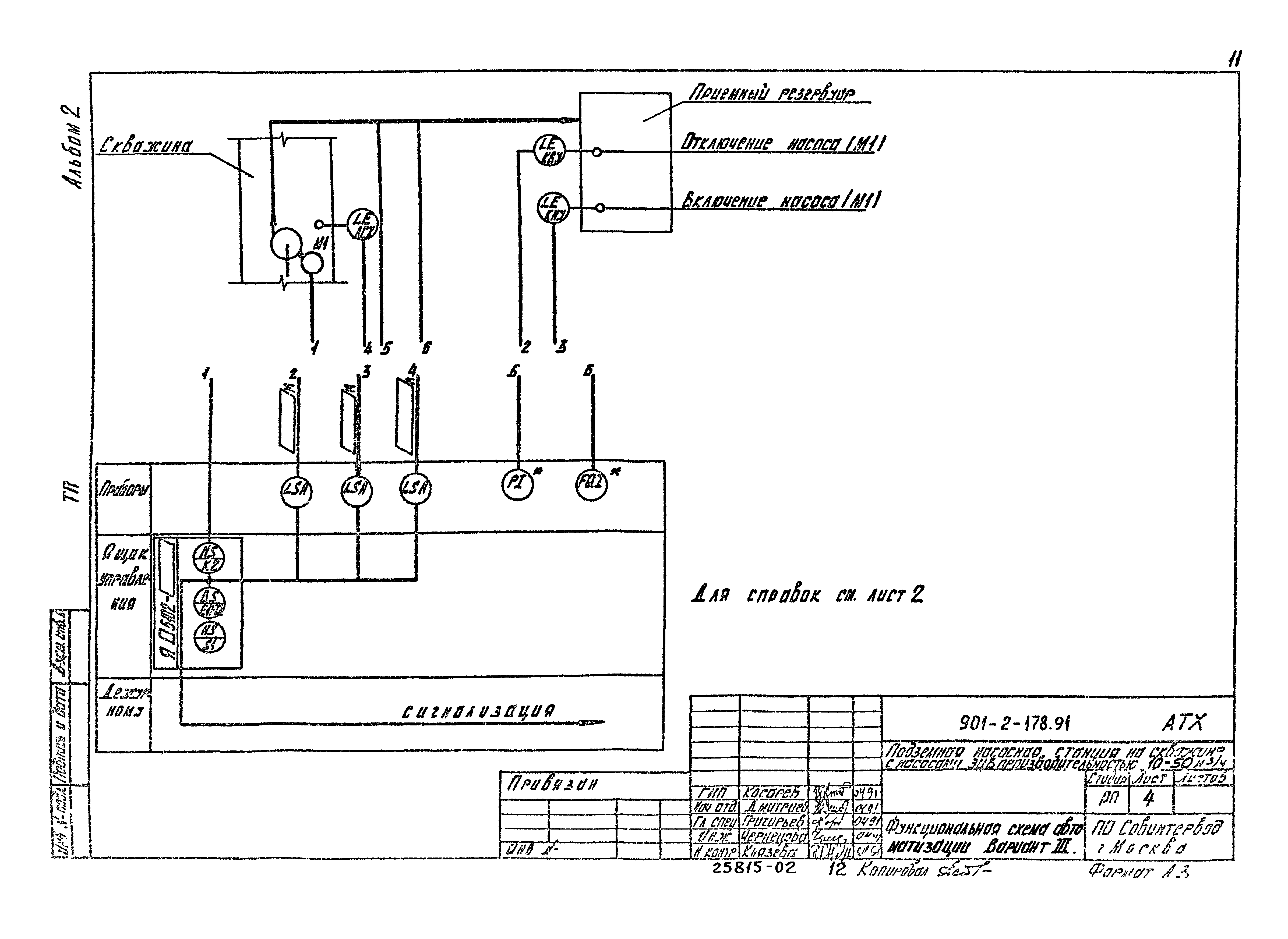
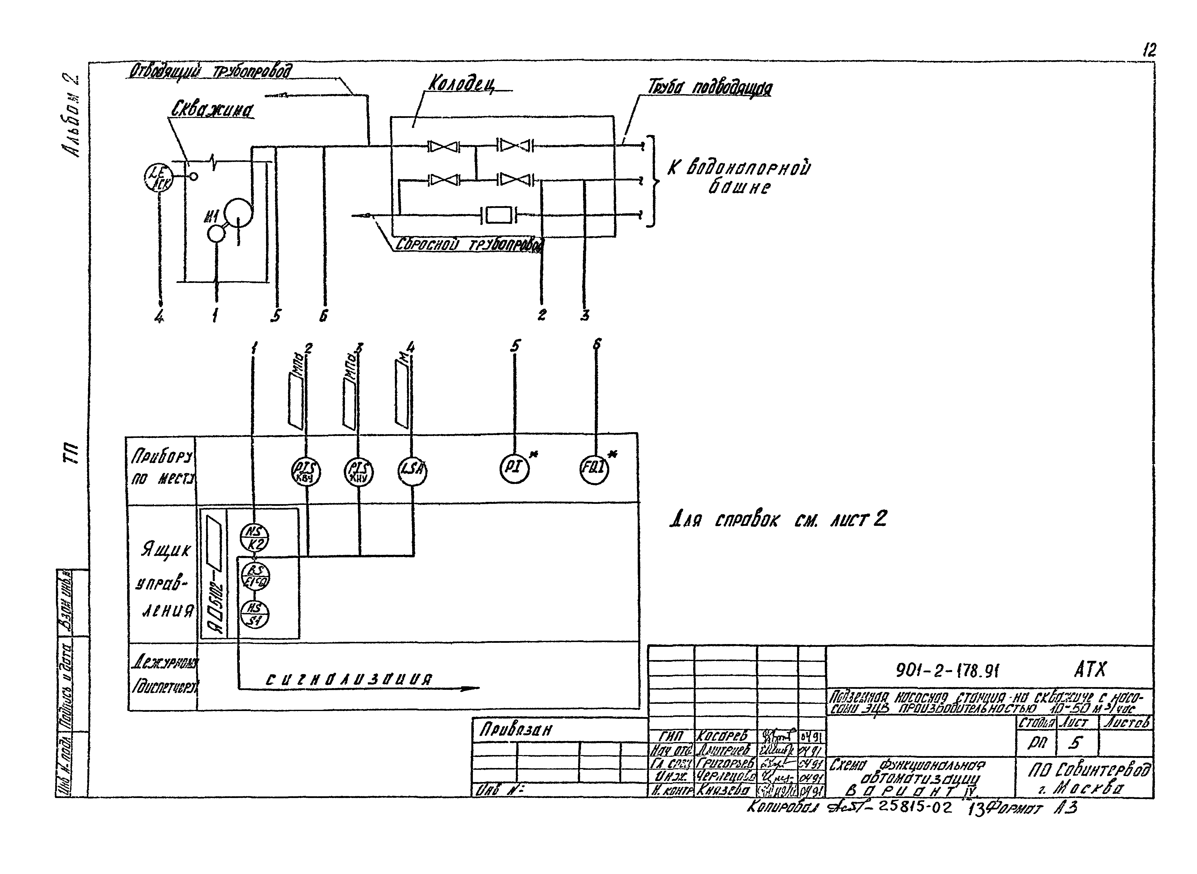
Скачать Типовой проект 901-2-178.91 Альбом 2. Электрооборудование. Автоматизация технологического процессаДата актуализации: 01.01.2021
|
| Обозначение: | Типовой проект 901-2-178.91 |
| Обозначение англ: | 901-2-178.91 |
| Статус: | не определен законодательством |
| Название рус.: | Альбом 2. Электрооборудование. Автоматизация технологического процесса |
| Дата добавления в базу: | 01.09.2013 |
| Дата актуализации: | 01.01.2021 |
| Дата введения: | 18.04.1991 |
| Дата окончания срока действия: | 30.06.2003 |
| Разработан: | Совинтервод |
| Утверждён: | 18.04.1991 Госконцерн СССР Водстрой (849) |
















