Скачать РД 39-0147103-307-85 Методика определения КПД насосных агрегатов магистральных нефтепроводовДата актуализации: 01.01.2021
|
| Обозначение: | РД 39-0147103-307-85 |
| Обозначение англ: | RD 39-0147103-307-85 |
| Статус: | не действует |
| Название рус.: | Методика определения КПД насосных агрегатов магистральных нефтепроводов |
| Дата добавления в базу: | 01.09.2013 |
| Дата актуализации: | 01.01.2021 |
| Дата введения: | 01.03.1986 |
| Дата окончания срока действия: | 01.03.1989 |
| Область применения: | Документом регламентируются приборы и расчетные формулы для определения КПД насосных агрегатов в целом и КПД электродвигателя и насоса. |
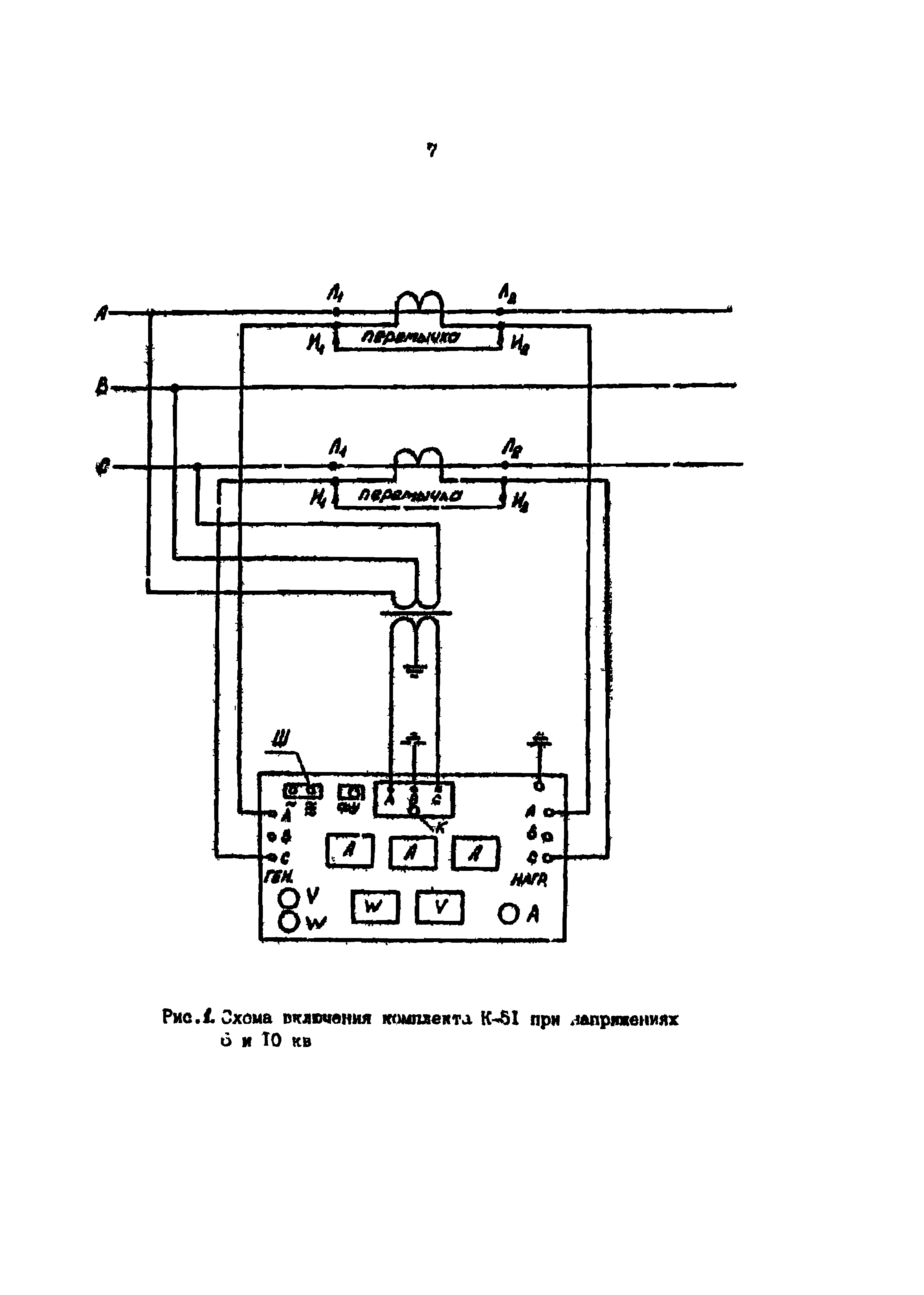
| Оглавление: | 1 Общие положения 2 Измеряемые параметры и приборы 3 Определение мощности, потребляемой насосным агрегатом из электросети 4 Определение мощности, потребляемой насосом (на валу двигателя) 5 Определение полезной мощности и коэффициента полезного действия насосного агрегата, насоса Приложение |
| Разработан: | ВНИИСПТнефть |
| Утверждён: | 14.12.1985 Министерство нефтяной промышленности СССР (USSR Ministry of the Petroleum Industry ) |




































