Скачать Указания по определению условий пропуска поездов по железнодорожным мостам

Дата актуализации: 01.01.2021

Указания по определению условий пропуска поездов по железнодорожным мостам

Статус:действует
Название рус.:Указания по определению условий пропуска поездов по железнодорожным мостам
Дата добавления в базу:01.09.2013
Дата актуализации:01.01.2021
Область применения:В Указаниях приведены результаты классификации обращающихся в настоящее время и перспективных локомотивов, вагонов и транспортеров, а также консольных кранов.
Оглавление:Раздел 1. Общие положения
Раздел 2. Определение условий пропуска поездных нагрузок
Раздел 3. Характеристики существующего и перспективного подвижного состава сети железных дорог СССР
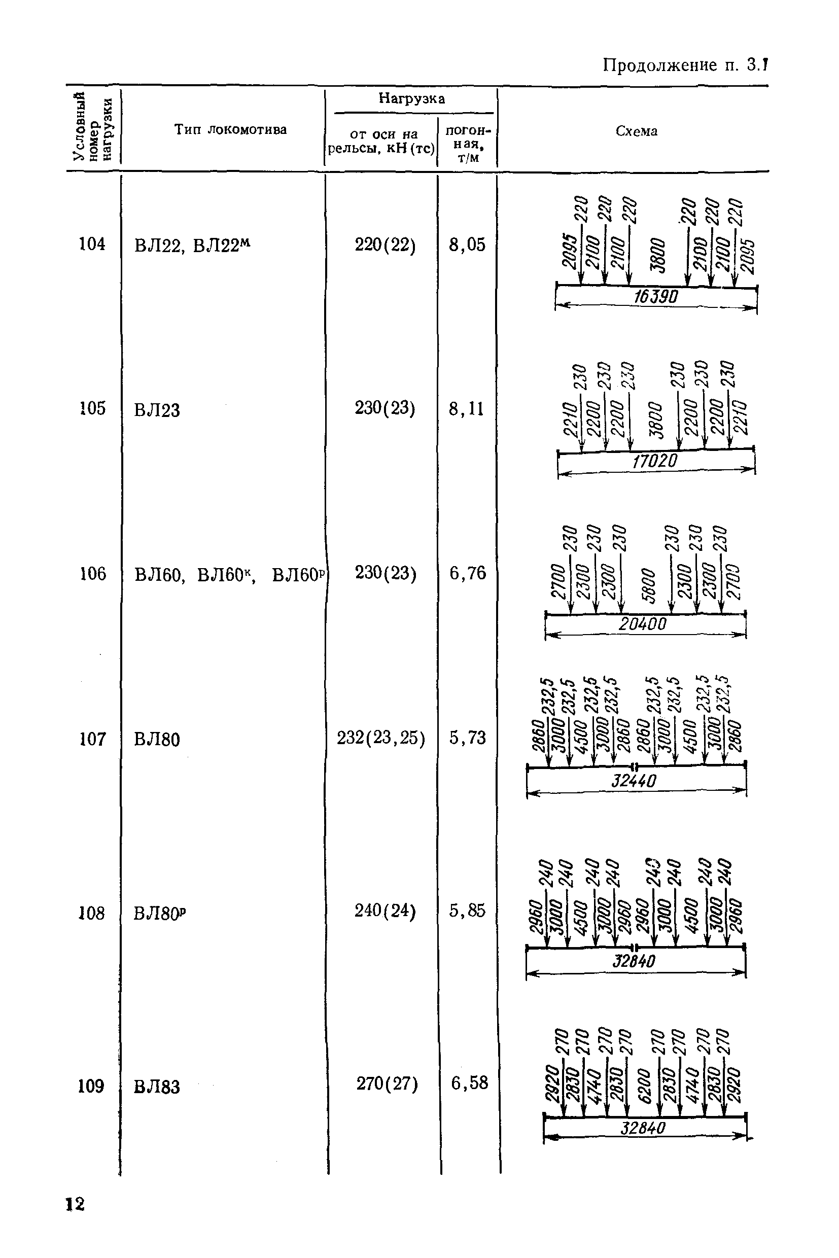
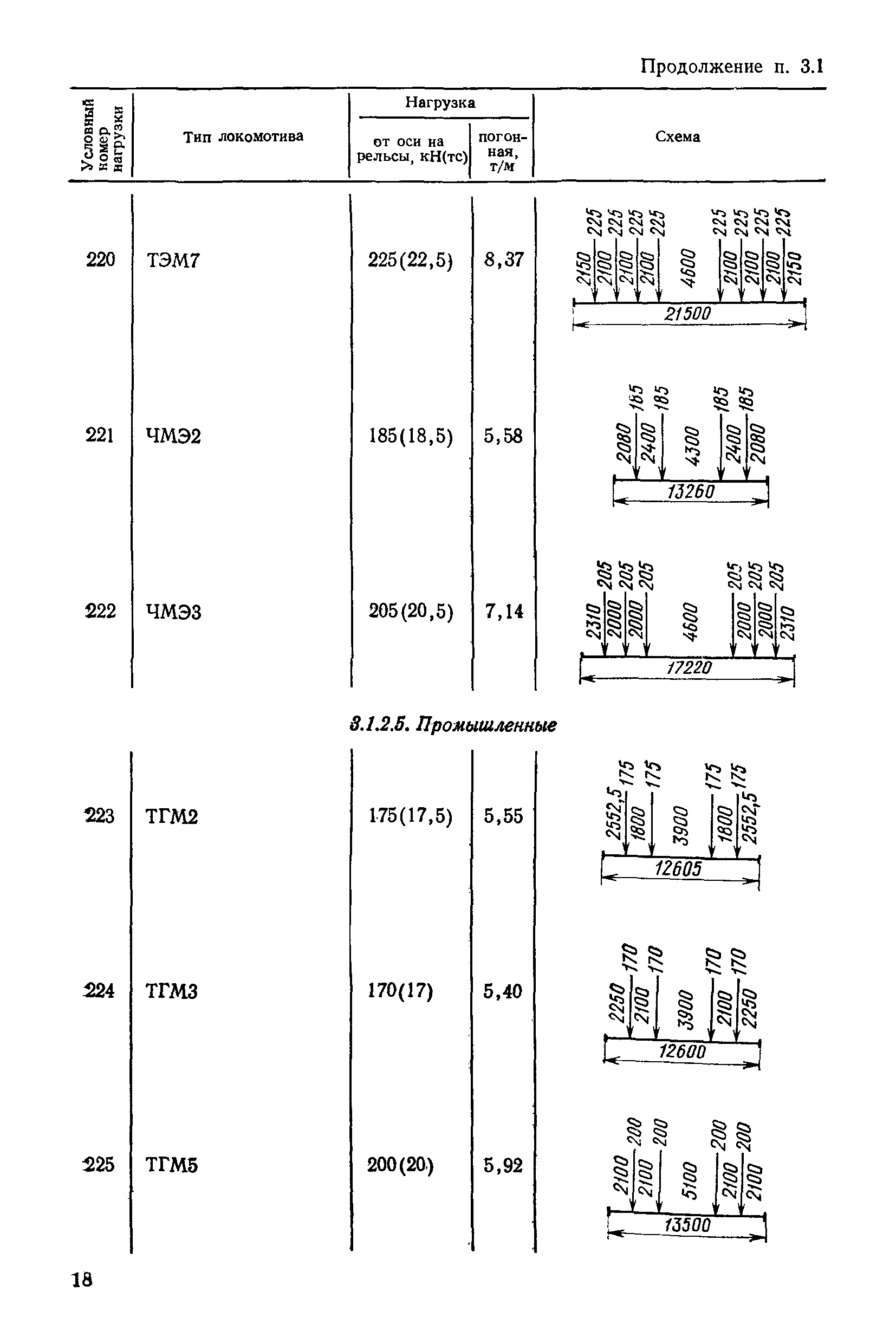
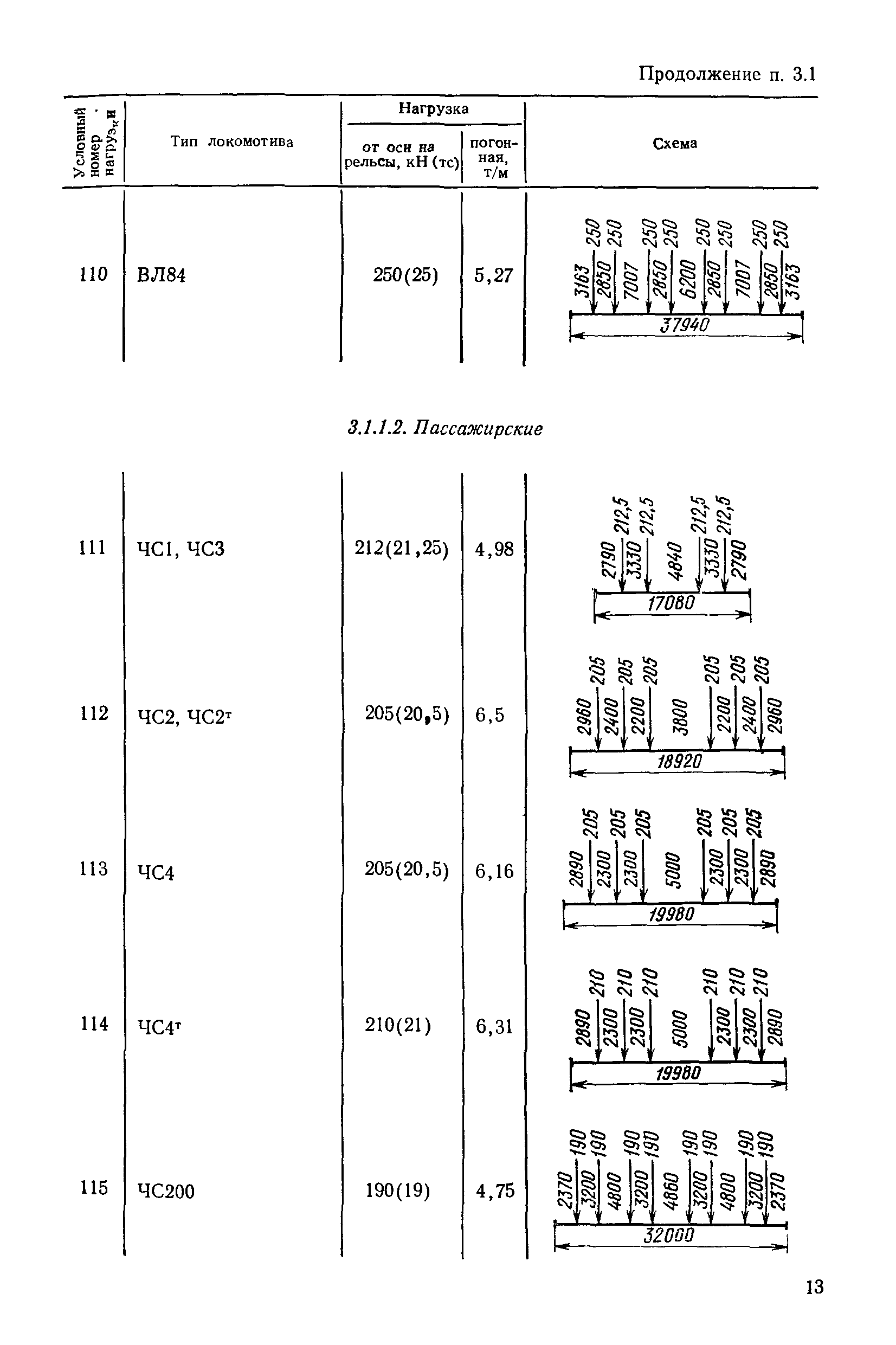
   3.1 Локомотивы
   3.2 Вагоны
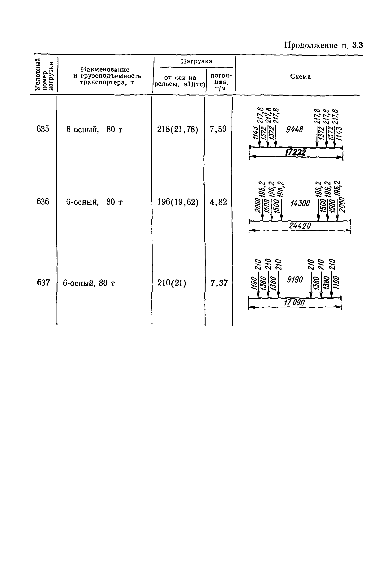
   3.3 Транспортеры
   3.4 Консольные железнодорожные краны
Раздел 4. Классификация нагрузок
Раздел 5. Нагрузки и категории грузоподъемности мостов, обеспечивающих их пропуск
Приложения
Разработан: ЛИИЖТ
Утверждён:29.10.1981 Министерство путей сообщения СССР (USSR Ministry of Railroads )
Издан: Транспорт (1983 г. )