Скачать Типовой проект 902-7-1.84 Альбом II. Изделия арматурные, закладныеДата актуализации: 01.01.2021
|
| Обозначение: | Типовой проект 902-7-1.84 |
| Обозначение англ: | 902-7-1.84 |
| Статус: | не определен законодательством |
| Название рус.: | Альбом II. Изделия арматурные, закладные |
| Дата добавления в базу: | 01.09.2013 |
| Дата актуализации: | 01.01.2021 |
| Дата введения: | 17.02.1983 |
| Дата окончания срока действия: | 30.06.2003 |
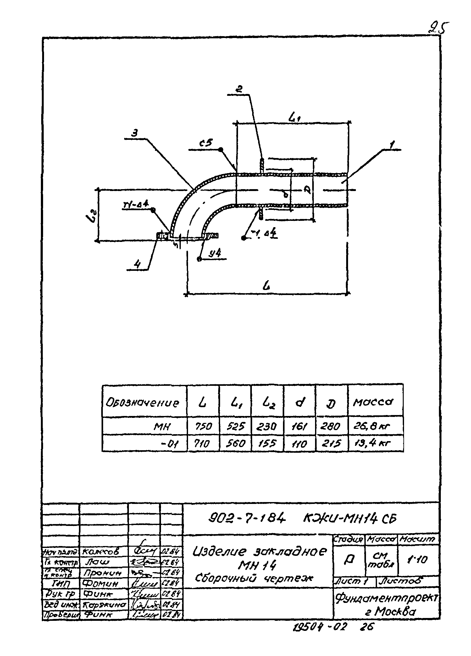
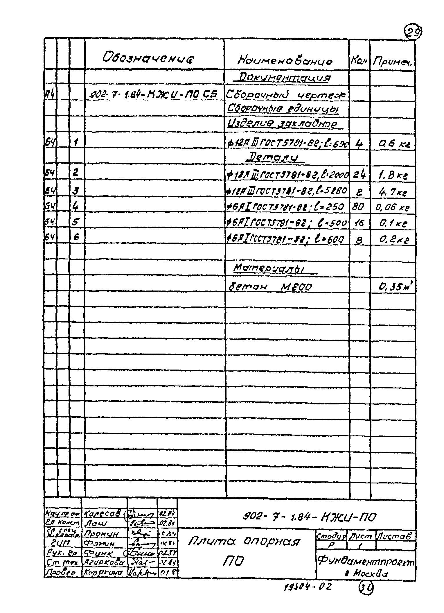
| Оглавление: | ТП 902-7-1.84 КЖИ-КР1 Каркас плоский КР1 ТП 902-7-1.84 КЖИ-КР2 Каркас плоский КР2 ТП 902-7-1.84 КЖИ-КР3 Каркас плоский КР3 ТП 902-7-1.84 КЖИ-КР4 Каркас плоский КР4 ТП 902-7-1.84 КЖИ-МН1 Изделие закладное МН1 ТП 902-7-1.84 КЖИ-МН2 Изделие закладное МН2 ТП 902-7-1.84 КЖИ-МН3 Изделие закладное МН3 ТП 902-7-1.84 КЖИ-МН4 Изделие закладное МН4 ТП 902-7-1.84 КЖИ-МН5 Изделие закладное МН5 ТП 902-7-1.84 КЖИ-МН6 Изделие закладное МН6 ТП 902-7-1.84 КЖИ-МН7 Изделие закладное МН7 ТП 902-7-1.84 КЖИ-МН8 Изделие закладное МН8 ТП 902-7-1.84 КЖИ-МН9 Изделие закладное МН9 ТП 902-7-1.84 КЖИ-МН10 Изделие закладное МН10 ТП 902-7-1.84 КЖИ-МН11 Изделие закладное МН11 ТП 902-7-1.84 КЖИ-МН12 Изделие закладное МН12 ТП 902-7-1.84 КЖИ-МН13 Изделие закладное МН13 ТП 902-7-1.84 КЖИ-МН14 Изделие закладное МН14 ТП 902-7-1.84 КЖИ-ЛГ Люк герметический ЛГ ТП 902-7-1.84 КЖИ-ПО Плита опорная ПО |
| Разработан: | Фундаментпроект |
| Утверждён: | 29.12.1982 Минмонтажспецстрой СССР (USSR Minmontazhspetsstroy ) |





























