Скачать ОСТ 108.958.03-96 Поковки стальные для энергетического оборудования. Методика ультразвукового контроляДата актуализации: 01.01.2021
|
| Обозначение: | ОСТ 108.958.03-96 |
| Обозначение англ: | OST 108.958.03-96 |
| Статус: | не определен законодательством |
| Название рус.: | Поковки стальные для энергетического оборудования. Методика ультразвукового контроля |
| Дата добавления в базу: | 01.01.2019 |
| Дата актуализации: | 01.01.2021 |
| Дата введения: | 01.06.1996 |
| Дата окончания срока действия: | 30.06.2003 |
| Область применения: | Стандарт распространяется на заготовки деталей энергетического и другого оборудования, изготовленные методом свободной ковки, прессовки, проката и штамповки из углеродистых и легированных сталей, в том числе аустенитных, имеющих форму параллелепипеда с размером сторон 10 мм и более, сплошного цилиндра диаметром 100 мм и более, а также изделий более сложной конфигурации, включающей несколько указанных выше форм |
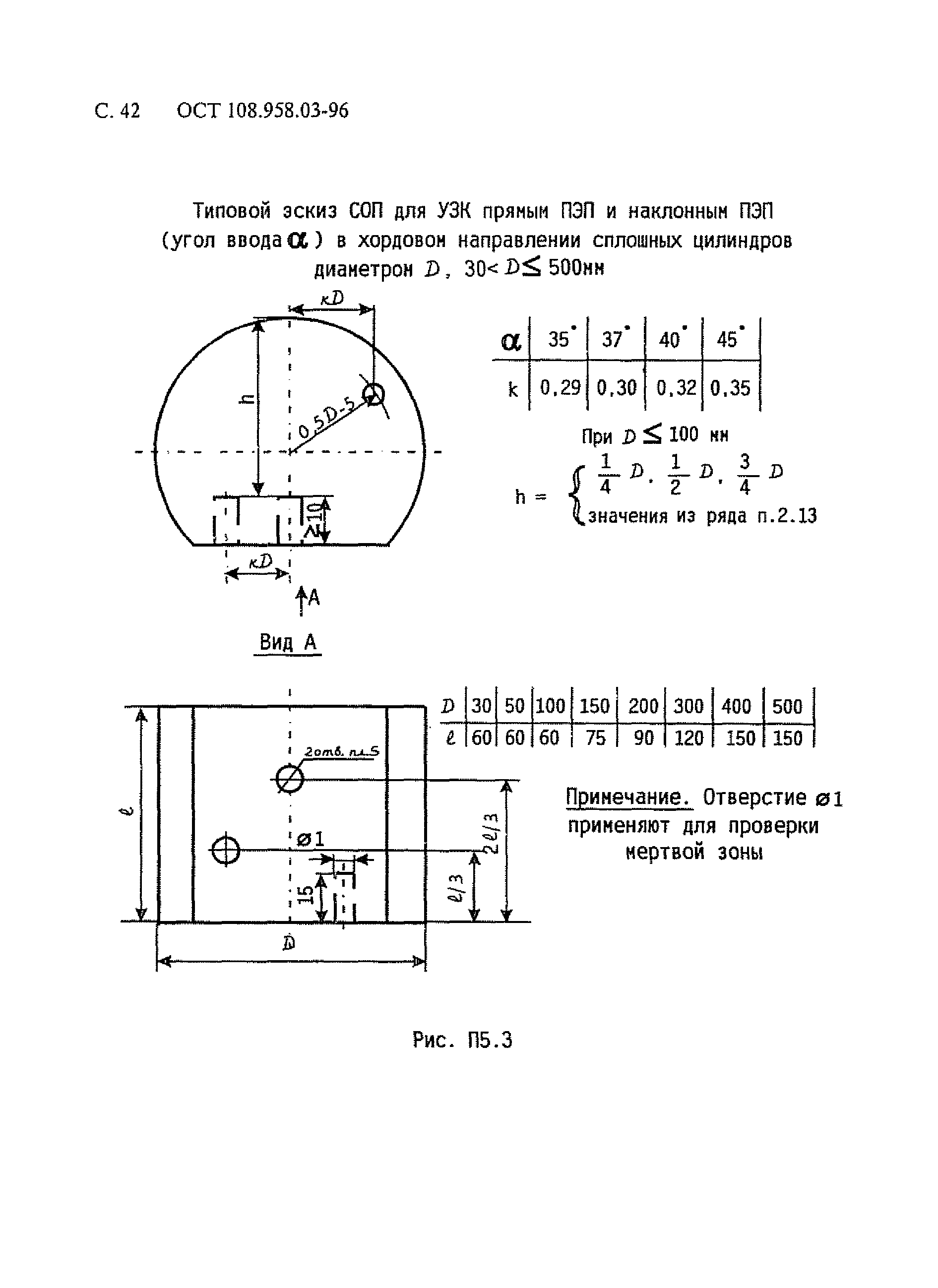
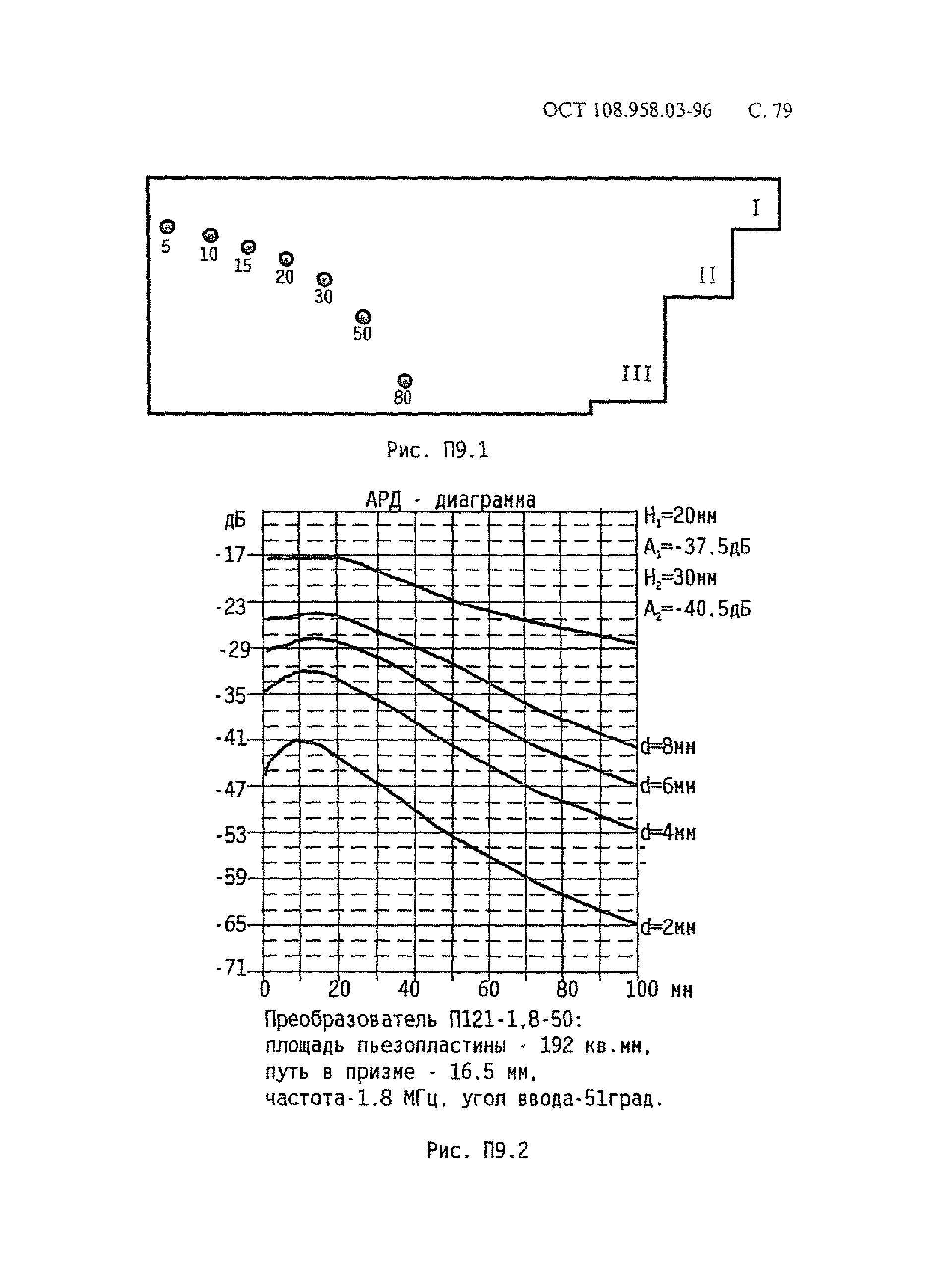
| Оглавление: | 1 Общие положения 2 Квалификация инженерно-технических работников и дефектоскопистов 3 Оборудование участка ультразвукового контроля 4 Объем контроля 5 Аппаратура и стандартные образцы 6 Подготовка к контролю 7 Проведение контроля 8 Оформление результатов контроля 9 Требования безопасности Приложение 1. Показатели технических требований к изделиям по результатам контроля Приложение 2. Способы сопряжения контактной поверхности наклонного преобразователя с поверхностью изделия Приложение 3. Приспособление для придания наклонному преобразователю стабильного положения при контроле по цилиндрической или сферической поверхности изделия Приложение 4. Особенности методики автоматизированного контроля изделий Приложение 5. Указания по изготовлению и аттестации стандартных образцов предприятия Приложение 6. Составы и способы приготовления специальных контактных смазок Приложение 7. Методика измерения коэффициента затухания ультразвука Приложение 8. Способы настройки чувствительности контроля и оценки размеров несплошностей Приложение 9. Методика построения АРД-диаграмм с помощью системы "АРД-универсал" Приложение 10. Минимальный объем сведений, который должен содержаться в технологической карте Приложение 11. Форма рабочего журнала по ультразвуковому контролю Приложение 12. Форма заключения по ультразвуковому контролю Информационные данные |
| Разработан: | НПО ЦНИИТМАШ |
| Утверждён: | НПО ЦНИИТМАШ |
| Принят: | 20.06.1996 Госгортехнадзор РФ (Russian Federation Gosgortekhnadzor 12-6/604) 28.06.1996 Госатомнадзор РФ (14-20/115) |
| Заменяет собой: |
|
| Нормативные ссылки: |
|






















































































