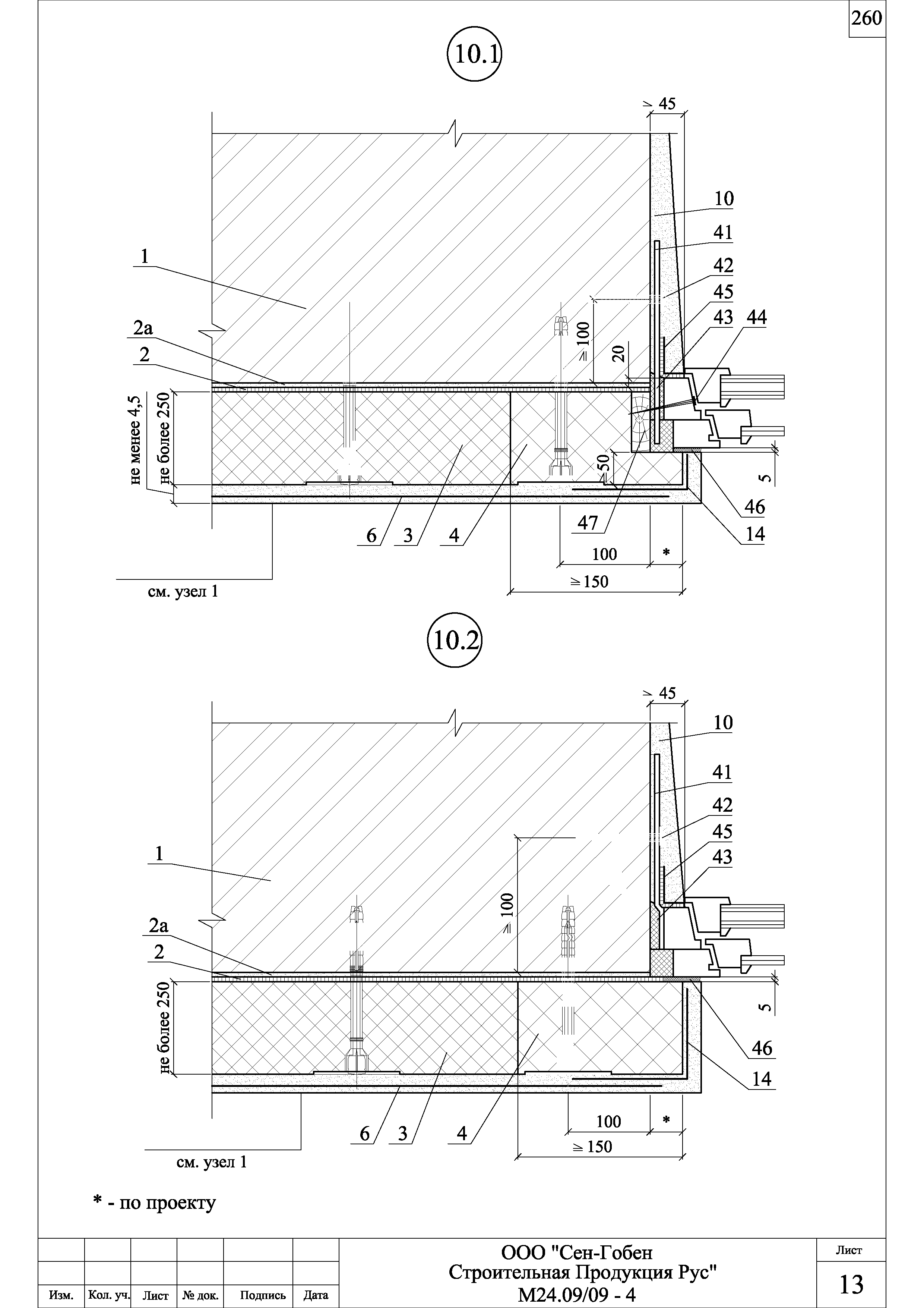
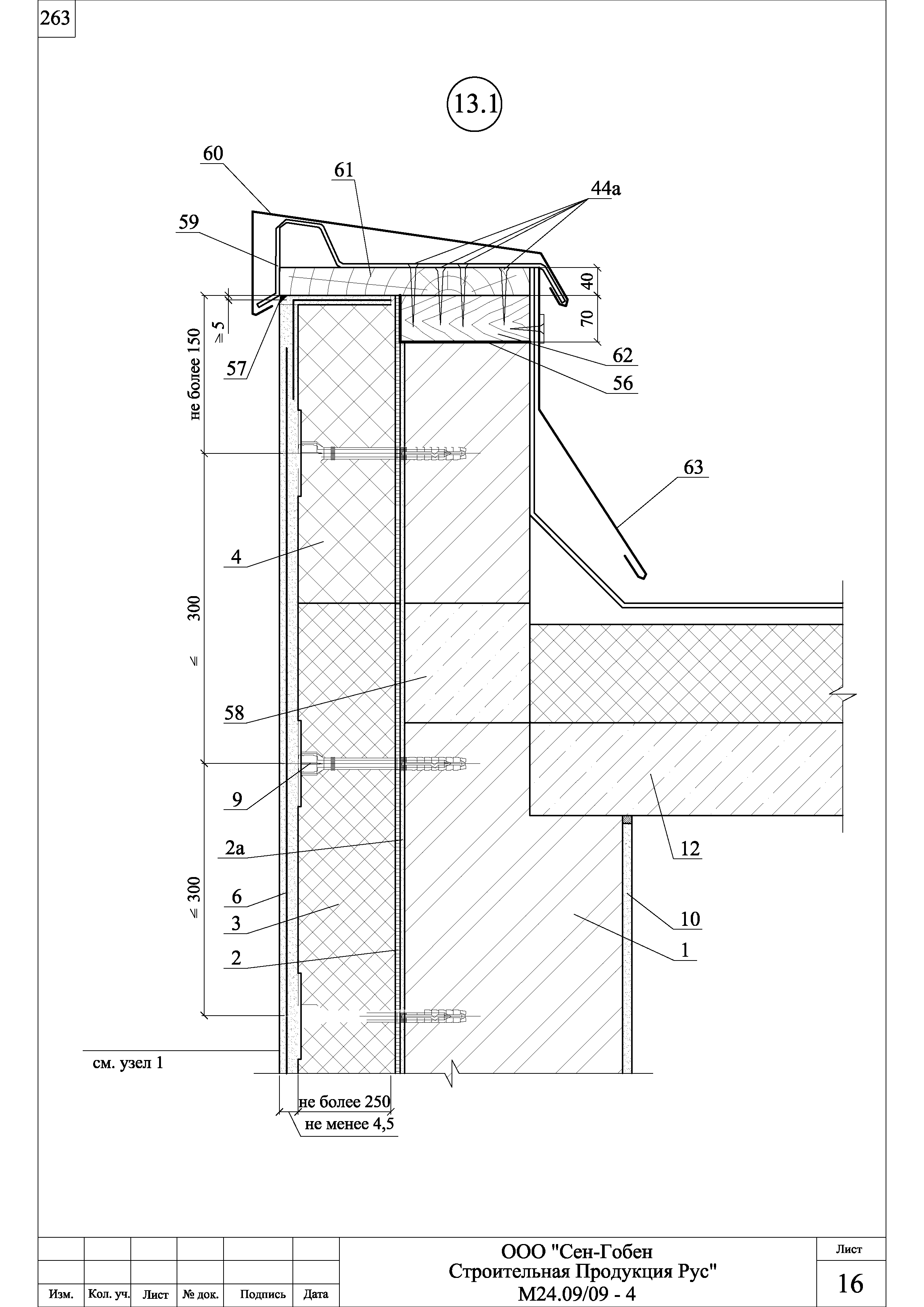
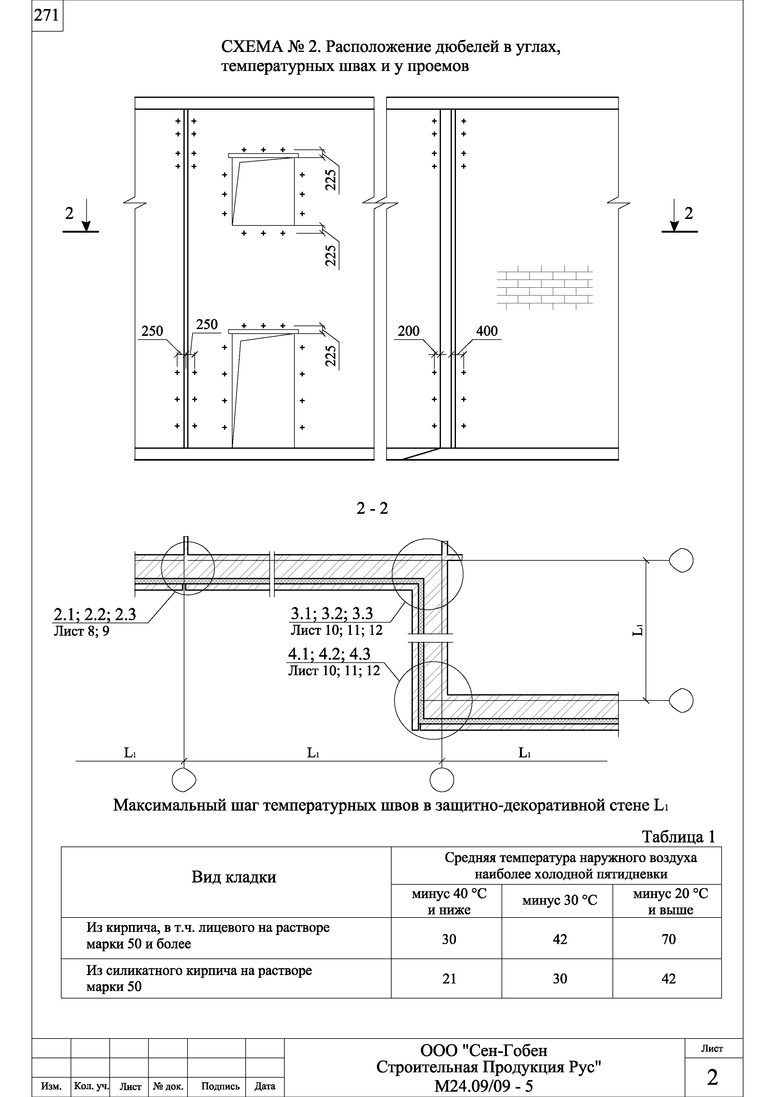
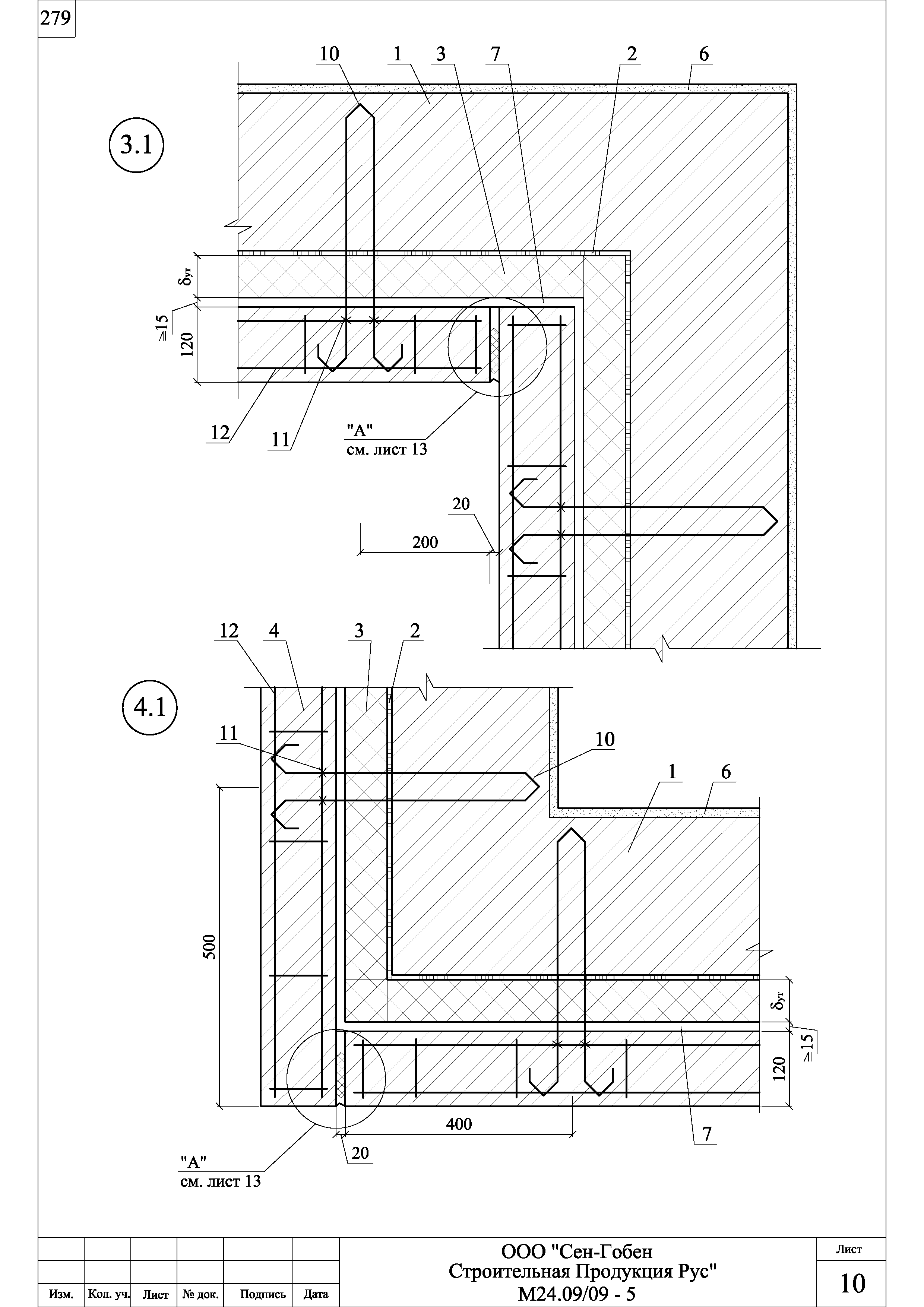
Скачать Шифр М24.09/09 Стены, покрытия, гидроизоляция, полы и перегородки с применением мастик, паст, сухих смесей, синтетических, полимерных и полимерцементных составов производства ООО Сен-Гобен Строительная Продукция Рус. Материалы для проектирования и чертежи узловДата актуализации: 01.01.2021 Шифр М24.09/09
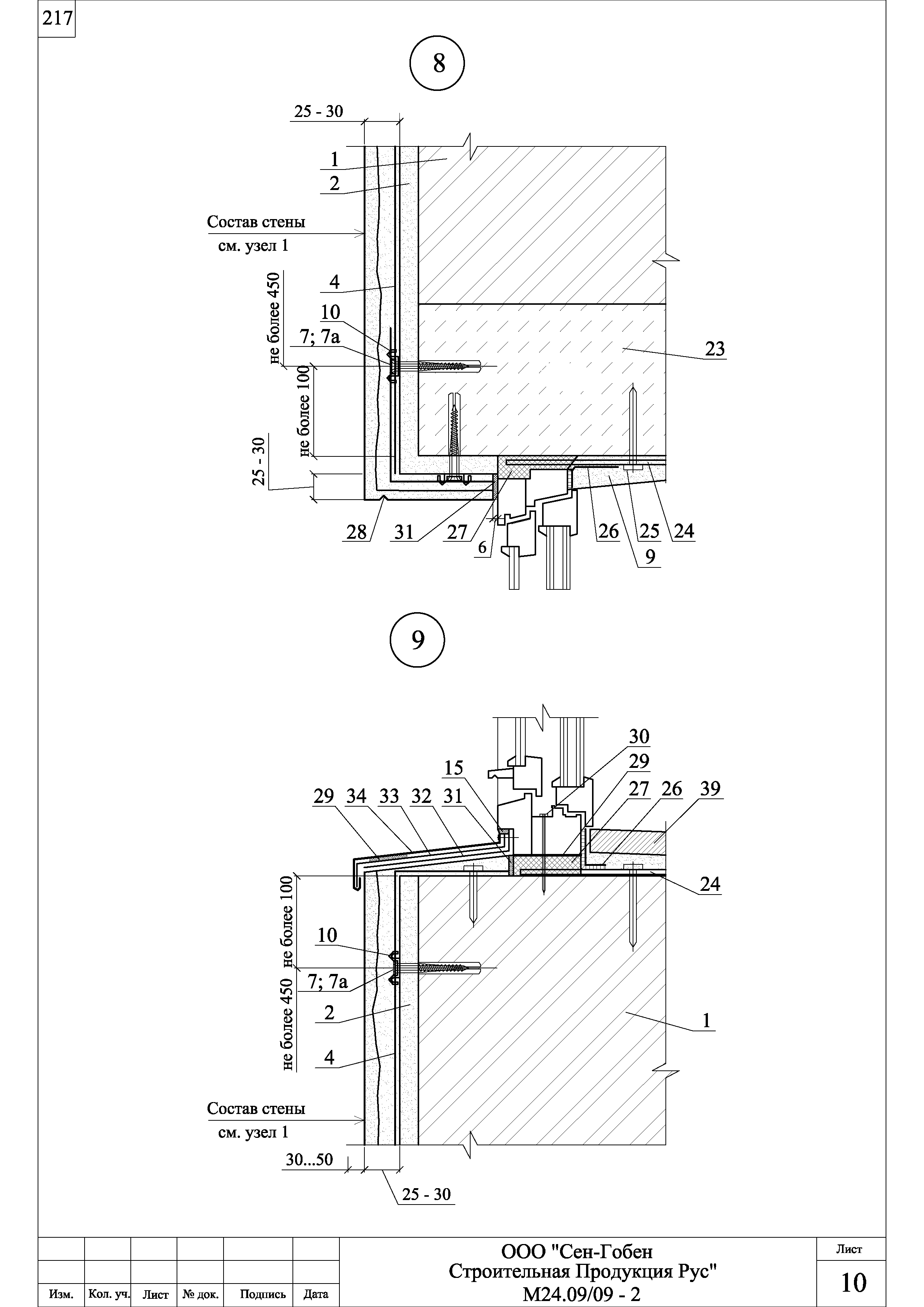
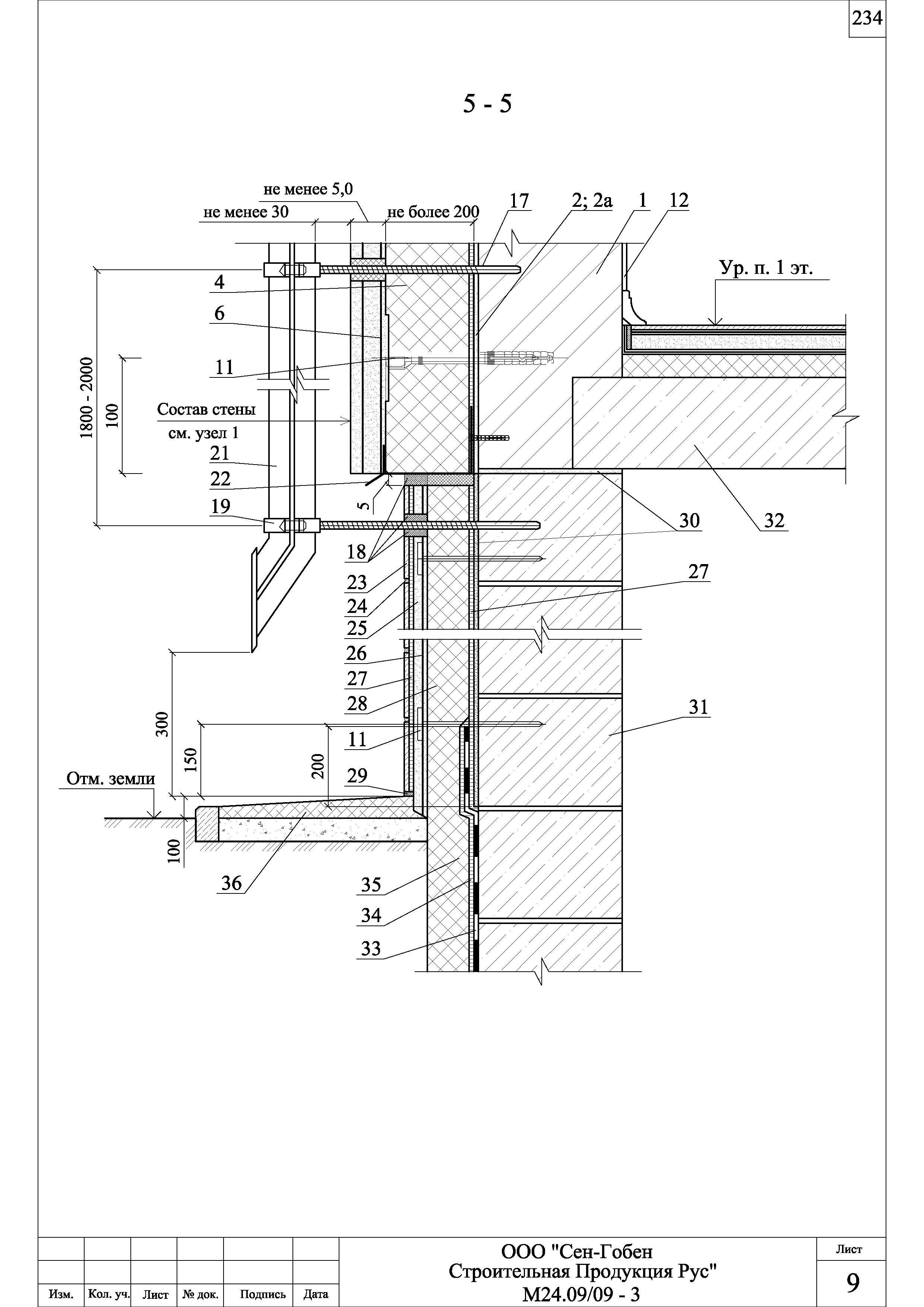
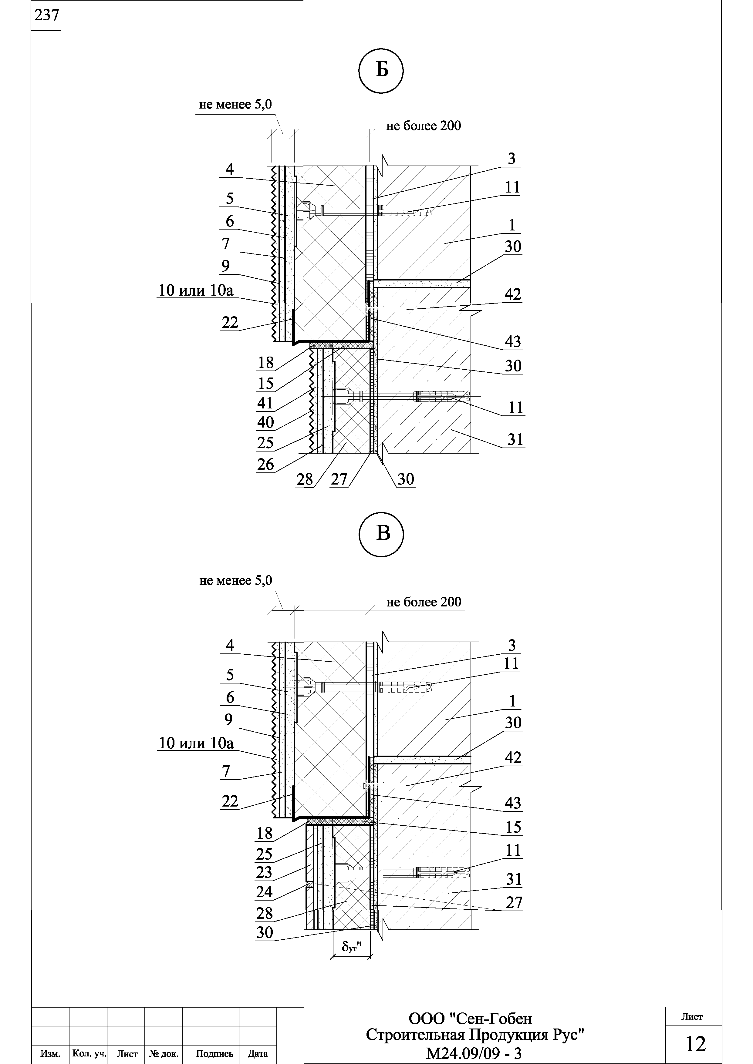
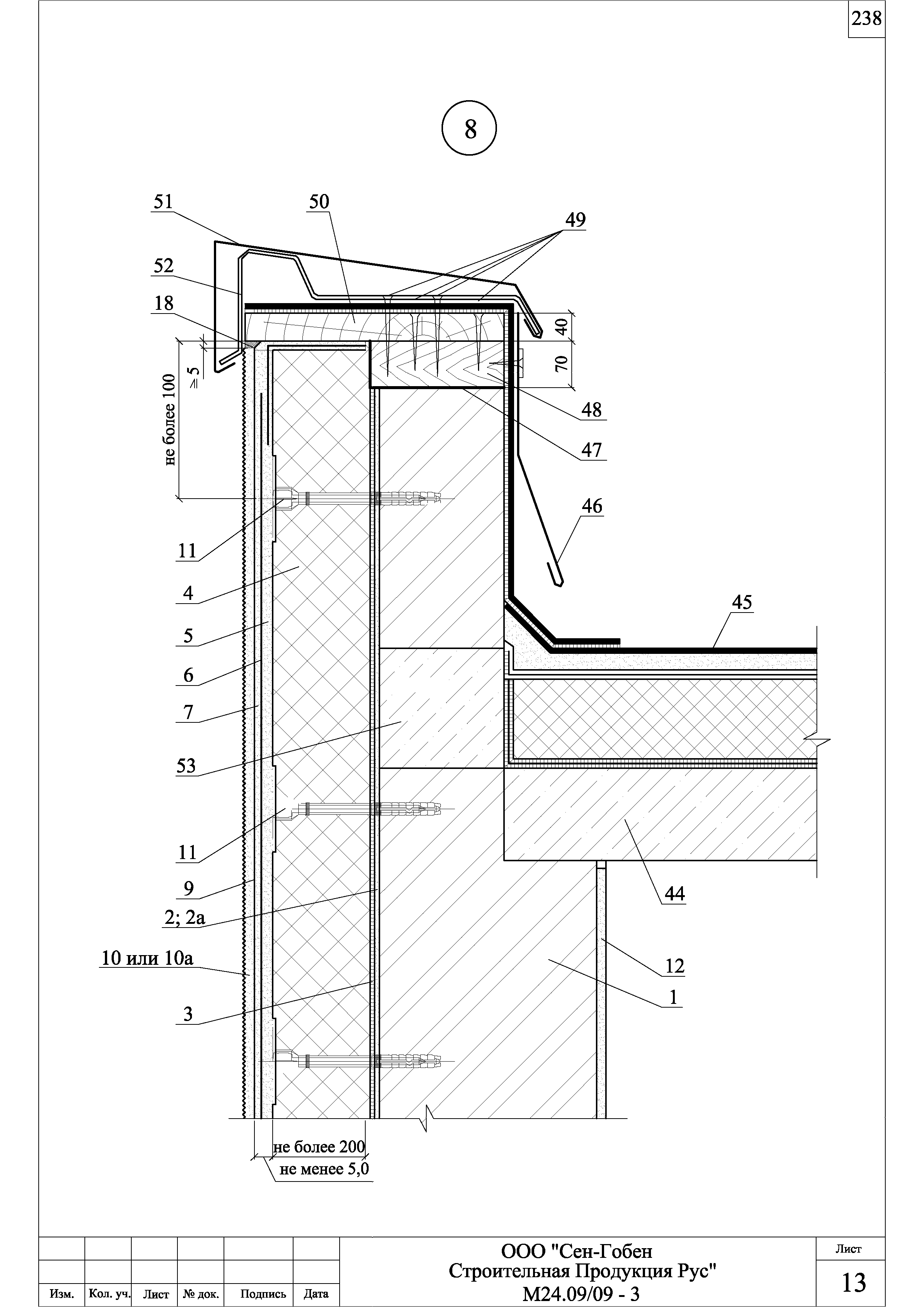
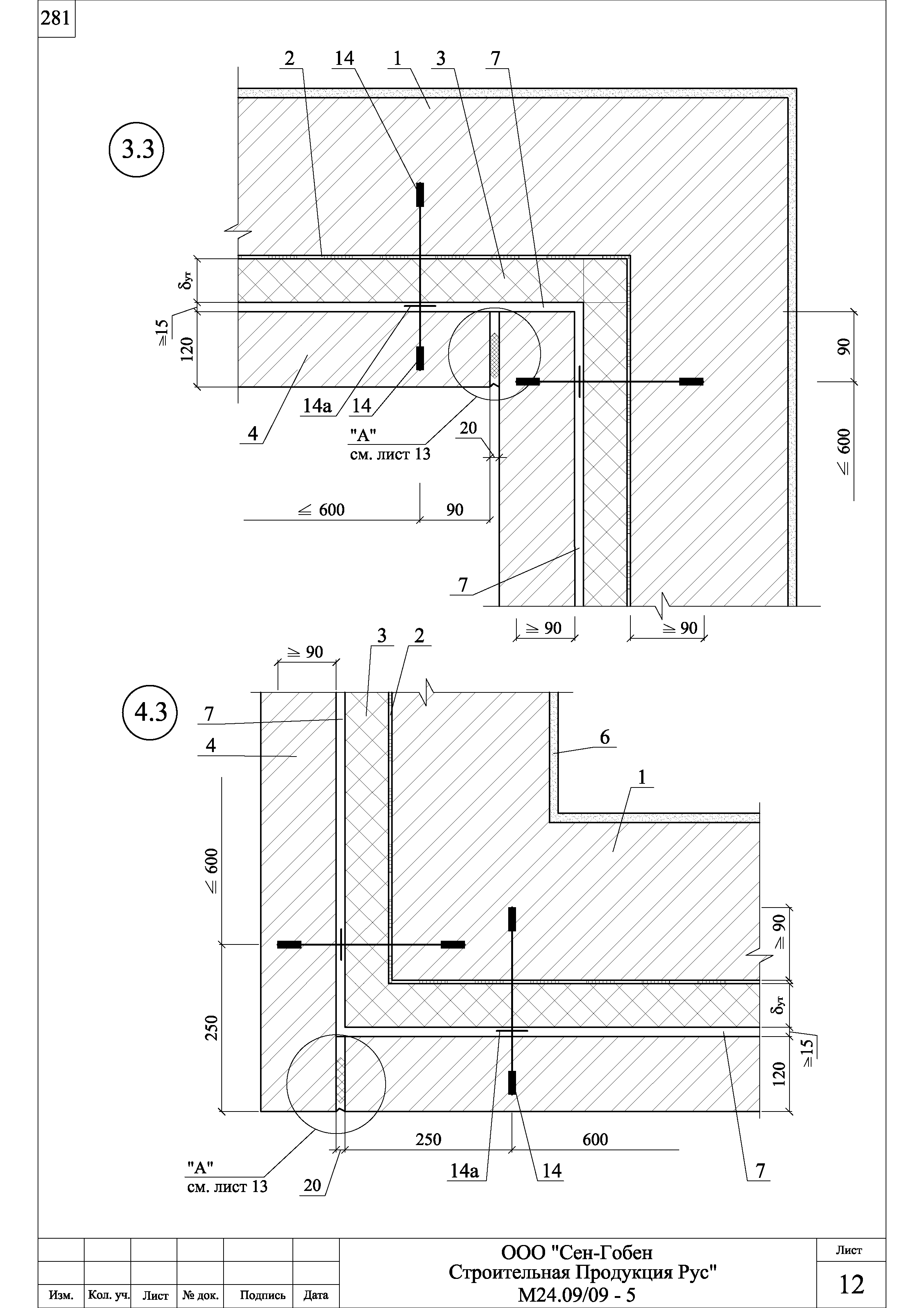
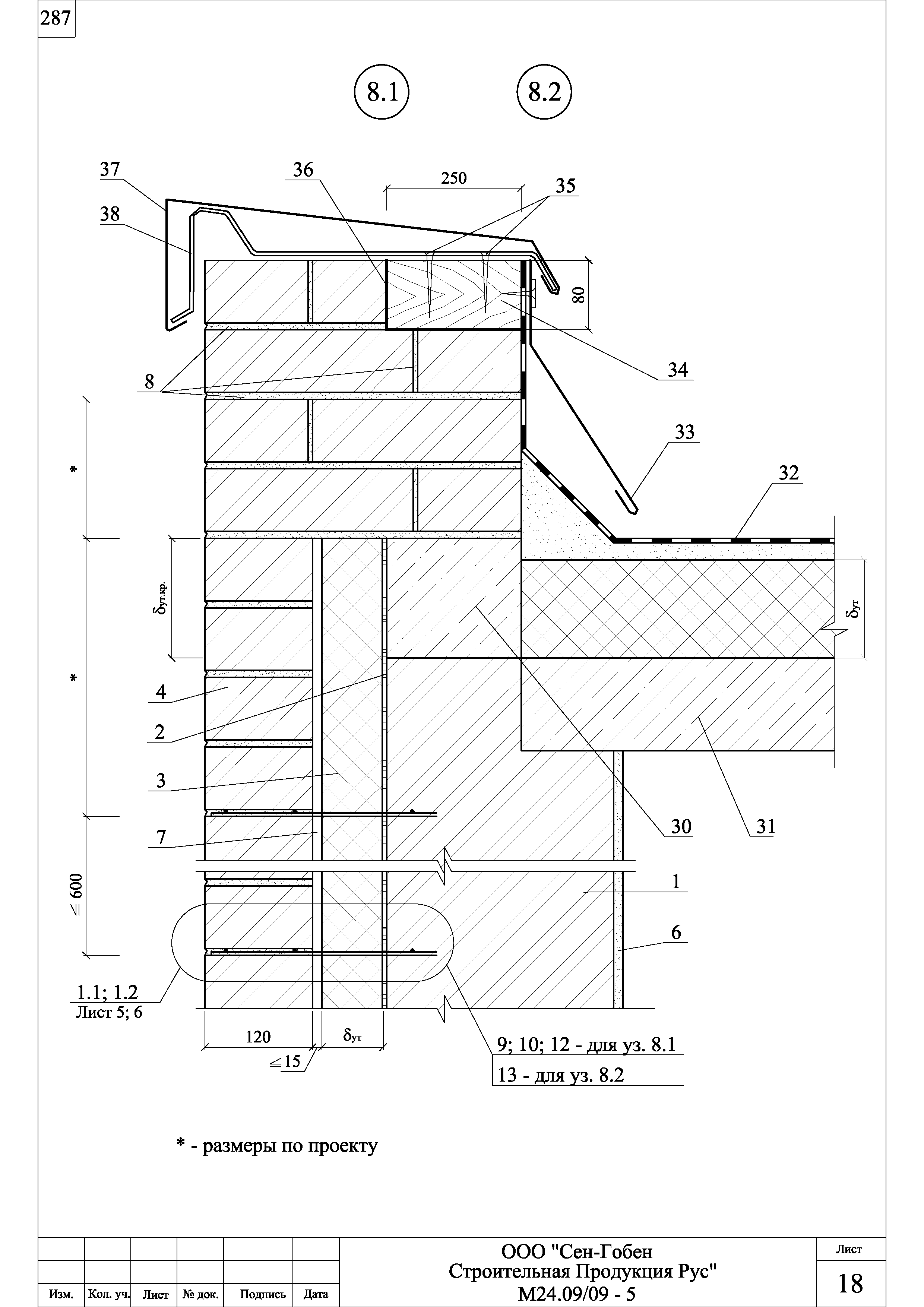
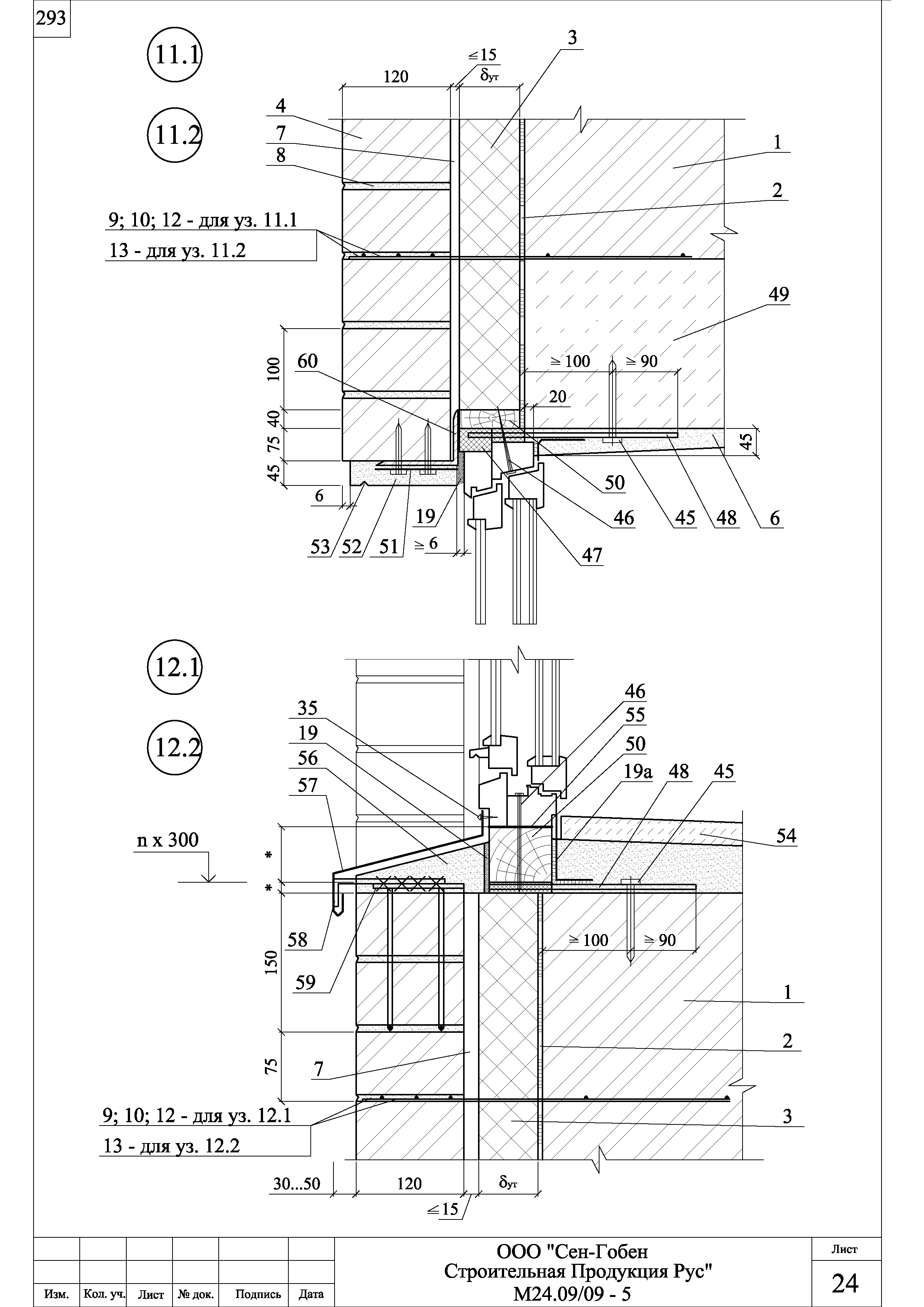
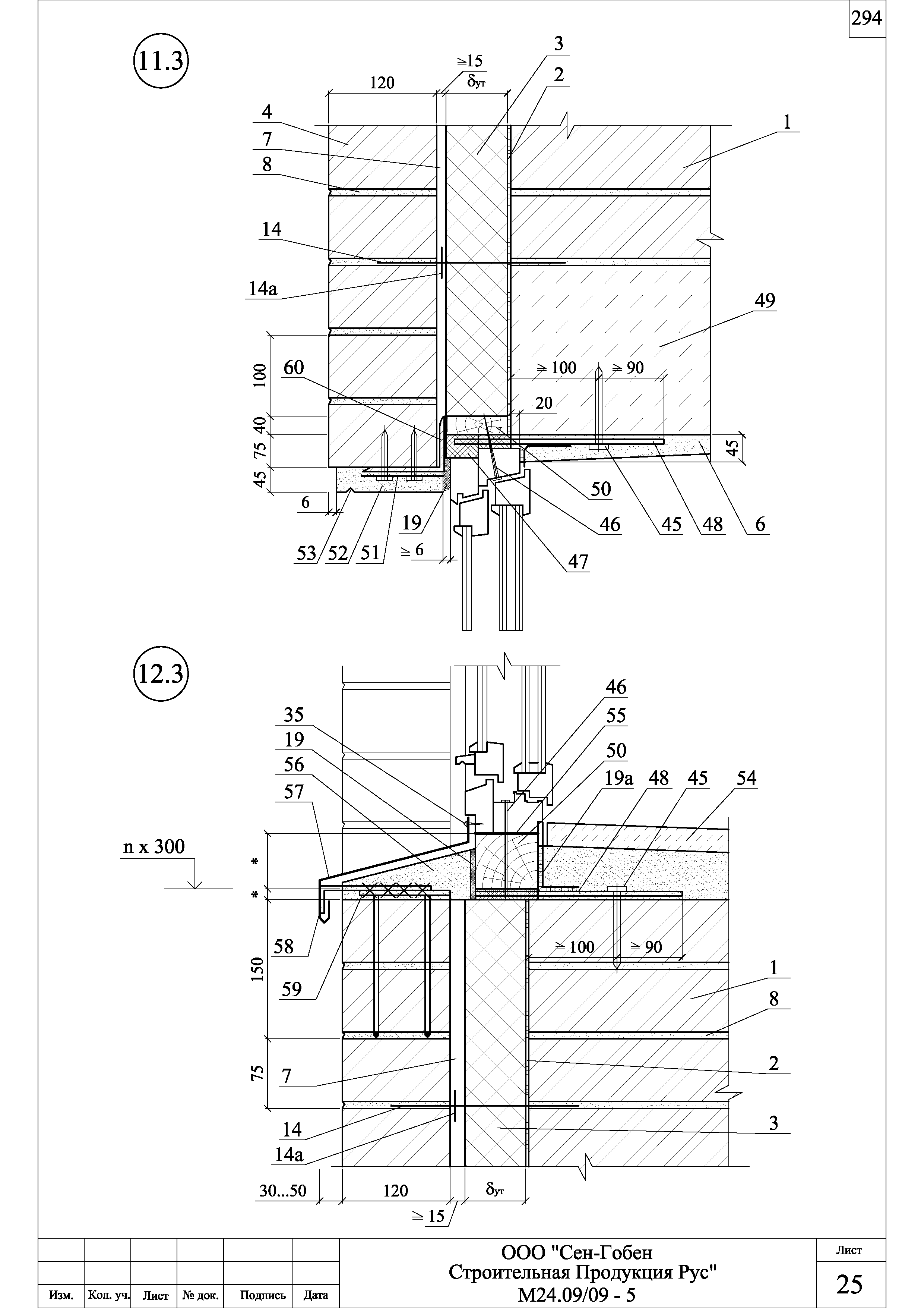
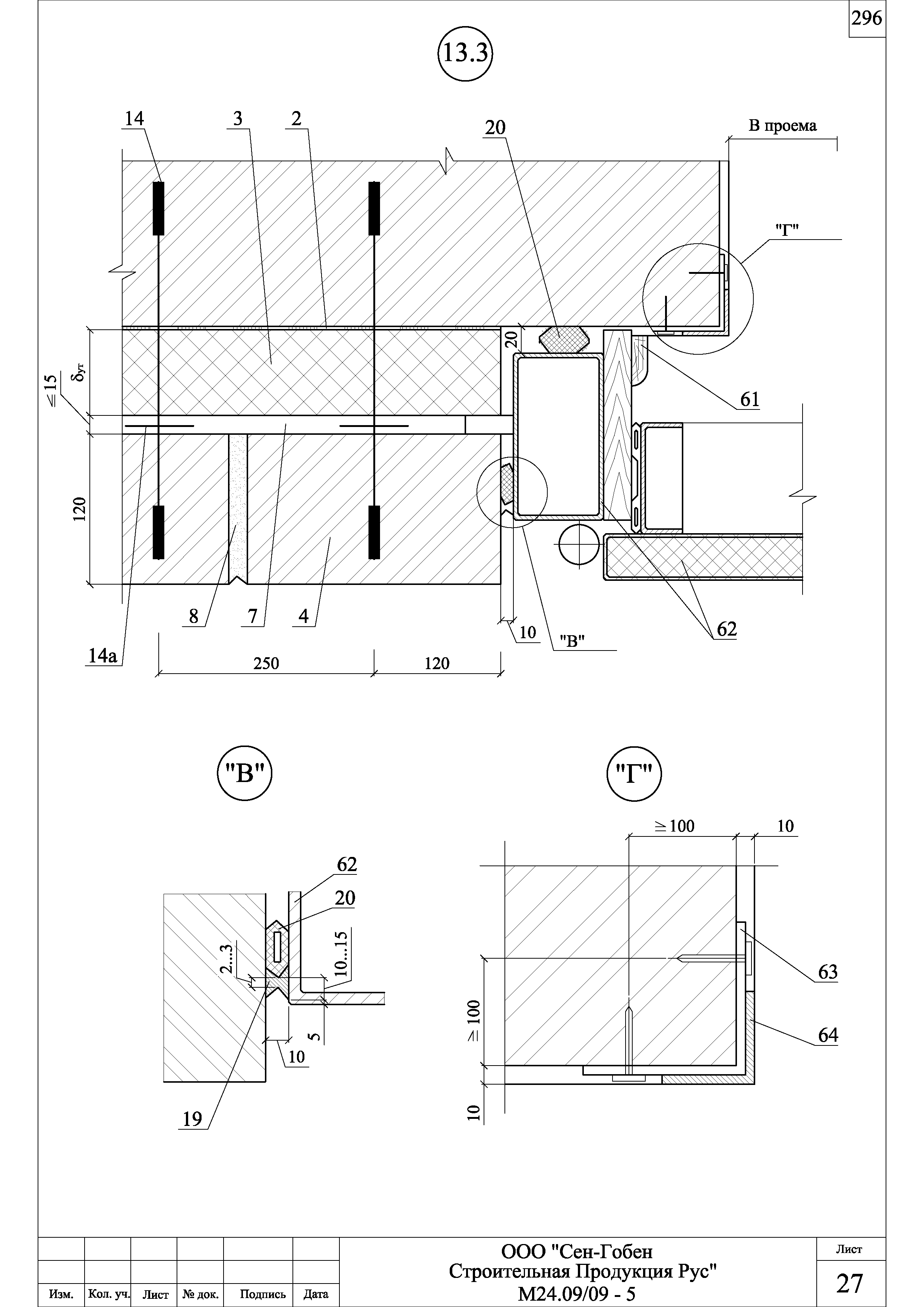
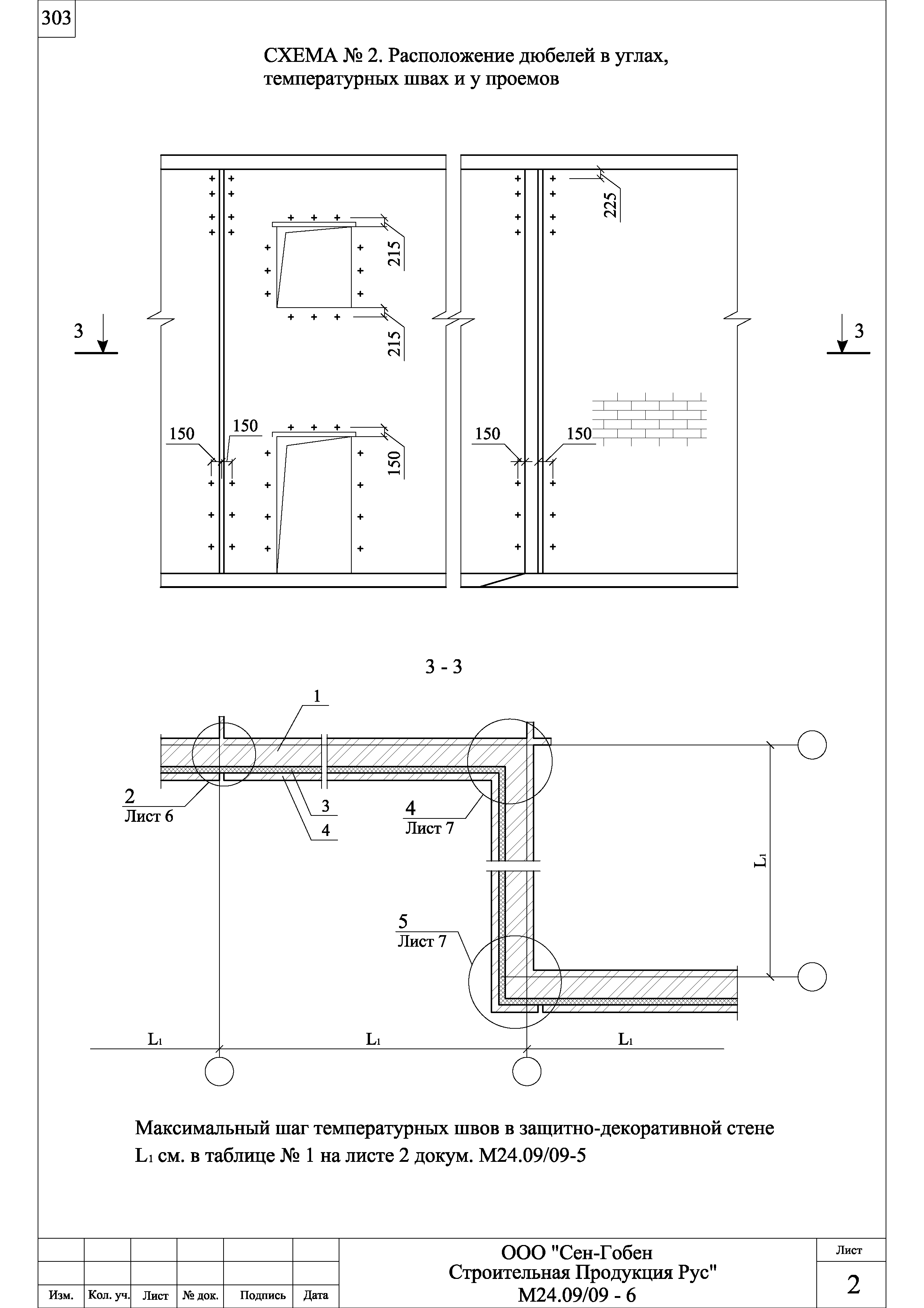
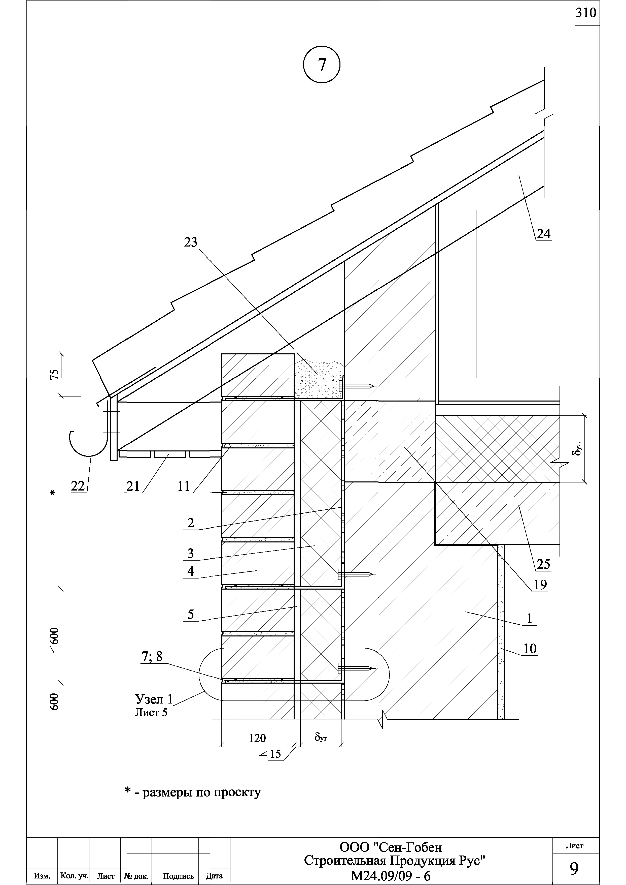
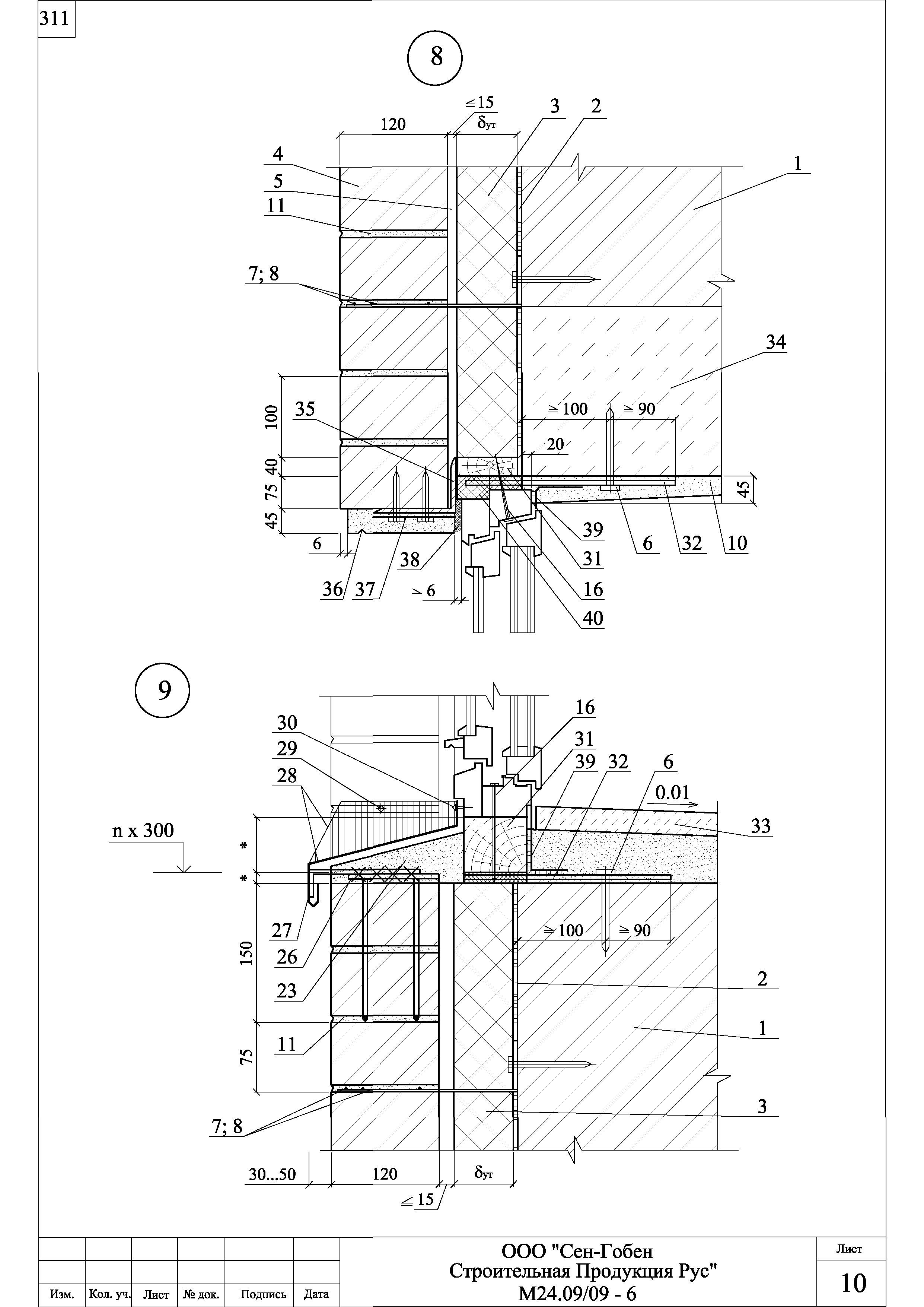
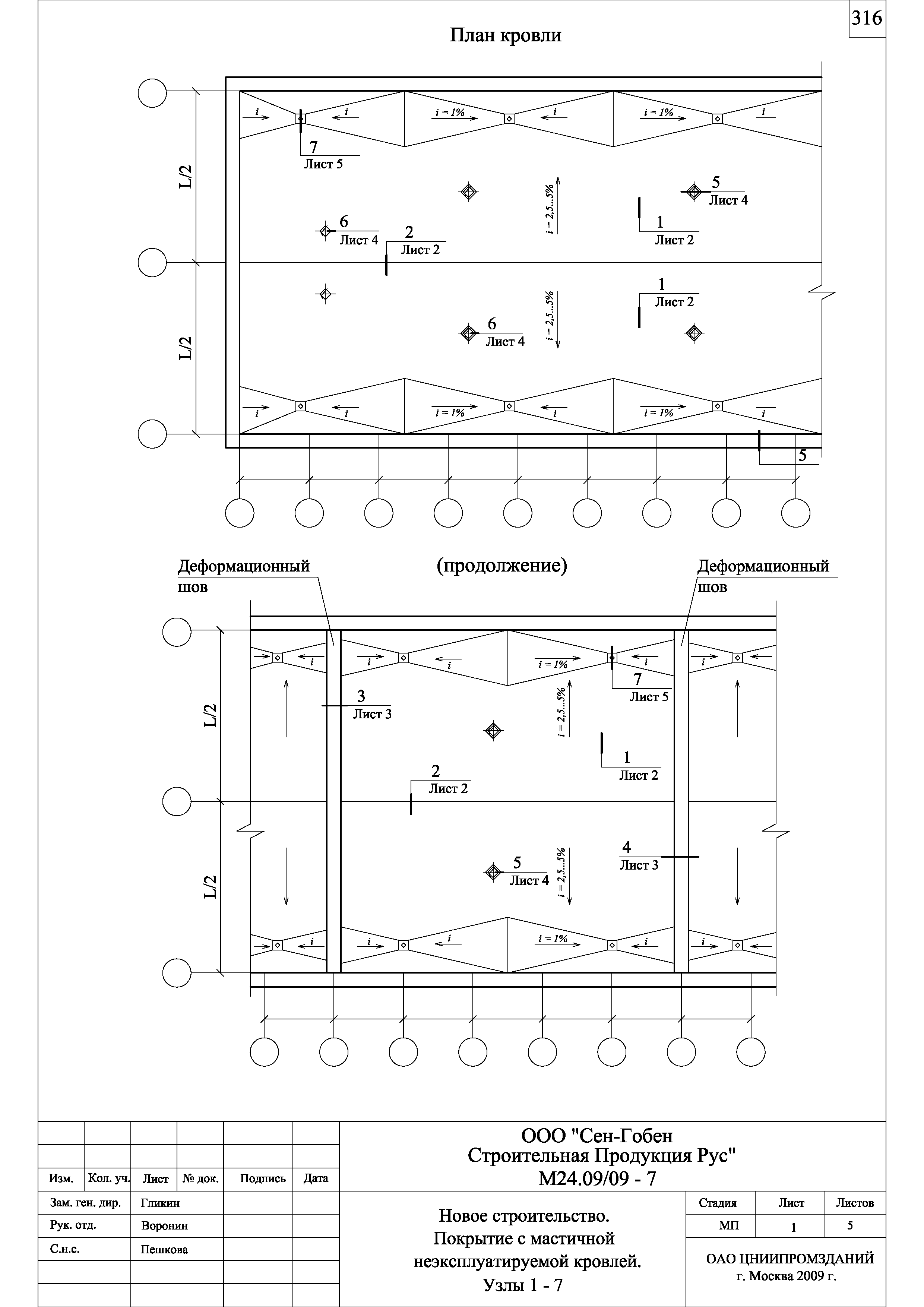
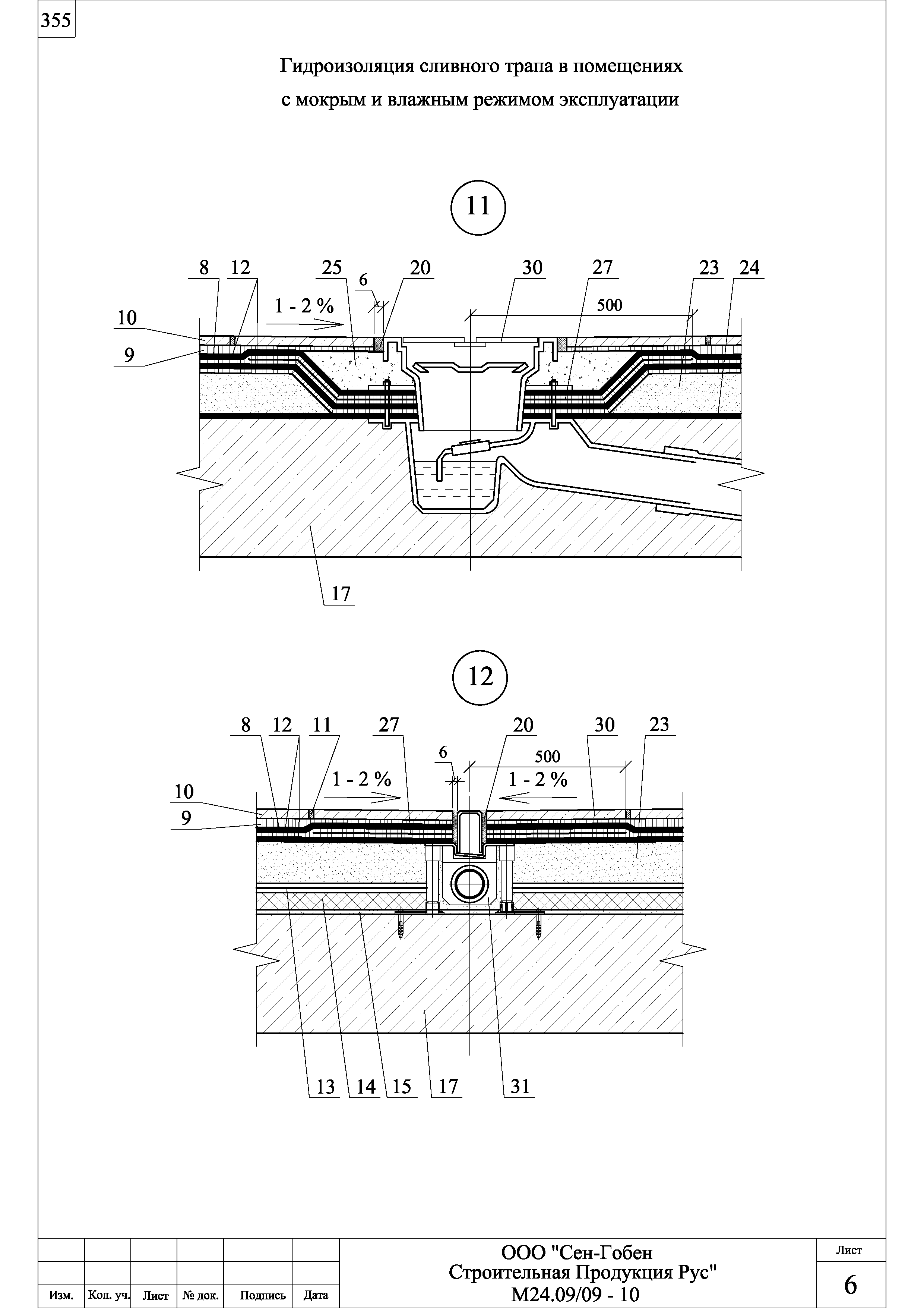
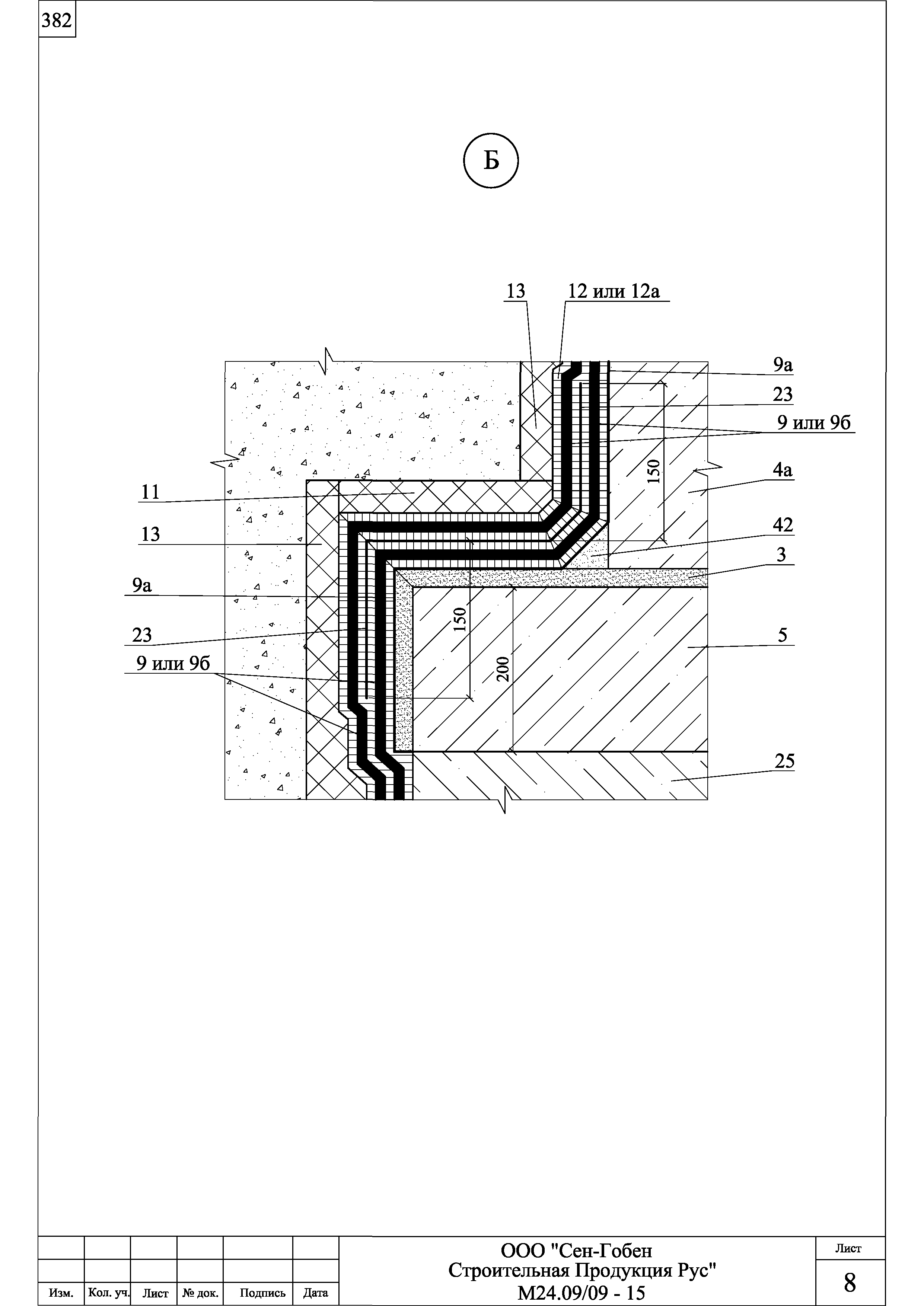
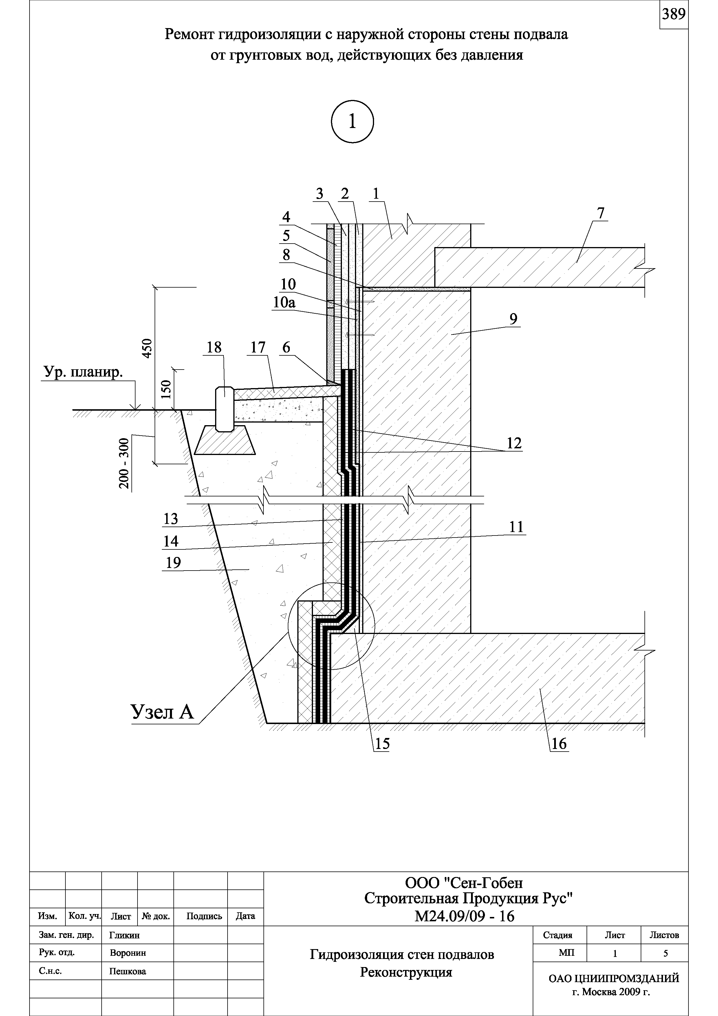
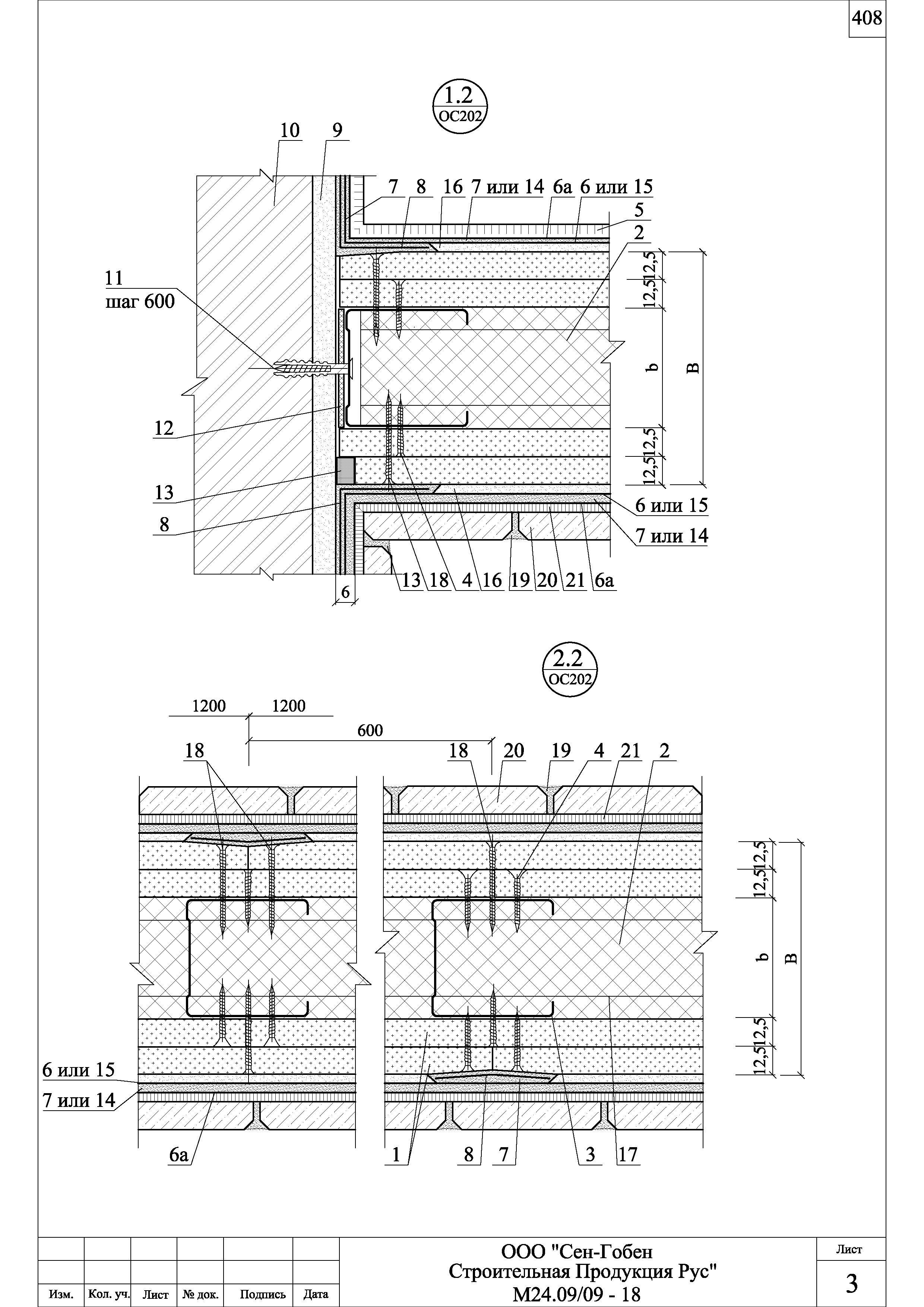
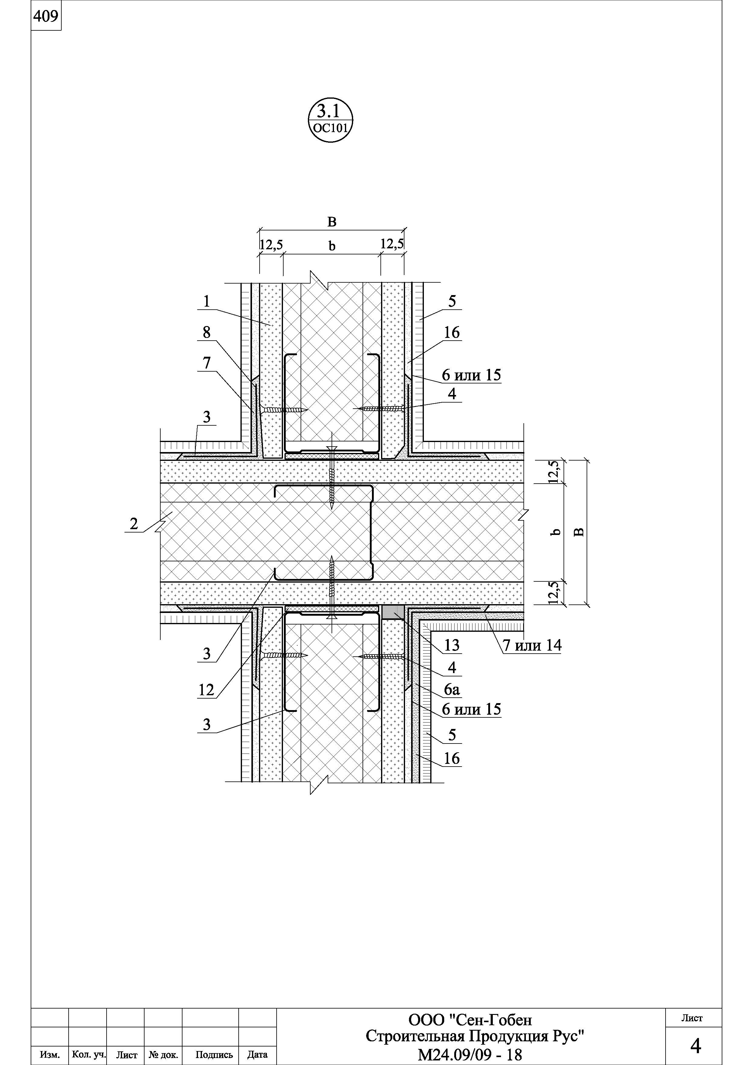
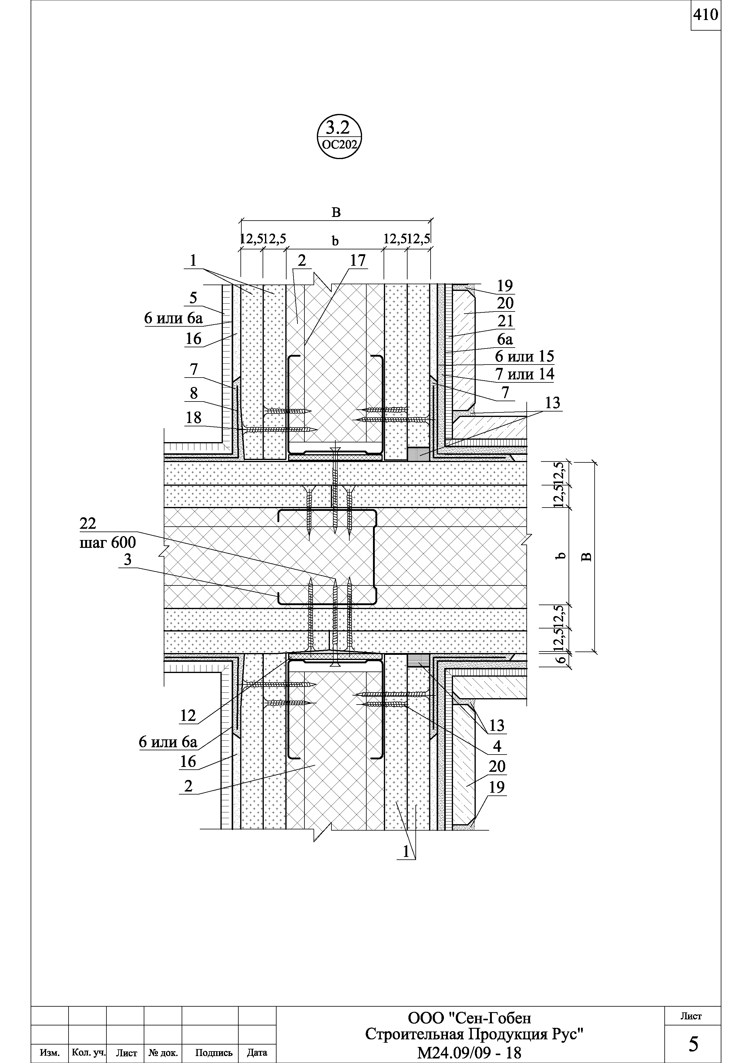
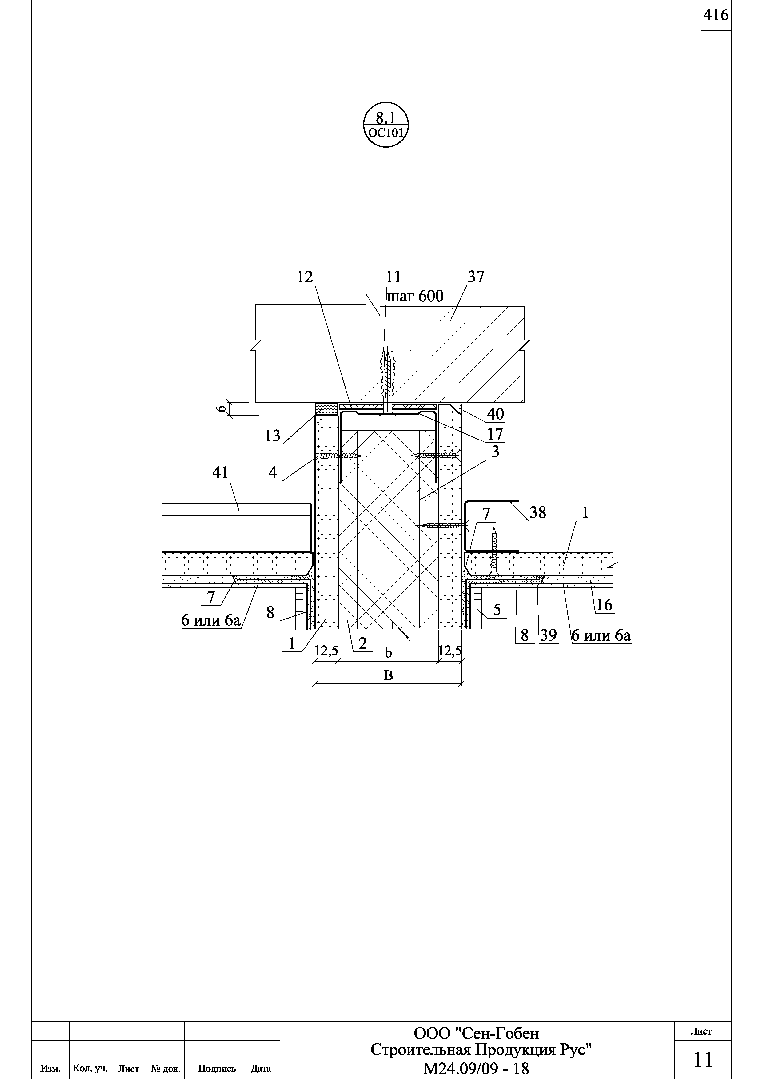
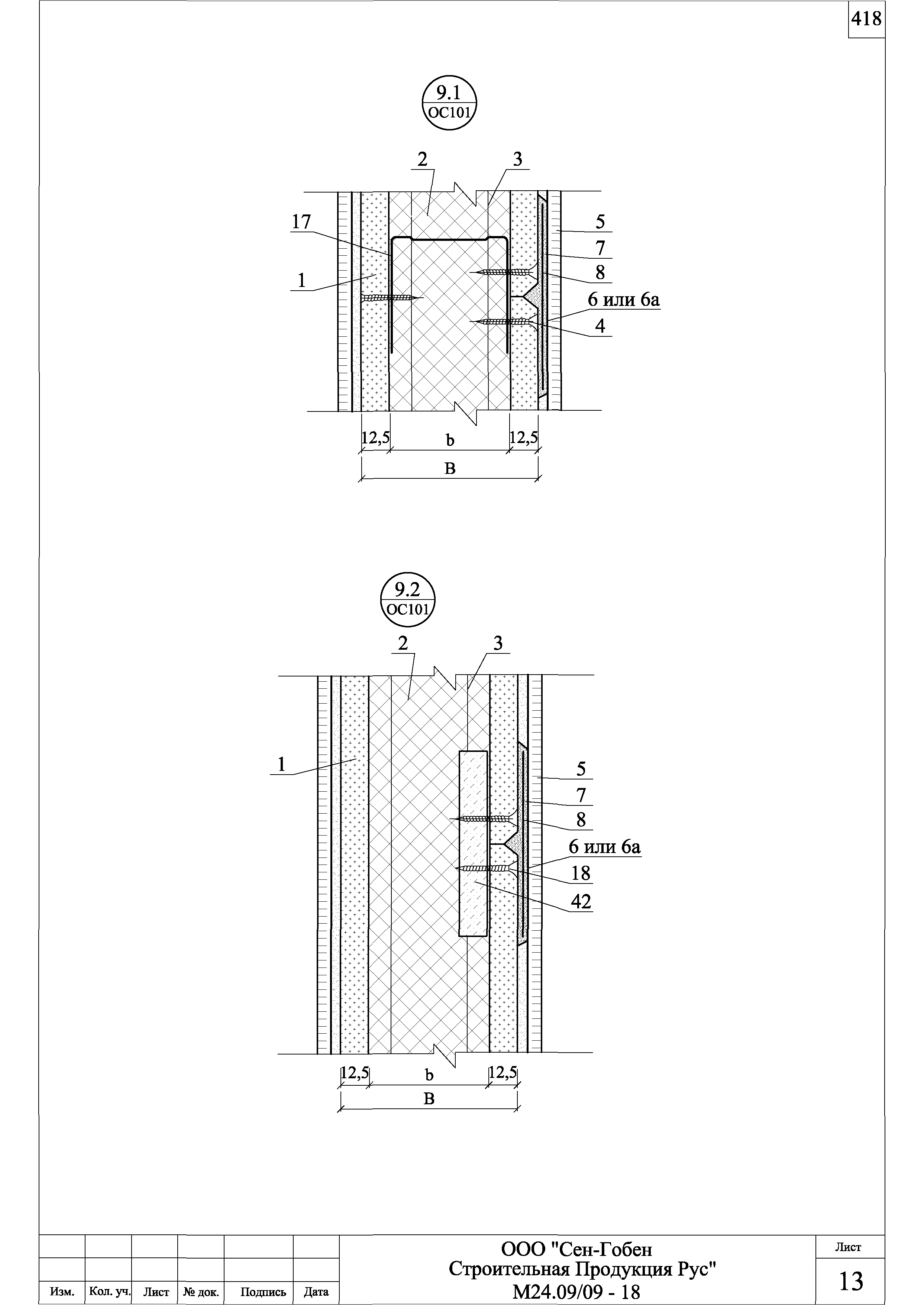
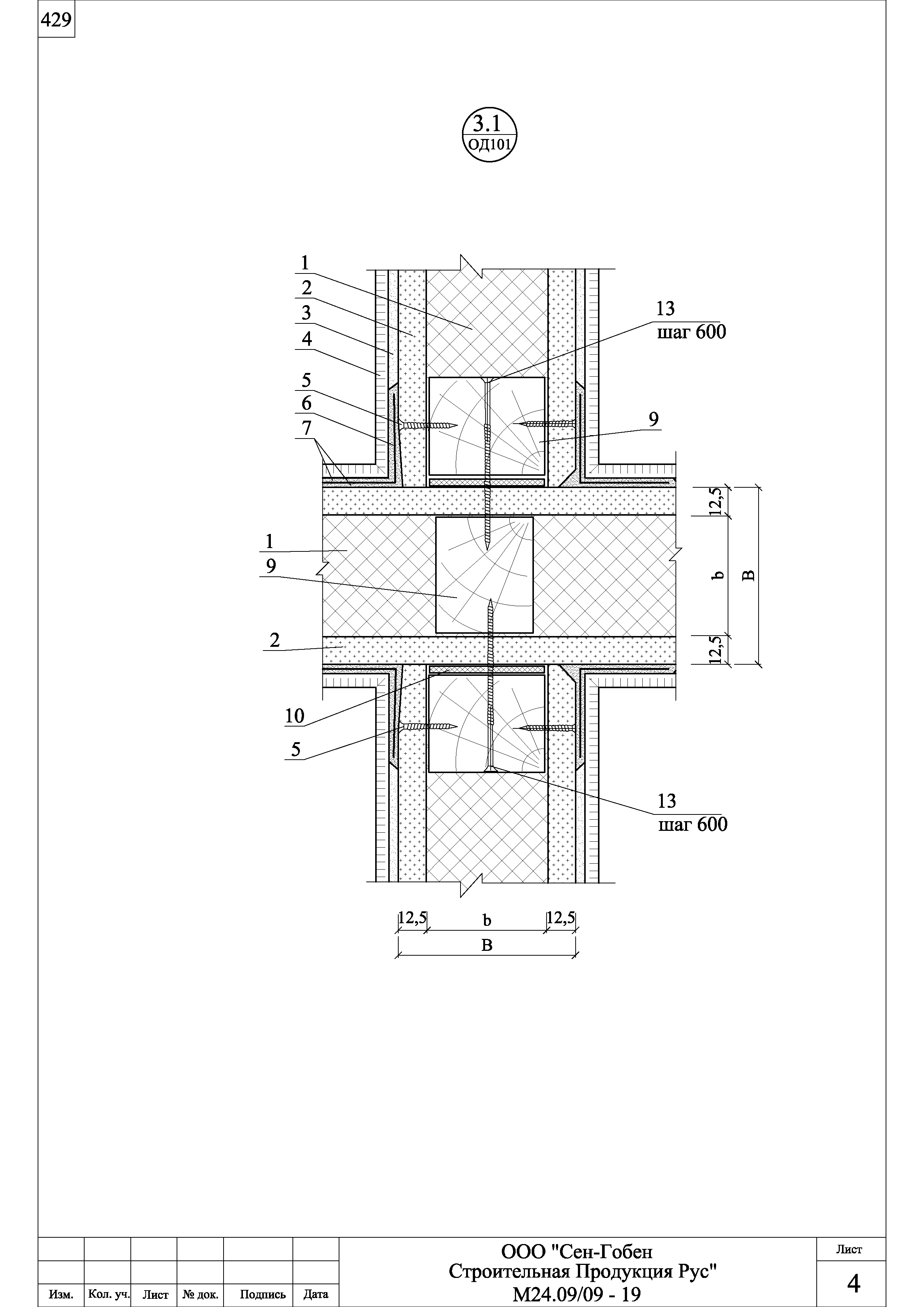
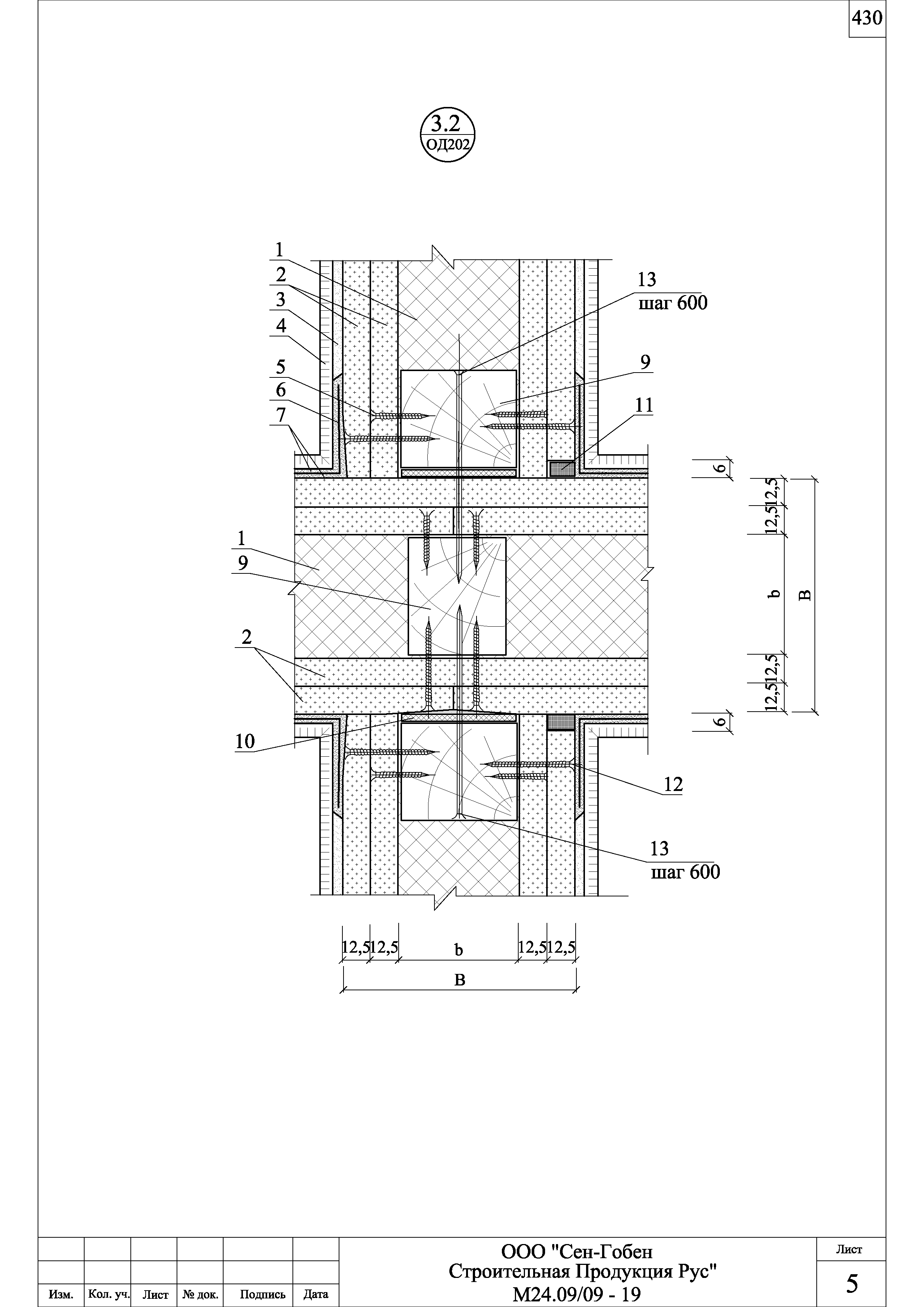
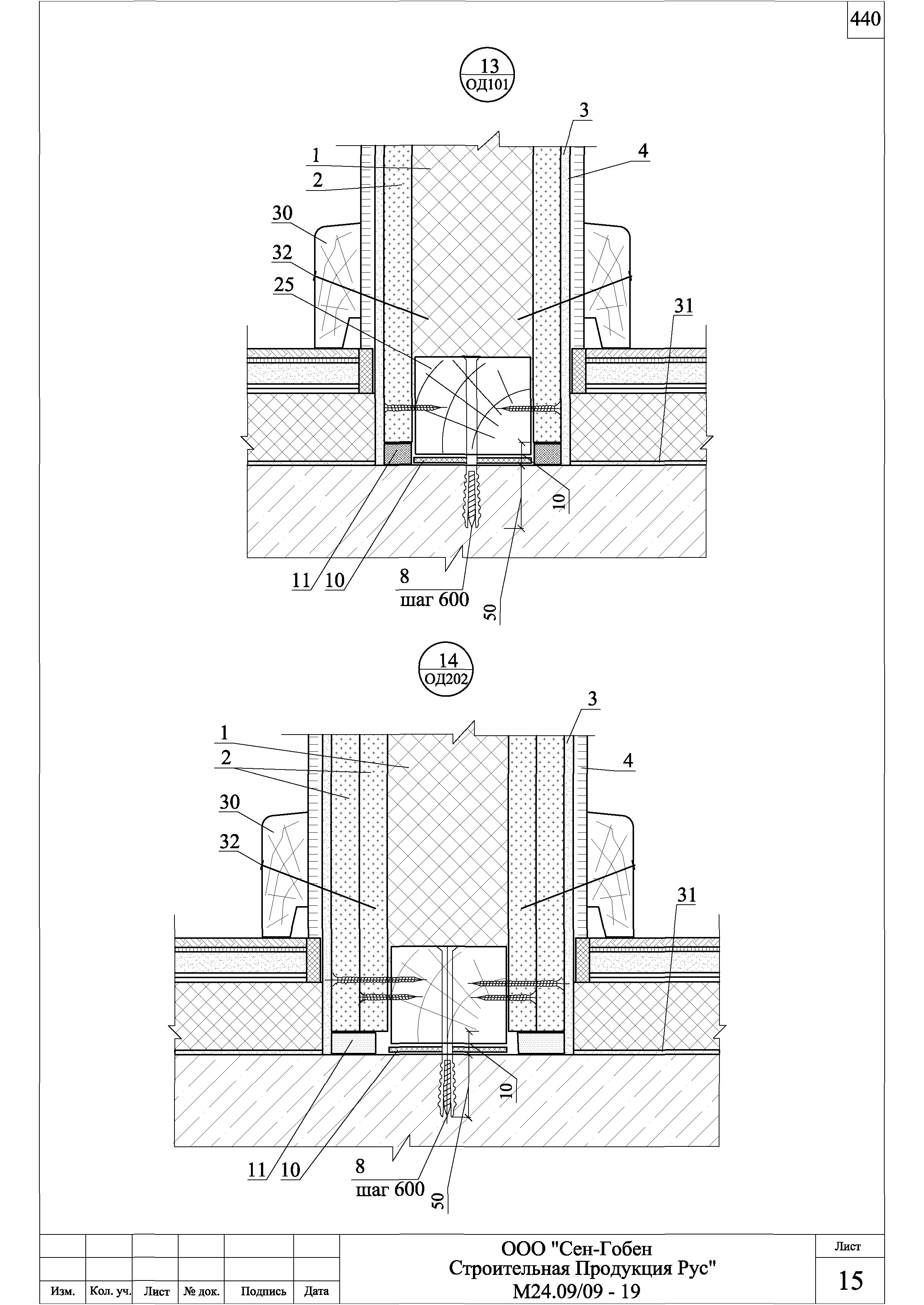
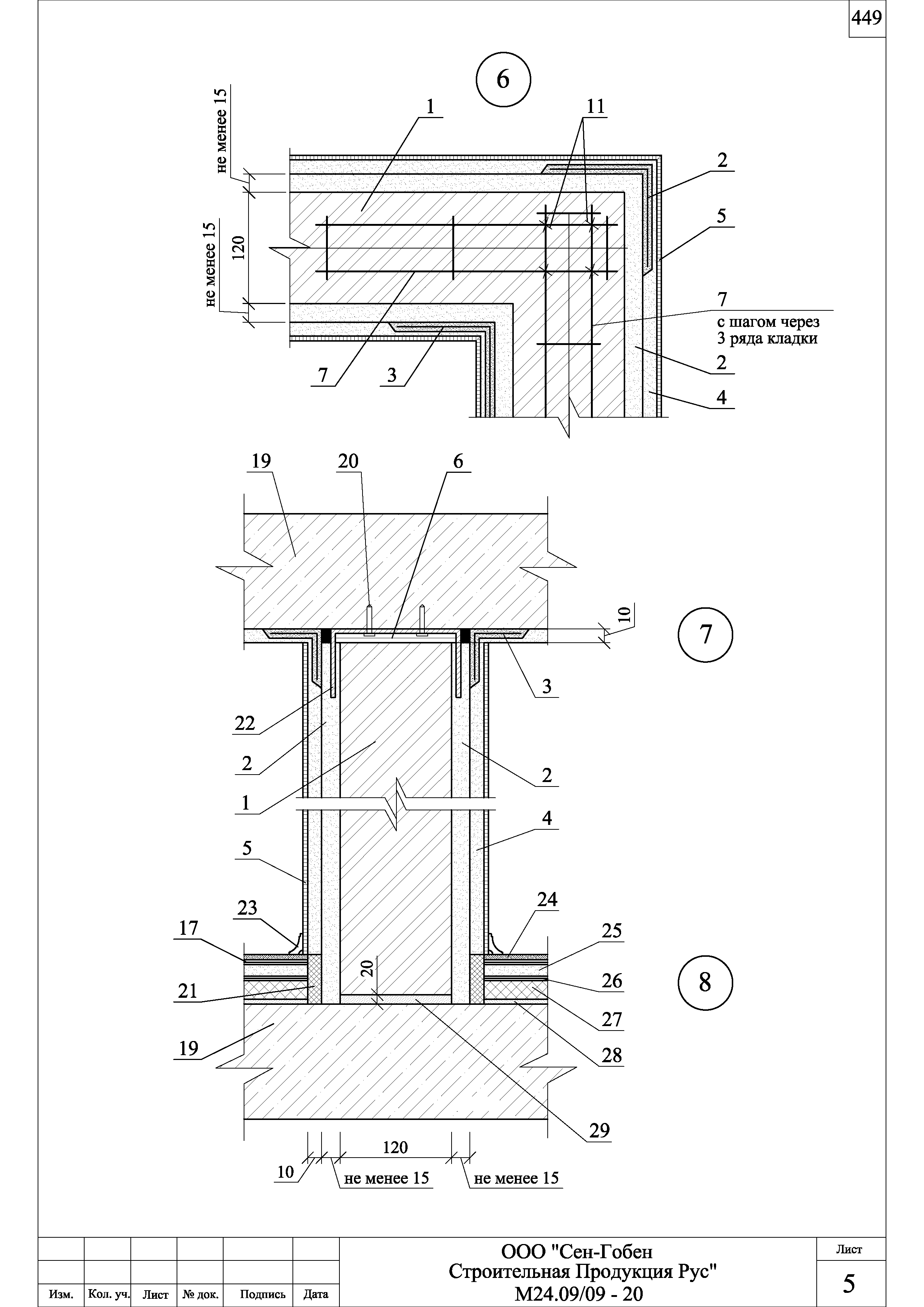
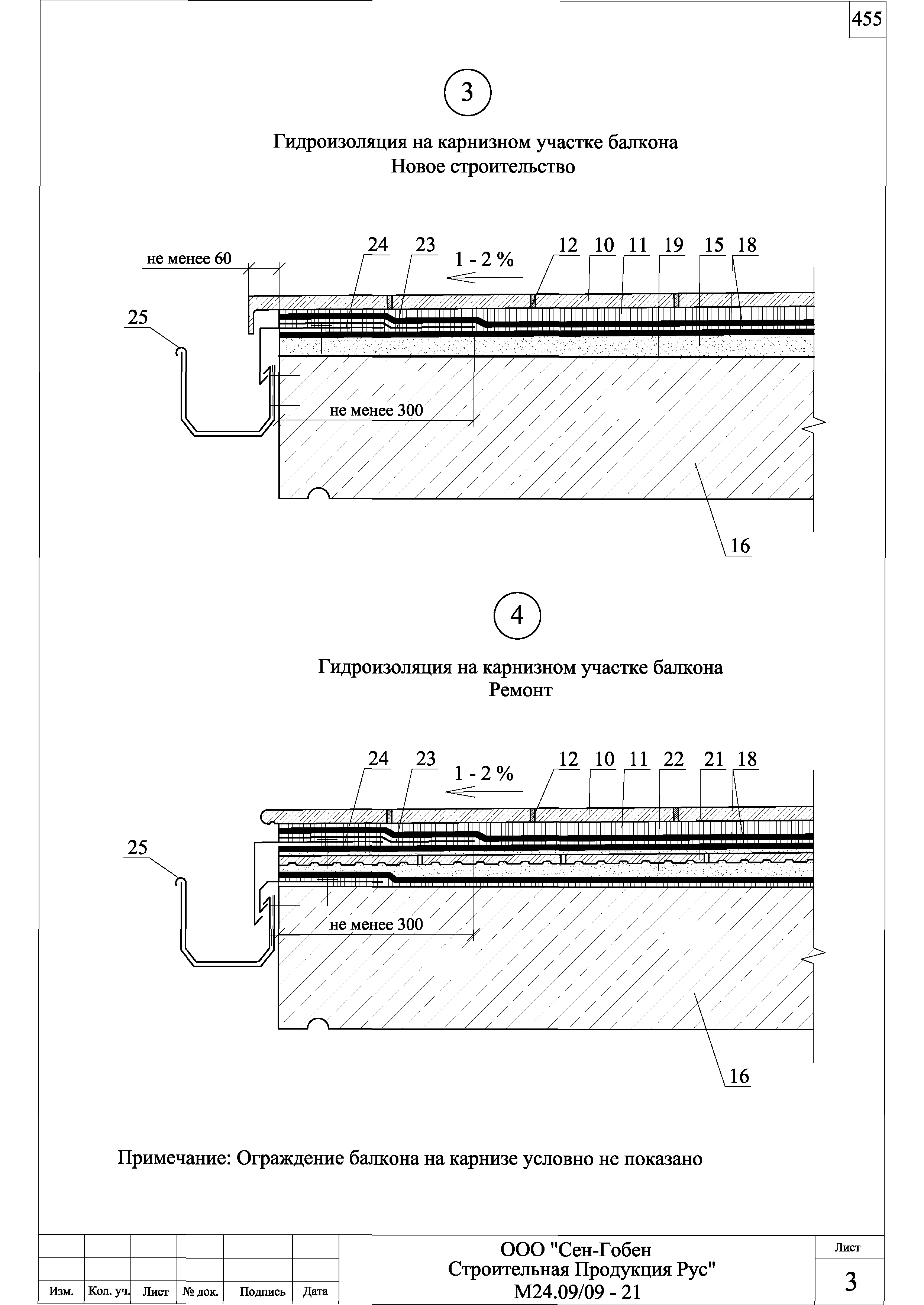
Стены, покрытия, гидроизоляция, полы и перегородки с применением мастик, паст, сухих смесей, синтетических, полимерных и полимерцементных составов производства ООО "Сен-Гобен Строительная Продукция Рус". Материалы для проектирования и чертежи узлов| Обозначение: | Шифр М24.09/09 | | Обозначение англ: | М24.09/09 | | Статус: | не определен законодательством | | Название рус.: | Стены, покрытия, гидроизоляция, полы и перегородки с применением мастик, паст, сухих смесей, синтетических, полимерных и полимерцементных составов производства ООО "Сен-Гобен Строительная Продукция Рус". Материалы для проектирования и чертежи узлов | | Дата добавления в базу: | 01.09.2013 | | Дата актуализации: | 01.01.2021 | | Дата введения: | 01.01.2009 | | Область применения: | Альбом содержит материалы для проектирования и чертежи узлов многослойных стен, покрытий, гидроизоляции, полов и перегородок с применением мастик, паст, сухих смесей, синтетических, полимерных, полимерцементных и цементных составов, производимых концерном "Сен-Гобен" | | Разработан: | ЦНИИпромзданий
| | Утверждён: | 01.01.2009 ЦНИИпромзданий (TsNIIpromzdaniy )
|
                                                                                                                                                                                                                                                                                                                                                                                                                                                                                    
|