Скачать Типовой проект 902-2-284 Альбом I. Пояснительная запискаДата актуализации: 01.01.2021
|
| Обозначение: | Типовой проект 902-2-284 |
| Обозначение англ: | 902-2-284 |
| Статус: | действует |
| Название рус.: | Альбом I. Пояснительная записка |
| Дата добавления в базу: | 01.09.2013 |
| Дата актуализации: | 01.01.2021 |
| Дата введения: | 20.11.1976 |
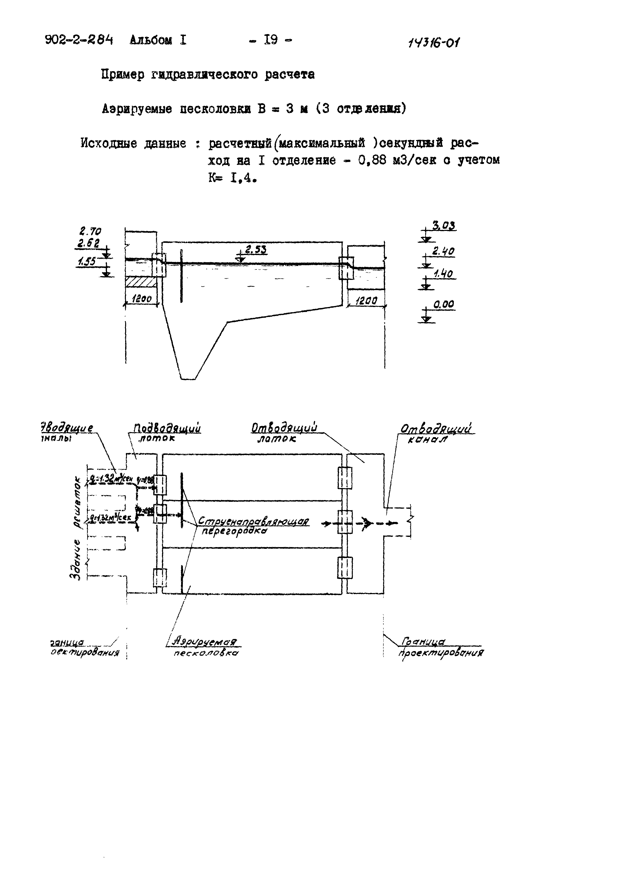
| Оглавление: | 1. Общая часть 2. Технологическая часть 3. Строительная часть 3.1. Природные условия строительства и технические условия на проектирование 3.2. Объемно-планировочные решения 3.3. Конструктивные решения 3.4. Отделка т мероприятия по защите от коррозии 3.5. Расчетные положения 3.6. Соображения по производству работ 3.7. Указания но привязке 4. Электротехническая часть 4.1. Силовое электрооборудование 4.2. Управление и автоматизация 4.3. Оказания до привязке Приложение. Пример гидравлического расчета |
| Разработан: | ЦНИИЭП |
| Утверждён: | 22.07.1974 Госгражданстрой (Gosgrazhdanstroy 164) |






















