Скачать РД 39-0147103-314-88 Методика расчета и проектирования системы виброизоляции блочной насосной станции (БНС)Дата актуализации: 01.01.2021
|
| Обозначение: | РД 39-0147103-314-88 |
| Обозначение англ: | RD 39-0147103-314-88 |
| Статус: | введен впервые |
| Название рус.: | Методика расчета и проектирования системы виброизоляции блочной насосной станции (БНС) |
| Дата добавления в базу: | 01.09.2013 |
| Дата актуализации: | 01.01.2021 |
| Дата введения: | 01.06.1988 |
| Область применения: | Методика распространяется на систему виброизоляции насосно-силового оборудования ДНС и БННС промыслового транспорта нефти, БКНС систем поддержания пластового давления, а также БНПС магистральных трубопроводов, виброактивным оборудованием которых является центробежные электроприводные насосные агрегаты. Изложенные методы расчета могут применяться при разработке систем виброизоляции других видов оборудования. |
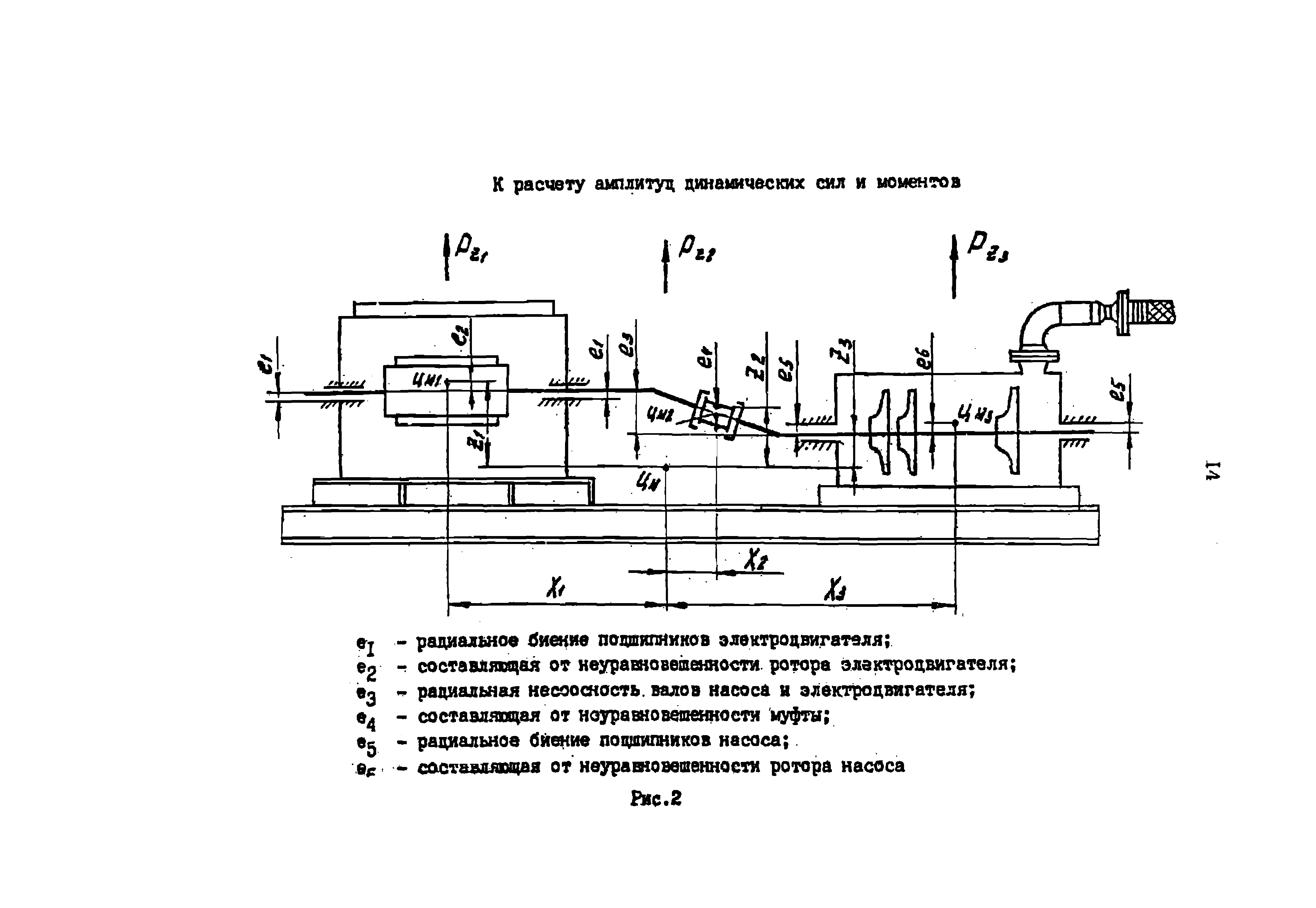
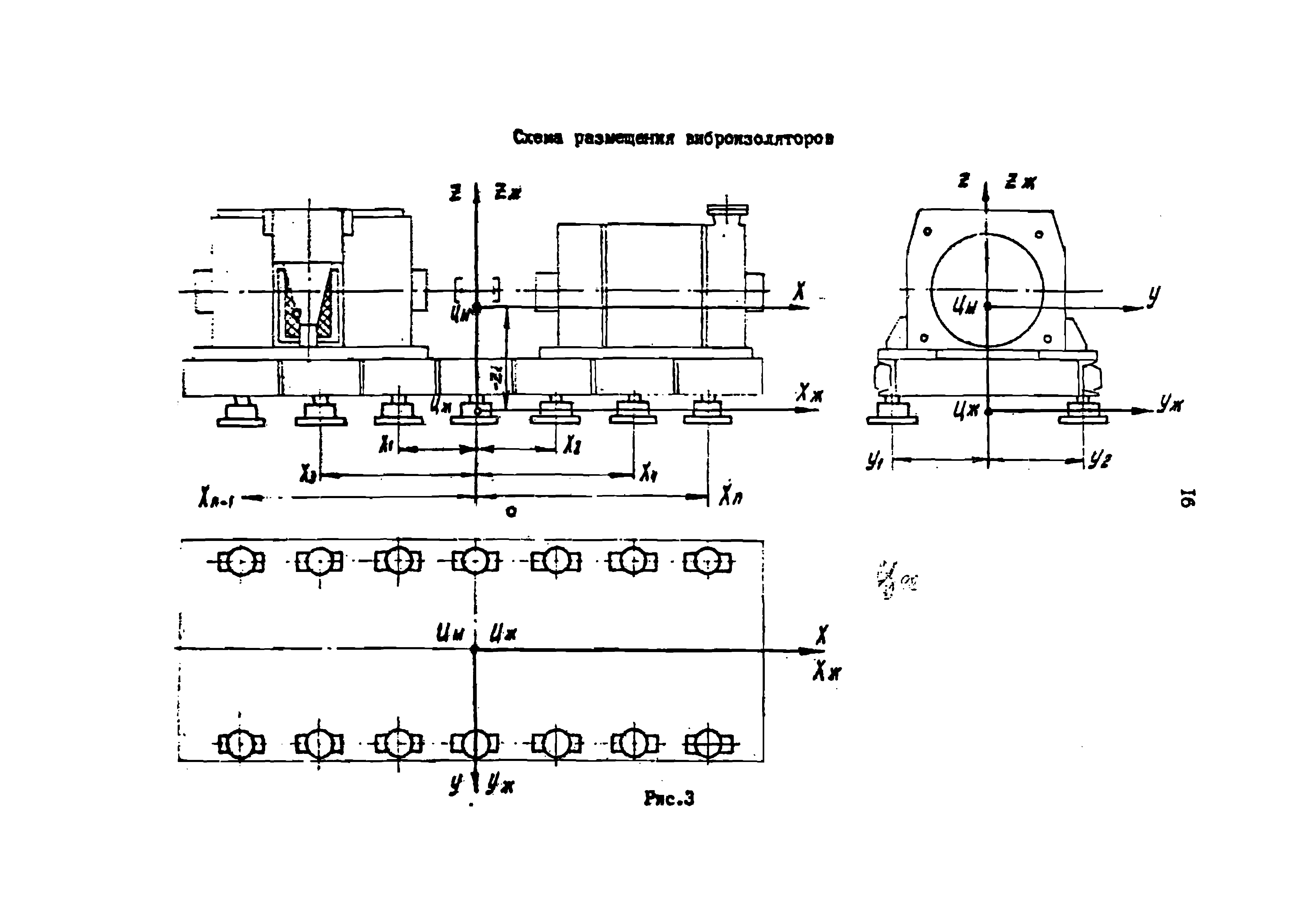
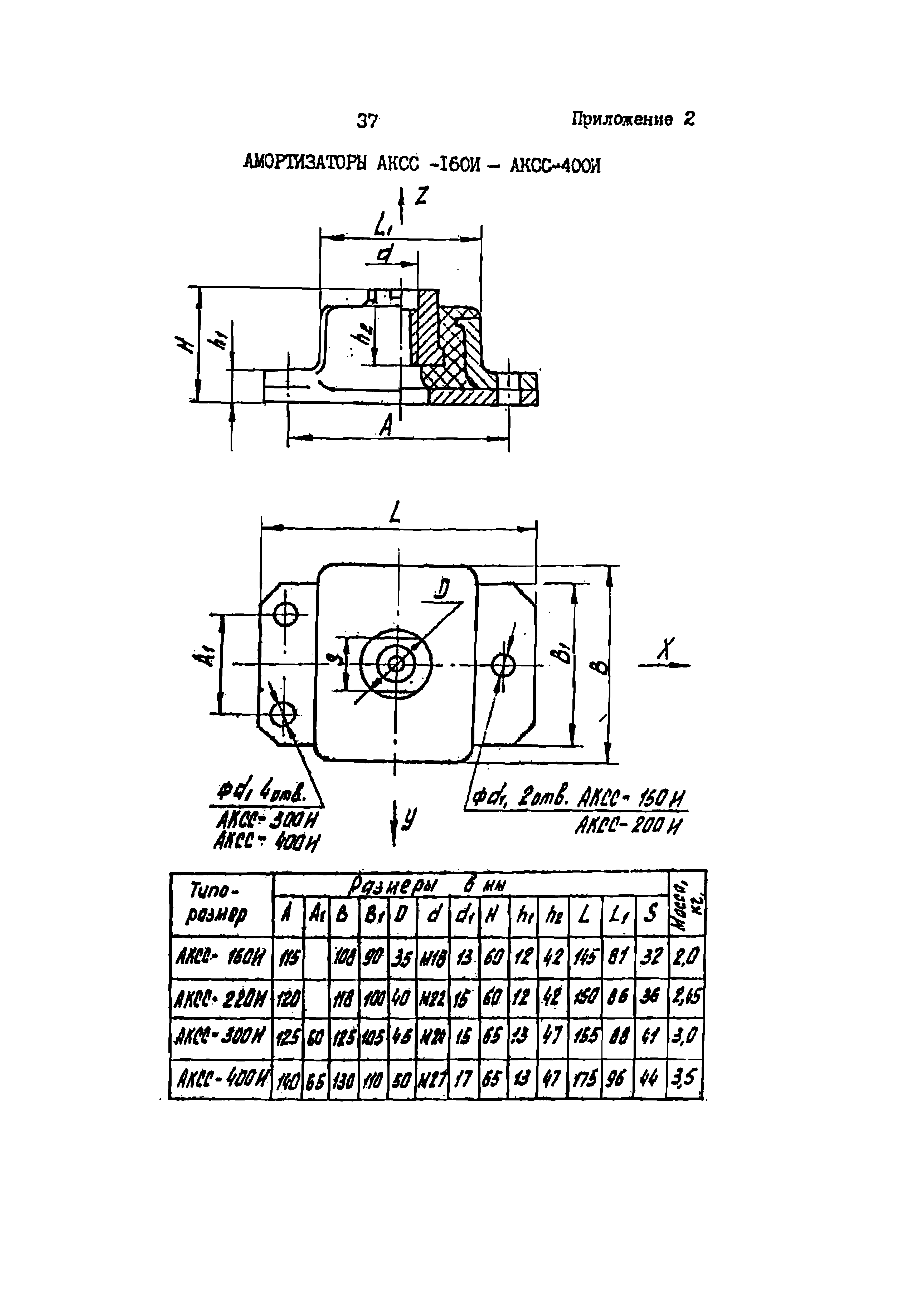
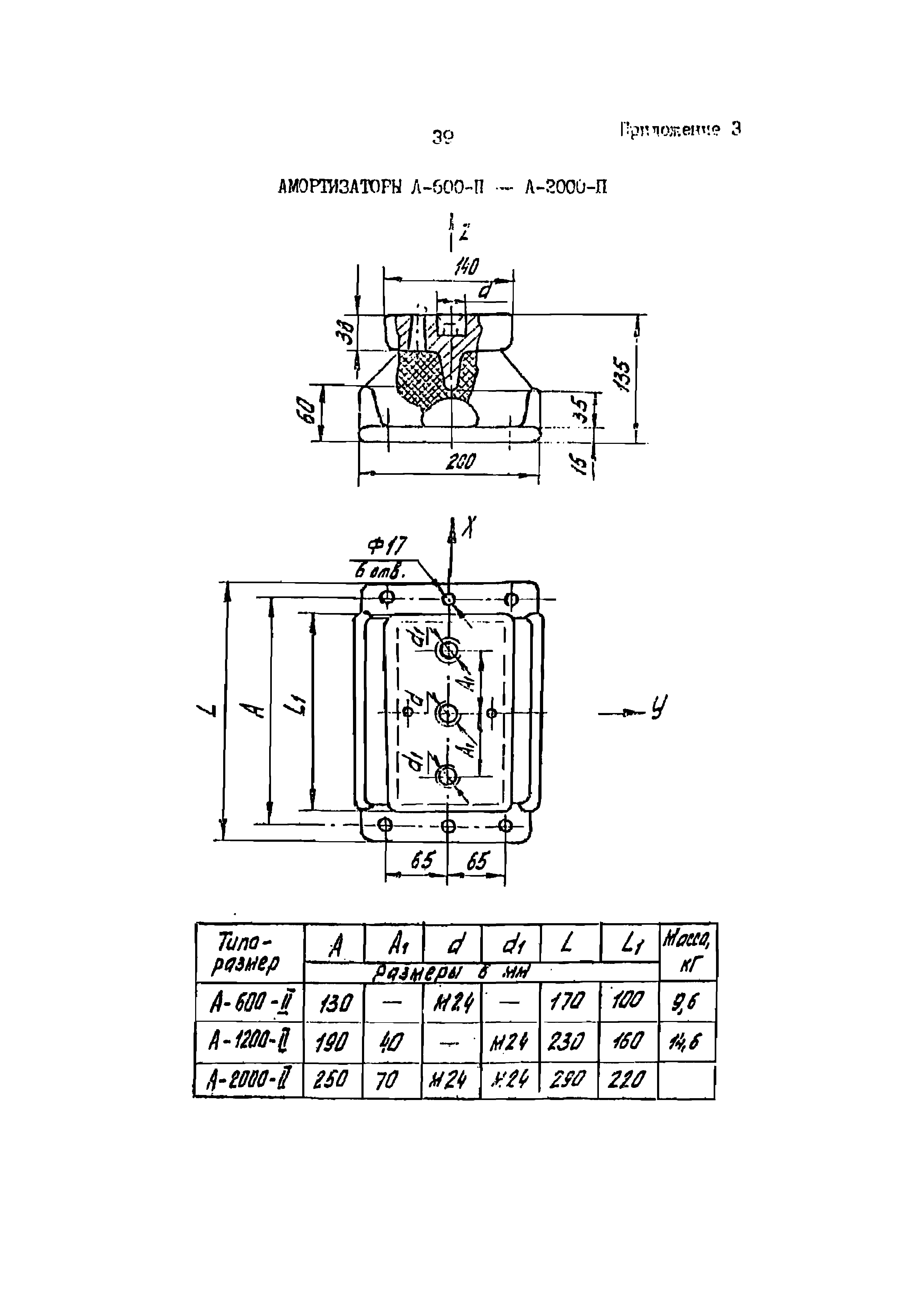
| Оглавление: | 1 Общие положения 2 Подготовка исходных данных 3 Определение амплитуды динамических возбуждающих сил и моментов 4 Определение параметров амортизирующего крепления 5 Определение собственных частот колебаний колебаний 6 Определение амплитуды колебаний агрегата 7 Определение амплитуды динамических сил, передающихся через систему виброизоляции несущим конструкциям и трубопроводам БНС 8 Определение коэффициента эффективности виброзащиты и коэффициента передачи структурного шума 9 Определение допустимых деформаций оснований блоков 10 Проектирование системы виброизоляции Литература Приложение 1 Приложение 2 Приложение 3 Приложение 4 |
| Разработан: | ВНИИСПТнефть |
| Утверждён: | 01.03.1988 Министерство нефтяной промышленности СССР (USSR Ministry of the Petroleum Industry ) |
| Нормативные ссылки: |












































