Скачать Сборник распорядительных материалов по эксплуатации энергосистем. Электротехническая часть. Часть 1

Дата актуализации: 01.01.2021

Сборник распорядительных материалов по эксплуатации энергосистем. Электротехническая часть. Часть 1

Статус:действует
Название рус.:Сборник распорядительных материалов по эксплуатации энергосистем. Электротехническая часть. Часть 1
Дата добавления в базу:01.09.2013
Дата актуализации:01.01.2021
Дата введения:27.06.2002
Область применения:Требования распорядительных документов Сборника обязательны для всех энергопредприятий и организаций ЕЭС России
Оглавление:Введение
Раздел 1. О применении сборника
Раздел 2. Общие вопросы
Раздел 3. Энергетические системы (надежность и устойчивость)
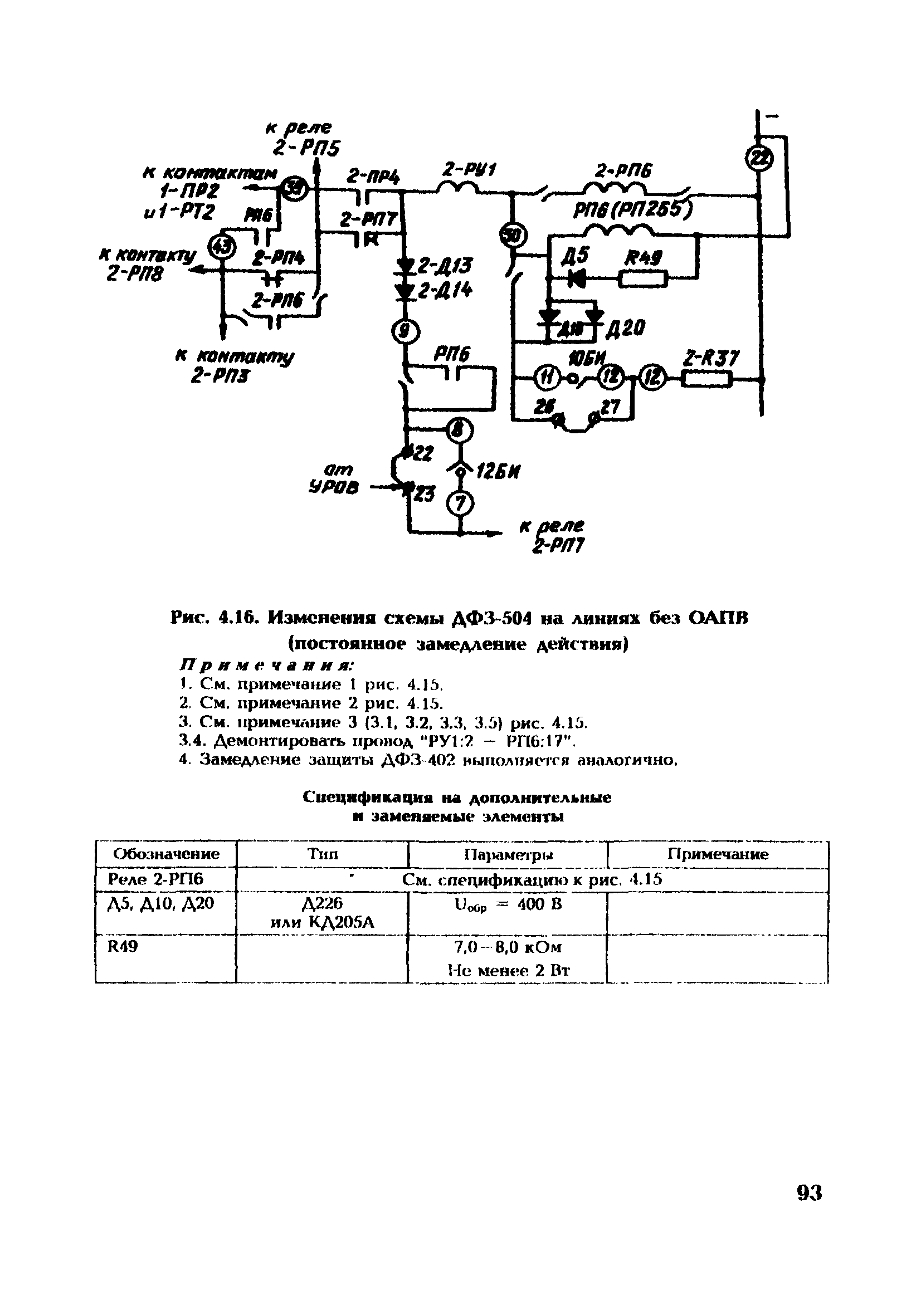
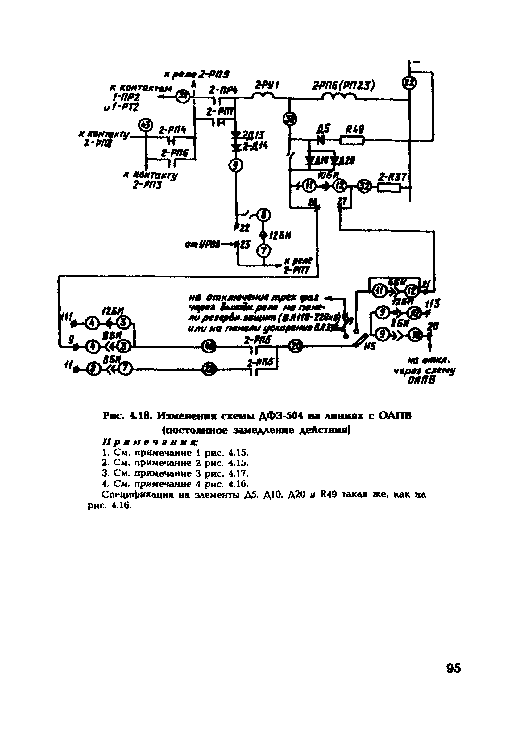
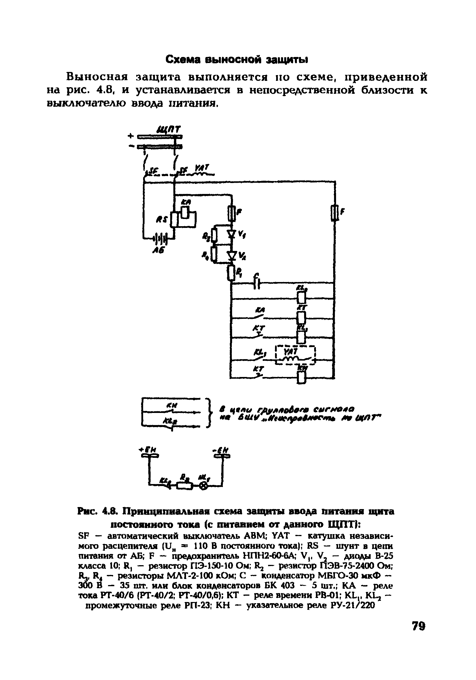
Раздел 4. Защита и электроавтоматика
Раздел 5. Собственные нужды
Раздел 6. Электрические машины и их возбуждение
Разработан: ОАО Фирма ОРГРЭС
Утверждён:27.06.2002 РАО ЕЭС России (UES of Russia RAO )
Издан: СПО ОРГРЭС (2002 г. )