Скачать Руководство по проектированию аэропортов местных воздушных линий

Дата актуализации: 01.01.2021

Руководство по проектированию аэропортов местных воздушных линий

Статус:не установлен срок действия
Название рус.:Руководство по проектированию аэропортов местных воздушных линий
Дата добавления в базу:01.09.2013
Дата актуализации:01.01.2021
Область применения:Руководство распространяется на проектирование новых, расширение, реконструкцию и техническое перевооружение действующих аэропортов местных воздушных линий (МВЛ).
Оглавление:1 Общие положения
2 Категорирование аэропортов МВЛ и исходные показатели для эксплуатационно-технических расчетов при проектировании
3 Технологические процессы и организация обслуживания пассажиров
4 Состав зданий и сооружений в аэропортах МВЛ и их расположение на генеральном плане
5 Аэровокзалы и служебно-пассажирские здания аэропортов МВЛ
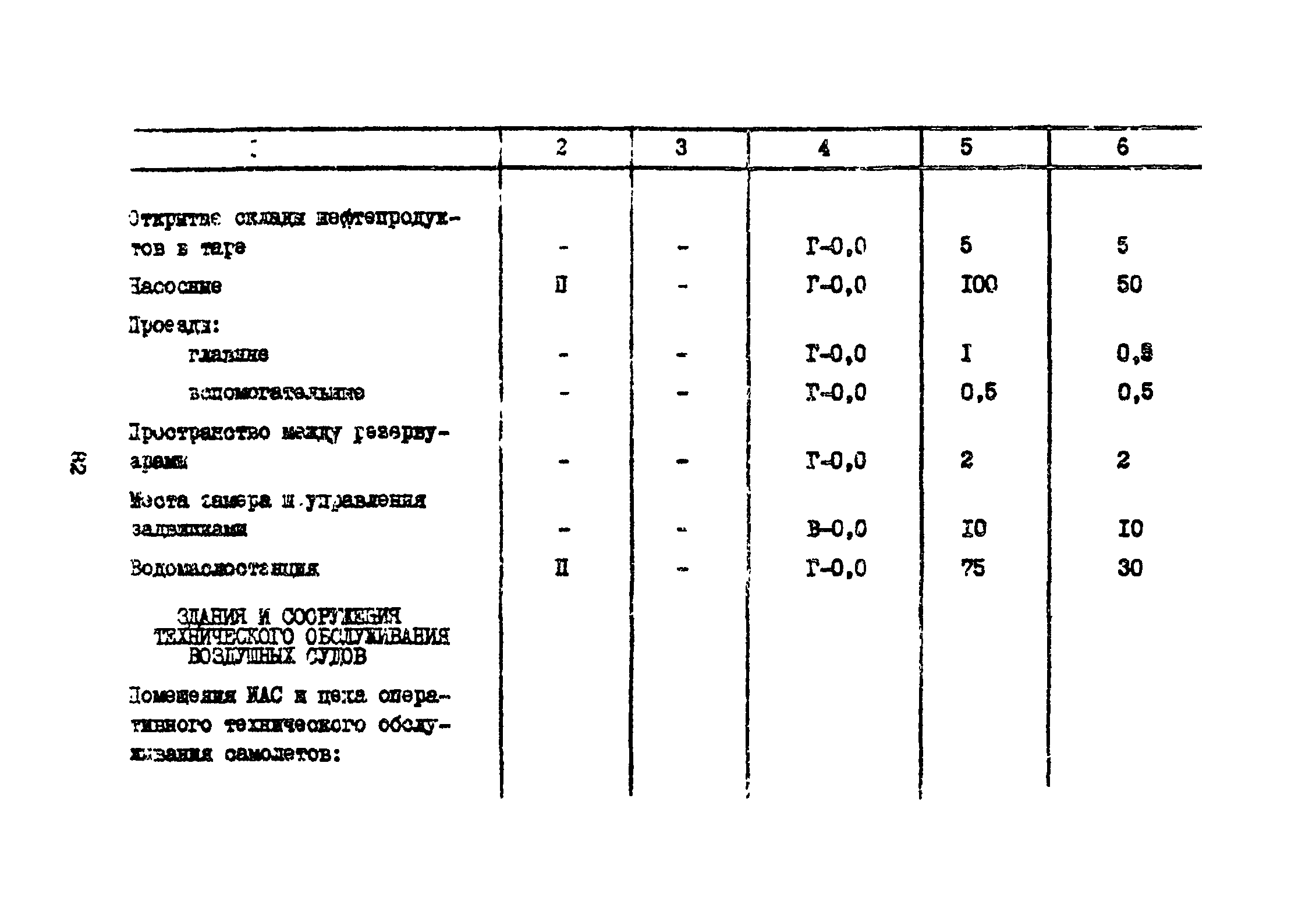
6 Здания и сооружения грузового комплекса
7 Здания и сооружения технического обслуживания воздушных судов
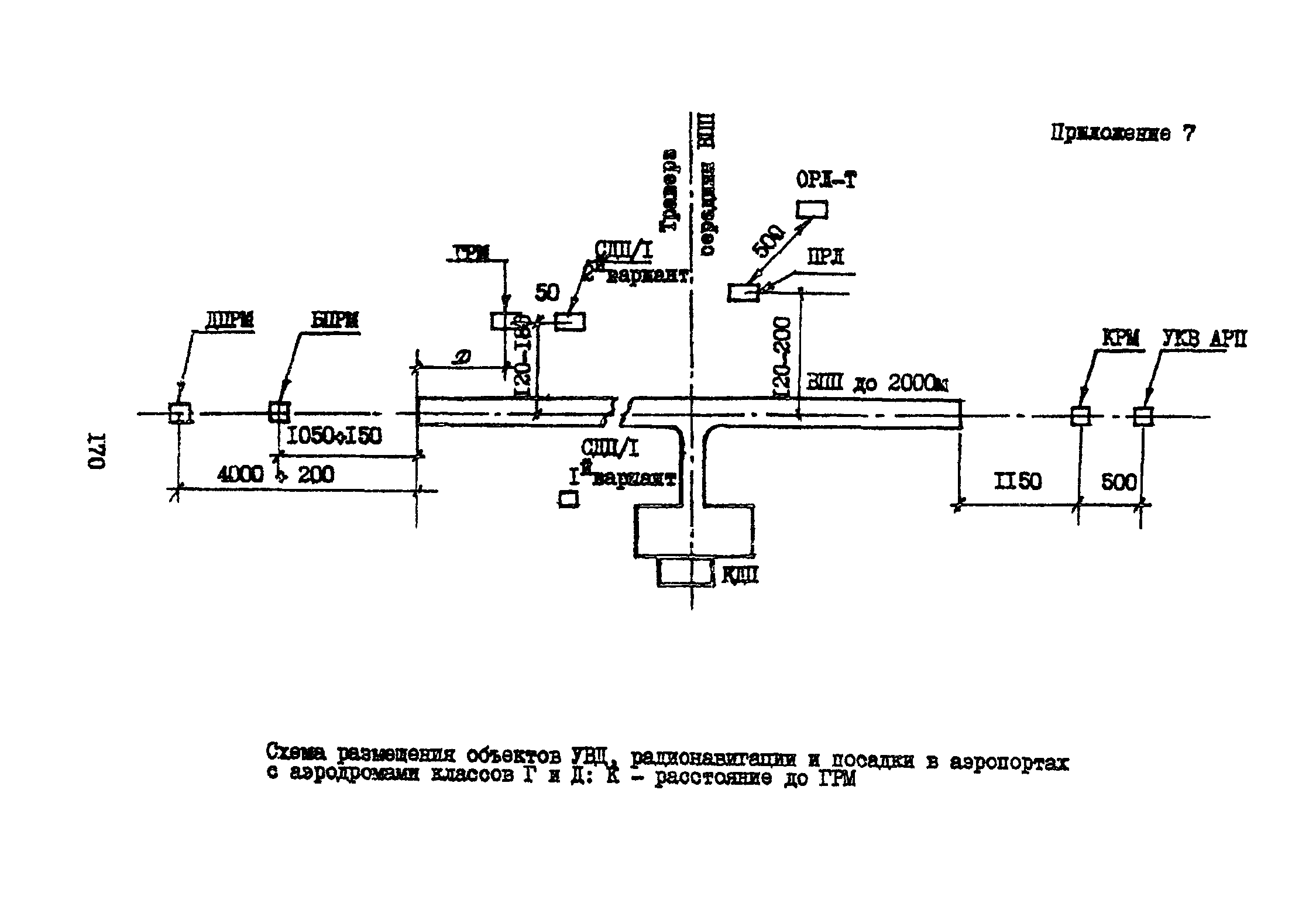
8 Объекты управления воздушным движением, радионавигации и посадки
9 Объекты и средства авиатопливообеспечения
10 Электросвязь
11 Электроснабжение аэропорта и его объектов
12 Помещения вспомогательного назначения
13 Особенности проектирования аэропортов МВЛ Крайнего Сервера
14 Блокировка зданий и сооружений аэропортов МВЛ
15 Охрана окружающей среды
Приложения
Разработан: ГПИиНИИ Аэропроект
Утверждён:28.11.1983 Министерство гражданской авиации СССР (USSR Ministry of Civil Aviation )