Скачать Типовой проект 902-2-422.86 Альбом I. Пояснительная записка. Показатели результатов применения научно-технических достижений в строительных решениях (из ТП 902-2-424.86)Дата актуализации: 01.01.2021
|
| Обозначение: | Типовой проект 902-2-422.86 |
| Обозначение англ: | 902-2-422.86 |
| Статус: | не определен законодательством |
| Название рус.: | Альбом I. Пояснительная записка. Показатели результатов применения научно-технических достижений в строительных решениях (из ТП 902-2-424.86) |
| Дата добавления в базу: | 01.09.2013 |
| Дата актуализации: | 01.01.2021 |
| Дата введения: | 18.07.1986 |
| Дата окончания срока действия: | 30.06.2003 |
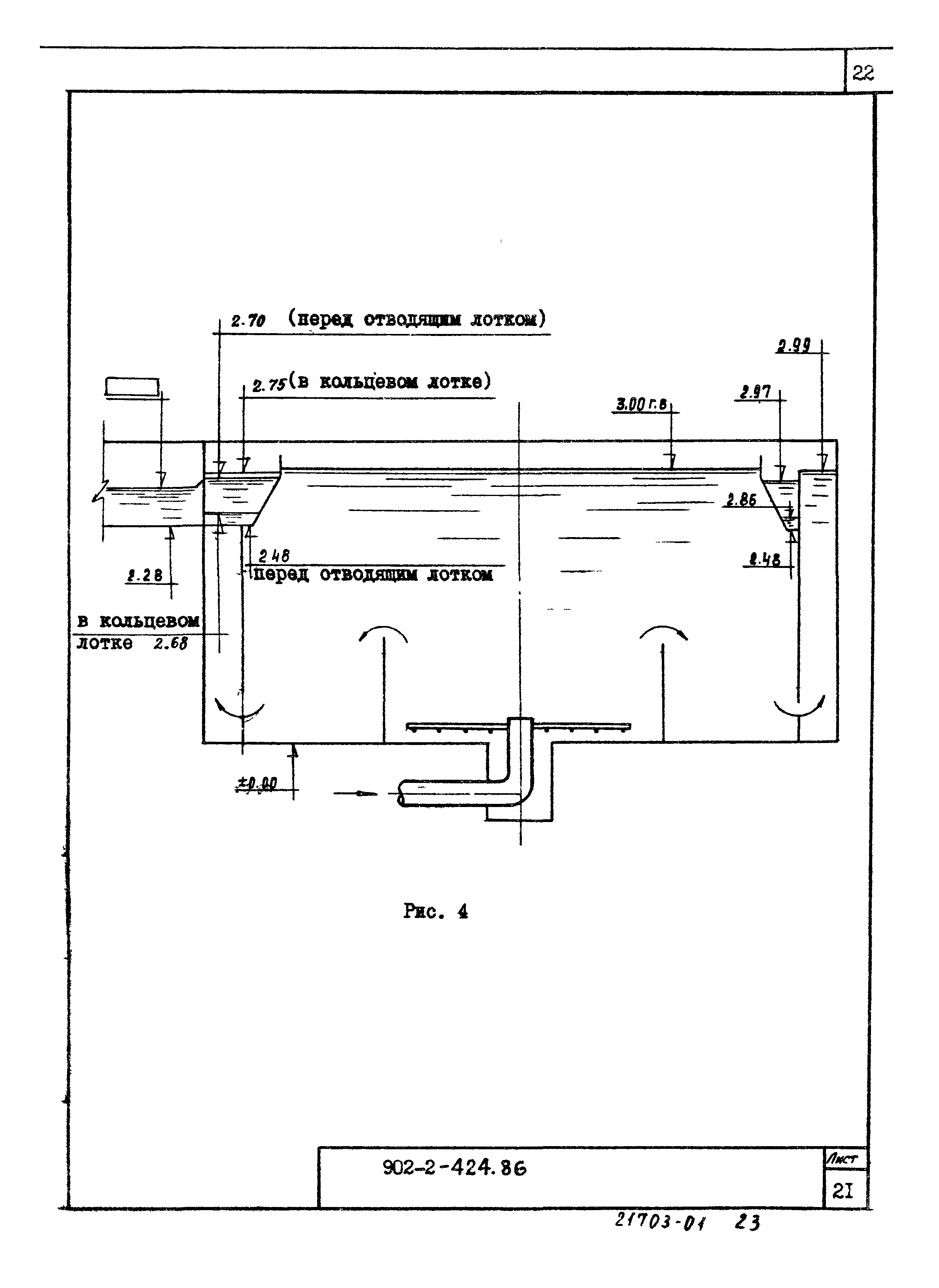
| Оглавление: | 1. Общая часть 2. Компоновочное решение 3. Схема работы флотационной установки 3.1. Вариант без рециркуляции сточных вод 3.2. Вариант с рециркуляцией сточных вод 4. Реагенты 5. Описание флотатора и схема его работы 6. Электротехническая часть 7. Строительная часть 8. Показатели результатов применения научно-технических достижений в строительных решениях проекта 8.1. Перечень сравниваемых конструктивных элементов здания, сооружения я видов работ для расчета основных показателей (форма 1) 8.2. Объектная ведомость показателей изменения сметной стоимости строительно-монтажных работ и затрат труда (форма 3) 8.3. Сравнительная ведомость показателей изменения расхода основных строительных материалов по проектируемому объекту (форма 6) 8.4. Относительные показатели изменения расхода основных строительных материалов по проектируемому объекту (стройка, очереди строительства) (форма 7) 8.5. Сводная ведомость показателей изменения сметной стоимости строительно-монтажных работ, затрат труда и расход основных строительных материалов по стройке (очереди строительства) (форма 8) |
| Разработан: | Союзводоканалниипроект Внии жт |
| Утверждён: | 18.07.1986 Госстрой СССР (Государственный комитет Совета Министров СССР по делам строительства) (USSR Gosstroy АЧ-43) |


























































