Скачать Типовой проект 903-1-220.86 Альбом 4. Часть 3. Чертежи нетиповых технологических конструкций. Технологическое оборудованиеДата актуализации: 01.01.2021
|
| Обозначение: | Типовой проект 903-1-220.86 |
| Обозначение англ: | 903-1-220.86 |
| Статус: | действует |
| Название рус.: | Альбом 4. Часть 3. Чертежи нетиповых технологических конструкций. Технологическое оборудование |
| Дата добавления в базу: | 01.09.2013 |
| Дата актуализации: | 01.01.2021 |
| Дата введения: | 09.01.1986 |
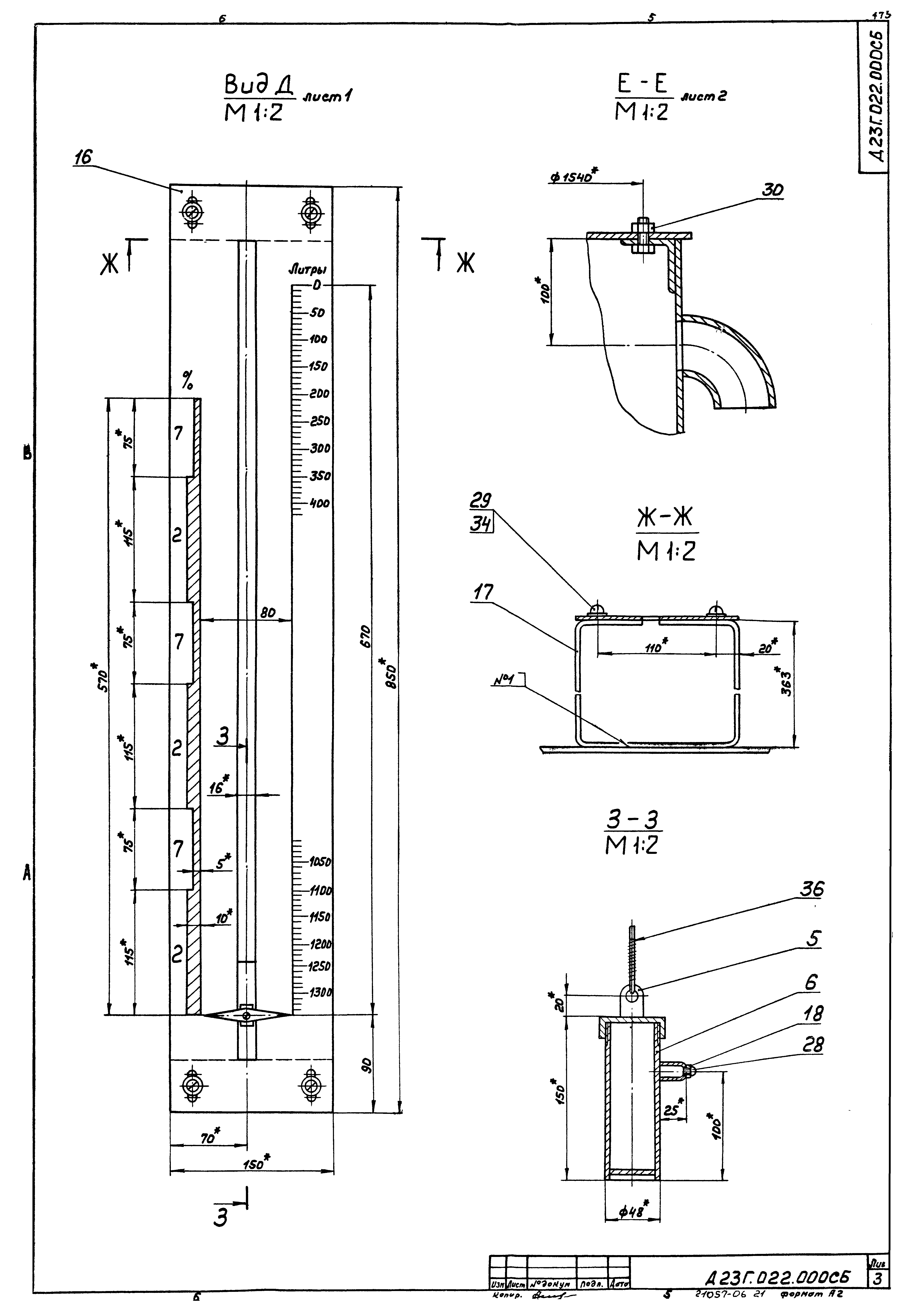
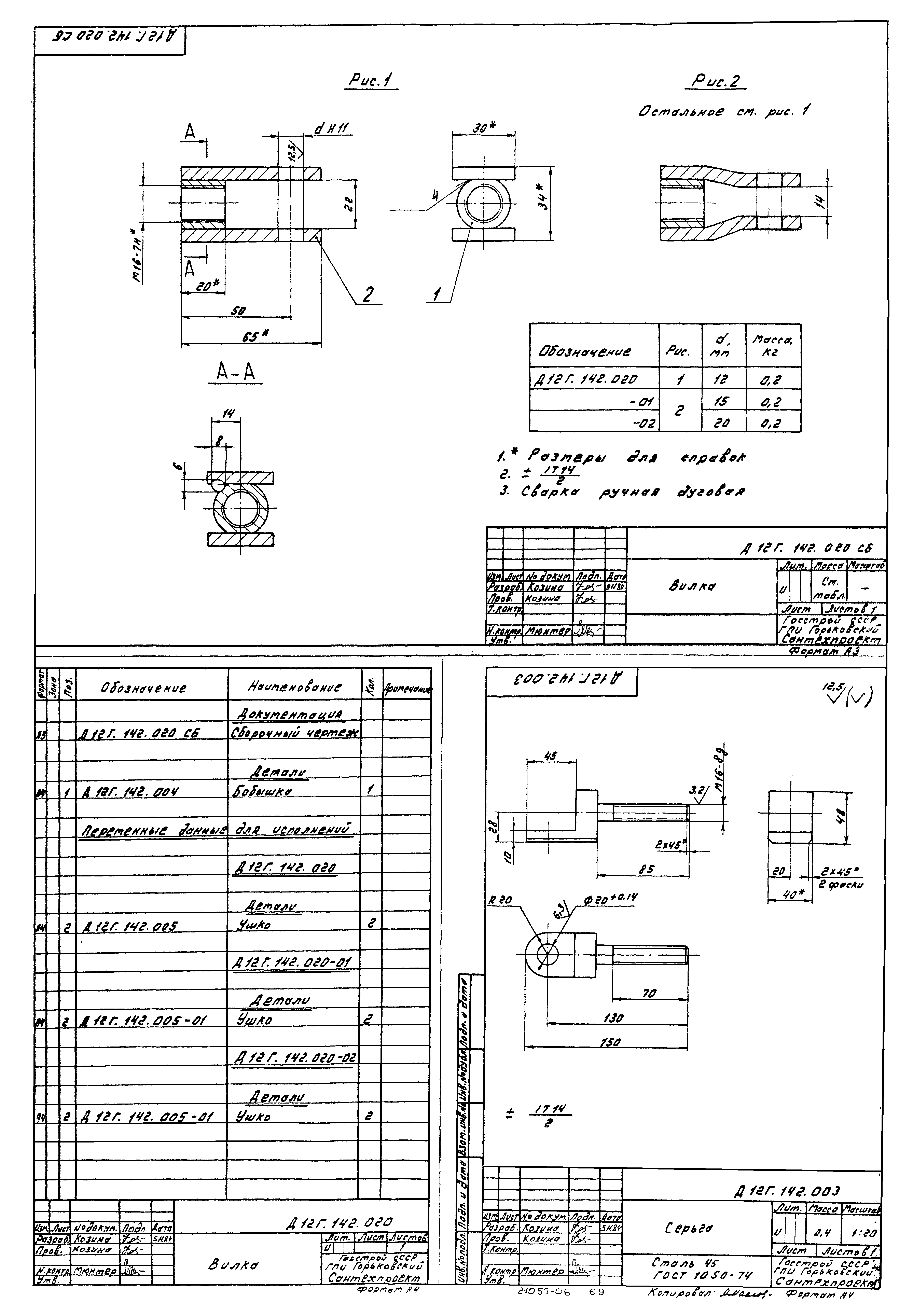
| Оглавление: | ТП 903-1-220.86 Д23В.050.000 Бак отстоявшегося конденсата V=4м³ ТП 903-1-220.86 Д23В.050.000 СБ Бак отстоявшегося конденсата V=4м³ ТП 903-1-220.86 Д23В.050.001 Прокладка ТП 903-1-220.86 Д23В.050.010 Бак ТП 903-1-220.86 Д23В.050.002 Фланец ТП 903-1-220.86 Д23В.050.006 Отвод ТП 903-1-220.86 Д23В.050.007 Лист ТП 903-1-220.86 Д23В.050.010 СБ Бак ТП 903-1-220.86 Д23В.050.003 Обечайка ТП 903-1-220.86 Д23В.050.020 Крышка бака ТП 903-1-220.86 Д23В.050.009 Крышка ТП 903-1-220.86 Д23В.050.020 СБ Крышка бака ТП 903-1-220.86 Д23В.051.000 ВП Бак-отстойник конденсата V=3м³. Ведомость покупных изделий ТП 903-1-220.86 Д23В.051.000 Бак-отстойник конденсата V=3м³ ТП 903-1-220.86 Д23В.051.010 Бак ТП 903-1-220.86 Д23В.051.000 СБ Бак-отстойник конденсата V=3м³ ТП 903-1-220.86 Д23В.051.010 СБ Бак ТП 903-1-220.86 Д23В.051.001 Цилиндр ТП 903-1-220.86 Д23В.051.004 Лист ТП 903-1-220.86 Д23В.051.005 Патрубок ТП 903-1-220.86 Д23В.051.006 Патрубок ТП 903-1-220.86 Д23В.051.008 Труба ТП 903-1-220.86 Д23В.051.013 Переход ТП 903-1-220.86 Д23В.051.012 Штуцер ТП 903-1-220.86 Д23В.051.015 Стенка ТП 903-1-220.86 Д23В.052.000 СБ Бак рабочей воды V=1.6м³ ТП 903-1-220.86 Д23В.052.000 Бак рабочей воды V=1.6м³ ТП 903-1-220.86 Д23В.052.010 Бак ТП 903-1-220.86 Д23В.052.001 Цилиндр ТП 903-1-220.86 Д23В.052.005 Крышка ТП 903-1-220.86 Д23В.052.010 СБ Бак ТП 903-1-220.86 Д23В.052.020 Люк ТП 903-1-220.86 Д23В.052.020 СБ Люк ТП 903-1-220.86 Д23В.052.009 Крышка ТП 903-1-220.86 Д23В.052.011 Фланец ТП 903-1-220.86 Д23В.052.012 Кронштейн ТП 903-1-220.86 Д23В.052.013 Проушина ТП 903-1-220.86 Д23В.052.014 Ось ТП 903-1-220.86 Д23Г.022.000 Бак-пропорционизатар ТП 903-1-220.86 Д23Г.022.001 Ось ТП 903-1-220.86 Д23Г.022.000 ВП Бак-пропорционизатар. Ведомость покупных изделий ТП 903-1-220.86 Д23Г.022.002 Ролик ТП 903-1-220.86 Д23Г.022.003 Планка ТП 903-1-220.86 Д23Г.022.000 СБ Бак-пропорционизатар ТП 903-1-220.86 Д23Г.022.004 Ось ТП 903-1-220.86 Д23Г.022.005 Шкала ТП 903-1-220.86 Д23Г.022.006 Кронштейн ТП 903-1-220.86 Д23Г.022.007 Стрелка ТП 903-1-220.86 Д23Г.022.008 Пробка ТП 903-1-220.86 Д23Г.022.009 Стержень ТП 903-1-220.86 Д23Г.022.011 Стержень ТП 903-1-220.86 Д23Г.022.012 Стержень ТП 903-1-220.86 Д23Г.022.013 Шайба дроссельная ТП 903-1-220.86 Д23Г.022.014 Фланец ТП 903-1-220.86 Д23Г.022.016 Заглушка ТП 903-1-220.86 Д23Г.022.010 Бак ТП 903-1-220.86 Д23Г.022.010 СБ Бак ТП 903-1-220.86 Д23Г.022.019 Обечайка ТП 903-1-220.86 Д23Г.022.021 Дно ТП 903-1-220.86 Д23Г.022.022 Фланец ТП 903-1-220.86 Д23Г.022.024 Фланец ТП 903-1-220.86 Д23Г.022.020 Опора ТП 903-1-220.86 Д23Г.022.020 СБ Опора ТП 903-1-220.86 Д23Г.022.030 Люк ТП 903-1-220.86 Д23Г.022.030 СБ Люк ТП 903-1-220.86 Д23Г.022.036 Лист ТП 903-1-220.86 Д23Г.022.037 Петля ТП 903-1-220.86 Д23Г.022.038 Упор ТП 903-1-220.86 Д23Г.022.040 Крышка ТП 903-1-220.86 Д23Г.022.042 Лист ТП 903-1-220.86 Д23Г.022.043 Стойка ТП 903-1-220.86 Д23Г.022.040 СБ Крышка ТП 903-1-220.86 Д23Г.022.044 Опора ТП 903-1-220.86 Д23Г.022.050 Заглушка ТП 903-1-220.86 Д23Г.022.052 Колпак ТП 903-1-220.86 Д23Г.022.060 Корпус ТП 903-1-220.86 Д23Г.022.060 СБ Конус ТП 903-1-220.86 Д23Г.022.055 Труба ТП 903-1-220.86 Д23Г.022.056 Бобышка ТП 903-1-220.86 Д23Г.022.070 Поплавок ТП 903-1-220.86 Д23Г.022.070 СБ Поплавок ТП 903-1-220.86 Д23Г.022.080 Патрубок ТП 903-1-220.86 Д23Г.022.067 Труба ТП 903-1-220.86 Д23Г.022.090 Патрубок ТП 903-1-220.86 Д23Г.022.100 Лестница ТП 903-1-220.86 Д23Г.022.100 СБ Лестница ТП 903-1-220.86 Д23Г.022.073 Укосина ТП 903-1-220.86 Д23Г.022.074 Тетива ТП 903-1-220.86 Д23Г.022.075 Кронштейн ТП 903-1-220.86 Д23Д.177.000 Площадка соединительная ТП 903-1-220.86 Д23Д.177.000 СБ Площадка соединительная ТП 903-1-220.86 Д23Д.177.005 Швеллер ТП 903-1-220.86 Д23Д.177.009 Ребро ТП 903-1-220.86 Д23Д.229.000 Помост ТП 903-1-220.86 Д23Д.229.000 СБ Помост ТП 903-1-220.86 Д23Д.229.006 Полоса ТП 903-1-220.86 Д23Д.229.007 Поручень ТП 903-1-220.86 Д23Д.229.008 Поручень ТП 903-1-220.86 Д23Д.229.014 Связь ТП 903-1-220.86 Д23Д.234.000 Опора под сепаратор ТП 903-1-220.86 Д23Д.234.000 СБ Опора под сепаратор ТП 903-1-220.86 Д23Д.234.001 Кольцо ТП 903-1-220.86 Д23Д.234.010 Плита опорная ТП 903-1-220.86 Д23Д.234.010 СБ Плита опорная ТП 903-1-220.86 Д23Д.288.002 Хомут ТП 903-1-220.86 Д23Д.288.000 Опора трубопроводов ТП 903-1-220.86 Д23Д.288.000 СБ Опора трубопроводов ТП 903-1-220.86 Д23Д.288.003 Опора ТП 903-1-220.86 Д23Д.289.000 Опора трубопроводов ТП 903-1-220.86 Д23Д.289.000 СБ Опора трубопроводов ТП 903-1-220.86 Д23Д.289.002 Опора ТП 903-1-220.86 Д23Д.290.000 Опора трубопроводов ТП 903-1-220.86 Д23Д.290.000 СБ Опора трубопроводов ТП 903-1-220.86 Д23Д.291.000 Опора охладителя конденсата ТП 903-1-220.86 Д23Д.291.000 СБ Опора охладителя конденсата ТП 903-1-220.86 Д23Д.291.001 Хомут ТП 903-1-220.86 Д23Д.294.000 Опора трубопроводов ТП 903-1-220.86 Д23Д.296.000 Опора трубопроводов ТП 903-1-220.86 Д23Д.294.000 СБ Опора трубопроводов ТП 903-1-220.86 Д23Д.296.000 СБ Опора трубопроводов ТП 903-1-220.86 Д23Д.297.000 Подвеска предохранительного устройства ТП 903-1-220.86 Д23Д.297.000 СБ Подвеска предохранительного устройства ТП 903-1-220.86 Д23Д.297.010 Подвеска ТП 903-1-220.86 Д23Д.297.010 СБ Подвеска ТП 903-1-220.86 Д23Д.299.000 Подвеска „труба к трубе" ТП 903-1-220.86 Д23Д.299.000 СБ Подвеска „труба к трубе" ТП 903-1-220.86 Д23Д.299.010 Тяга ТП 903-1-220.86 Д23Д.299.010 СБ Тяга ТП 903-1-220.86 Д23Д.299.001 Тяга ТП 903-1-220.86 Д23Д.300.000 Подвеска ТП 903-1-220.86 Д23Д.300.000 СБ Подвеска ТП 903-1-220.86 Д23Д.300.001 Тяга ТП 903-1-220.86 Д23Д.300.010 Балка ТП 903-1-220.86 Д23Д.300.010 СБ Балка ТП 903-1-220.86 Д23Д.303.000 СБ Площадка соединительная 1175х800 ТП 903-1-220.86 Д23Д.303.000 Площадка соединительная 1175х800 ТП 903-1-220.86 Д23Д.311.000 Опора вертикальных трубопроводов ТП 903-1-220.86 Д23Д.311.001 Кольцо ТП 903-1-220.86 Д23Д.311.000 СБ Опора вертикальных трубопроводов ТП 903-1-220.86 Д23Д.311.002 Плита ТП 903-1-220.86 Д23Д.311.004 Колпак ТП 903-1-220.86 Д23Д.312.000 Опора под охладитель выпара ТП 903-1-220.86 Д23Д.312.000 СБ Опора под охладитель выпара ТП 903-1-220.86 Д23Д.312.001 Плита ТП 903-1-220.86 Д23Д.312.002 Стойка ТП 903-1-220.86 Д10А.056.000 Кронштейн ТП 903-1-220.86 Д10А.057.000 Кронштейн ТП 903-1-220.86 Д10А.056.000 СБ Кронштейн ТП 903-1-220.86 Д10А.057.000 СБ Кронштейн ТП 903-1-220.86 Д10А.058.000 Рама ТП 903-1-220.86 Д10А.058.001 Косынка ТП 903-1-220.86 Д10А.058.006 Швеллер ТП 903-1-220.86 Д10А.058.000 СБ Рама ТП 903-1-220.86 Д16Е.093.000 Бак нагретой воды V=0.4м³ ТП 903-1-220.86 Д16Е.093.000 СБ Бак нагретой воды V=0.4м³ ТП 903-1-220.86 Д16Е.093.010 Бак ТП 903-1-220.86 Д16Е.093.010 СБ Бак ТП 903-1-220.86 Д16Е.093.003 Обечайка ТП 903-1-220.86 Д16Е.093.006 Муфта ТП 903-1-220.86 Д16Е.093.007 Патрубок ТП 903-1-220.86 Д12Г.142.000 Сочленение MЭО-100/25-0.25Р с вентилятором ВДН-9, правый ТП 903-1-220.86 Д12Г.142.000 СБ Сочленение MЭО-100/25-0.25Р с вентилятором ВДН-9, правый ТП 903-1-220.86 Д12Г.142.010 Тяга ТП 903-1-220.86 Д12Г.142.010 СБ Тяга ТП 903-1-220.86 Д12Г.142.001 Палец ТП 903-1-220.86 Д12Г.142.002 Винт ТП 903-1-220.86 Д12Г.142.003 Серьга ТП 903-1-220.86 Д12Г.142.020 Вилка ТП 903-1-220.86 Д12Г.142.020 СБ Вилка ТП 903-1-220.86 Д12Г.142.004 Бобышка ТП 903-1-220.86 Д12Г.142.005 Ушко ТП 903-1-220.86 Д12Г.142.030 СБ Муфта ТП 903-1-220.86 Д12Г.142.030 Муфта ТП 903-1-220.86 Д12Г.142.040 Опора ТП 903-1-220.86 Д12Г.142.040 СБ Опора ТП 903-1-220.86 Д12Г.143.000 СБ Сочленение MЭО-250/25-0.25Р с дымососом ДН-11,2, левый ТП 903-1-220.86 Д12Г.142.006 Втулка ТП 903-1-220.86 Д12Г.143.000 Сочленение MЭО-250/25-0.25Р с дымососом ДН-11,2, левый ТП 903-1-220.86 Д12Г.144.000 Сочленение MЭО-100/25-0.25Р с клапанами типа 6с,Т30 ТП 903-1-220.86 Д12Г.144.001 Ось ТП 903-1-220.86 Д12Г.144.000 СБ Сочленение MЭО-100/25-0.25Р с клапанами типа 6с,Т30 ТП 903-1-220.86 Д12Г.145.000 СБ Сочленение MЭО-100/25-0.25Р с клапаном 9с-4-1-1 ТП 903-1-220.86 Д12Г.145.000 Сочленение MЭО-100/25-0.25Р с клапаном 9с-4-1-1 ТП 903-1-220.86 Д23Д.313.001 Стойка ТП 903-1-220.86 Д23Д.313.000 Опора отвода ТП 903-1-220.86 Д12Г.167.000 Сочленение МЭО-100/25-0.25Р с клапаном 9с-4-2 и заслонкой ЗД-100-00 ТП 903-1-220.86 Д12Г.167.000 СБ Сочленение МЭО-100/25-0.25Р с клапаном 9с-4-2 и заслонкой ЗД-100-00 |
| Разработан: | Горьковский Сантехпроект |
| Утверждён: | 07.09.1985 Минсельхоз СССР (USSR Minselkhoz 60-ЭГ) |















































































