Скачать Р 597-86 Рекомендации по испытанию, осушке и заполнению продуктом продуктопровода ШФЛУДата актуализации: 01.01.2021
|
| Обозначение: | Р 597-86 |
| Обозначение англ: | R 597-86 |
| Статус: | введен впервые |
| Название рус.: | Рекомендации по испытанию, осушке и заполнению продуктом продуктопровода ШФЛУ |
| Дата добавления в базу: | 01.09.2013 |
| Дата актуализации: | 01.01.2021 |
| Дата введения: | 01.01.1987 |
| Область применения: | В документе приведены рекомендации по уточнению параметров гидравлических испытаний продуктопроводов на герметичность с учетом температурной стабилизации, по технологии осушки внутренней поверхности продуктопроводов и по заполнению продуктопровода ШФЛУ (широкой фракции легких углеводородов). |
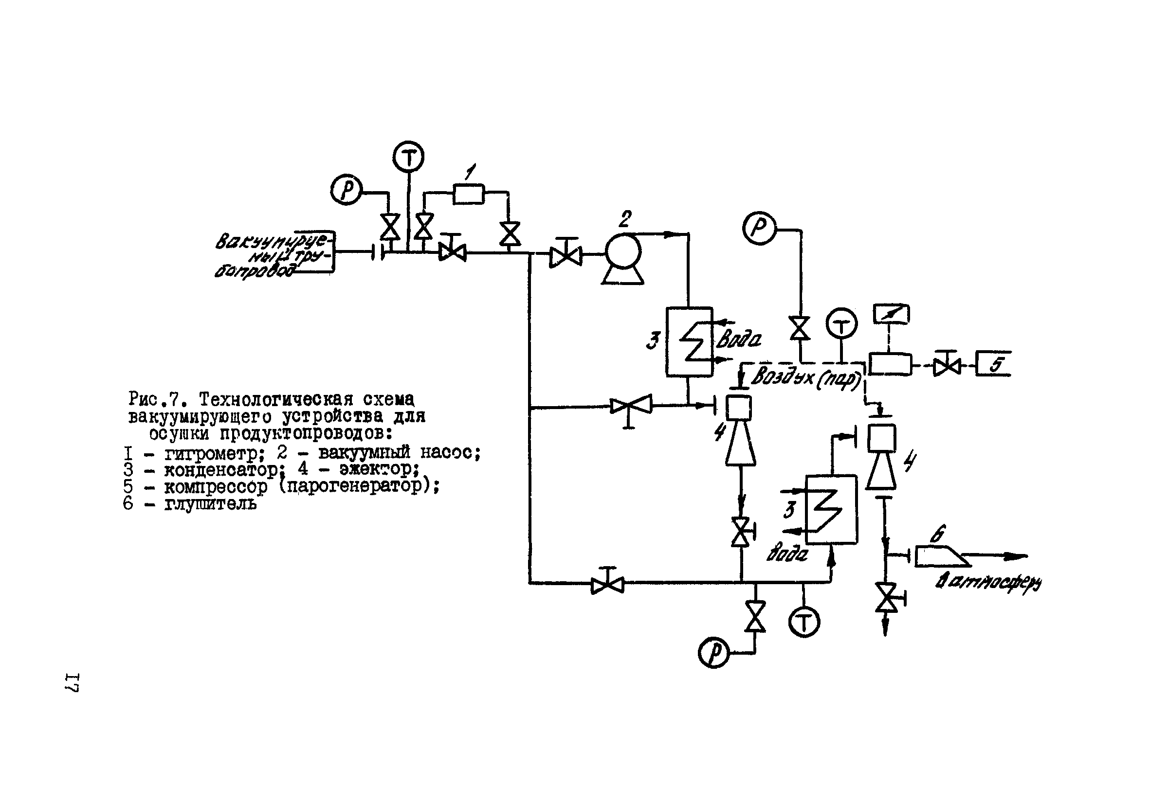
| Оглавление: | 1 Общие положения 2 Гидравлические испытания продуктопроводов на прочность 3 Гидравлические испытания продуктопроводов ШФЛУ на герметичность 4 Осушка внутренней полости продуктопроводов ШФЛУ 5 Заполнение продуктопроводов ШФЛУ продуктом Приложения Литература |
| Разработан: | ВНИИСТ |
| Утверждён: | 20.03.1986 ВНИИСТ (VNIIST ) |






























