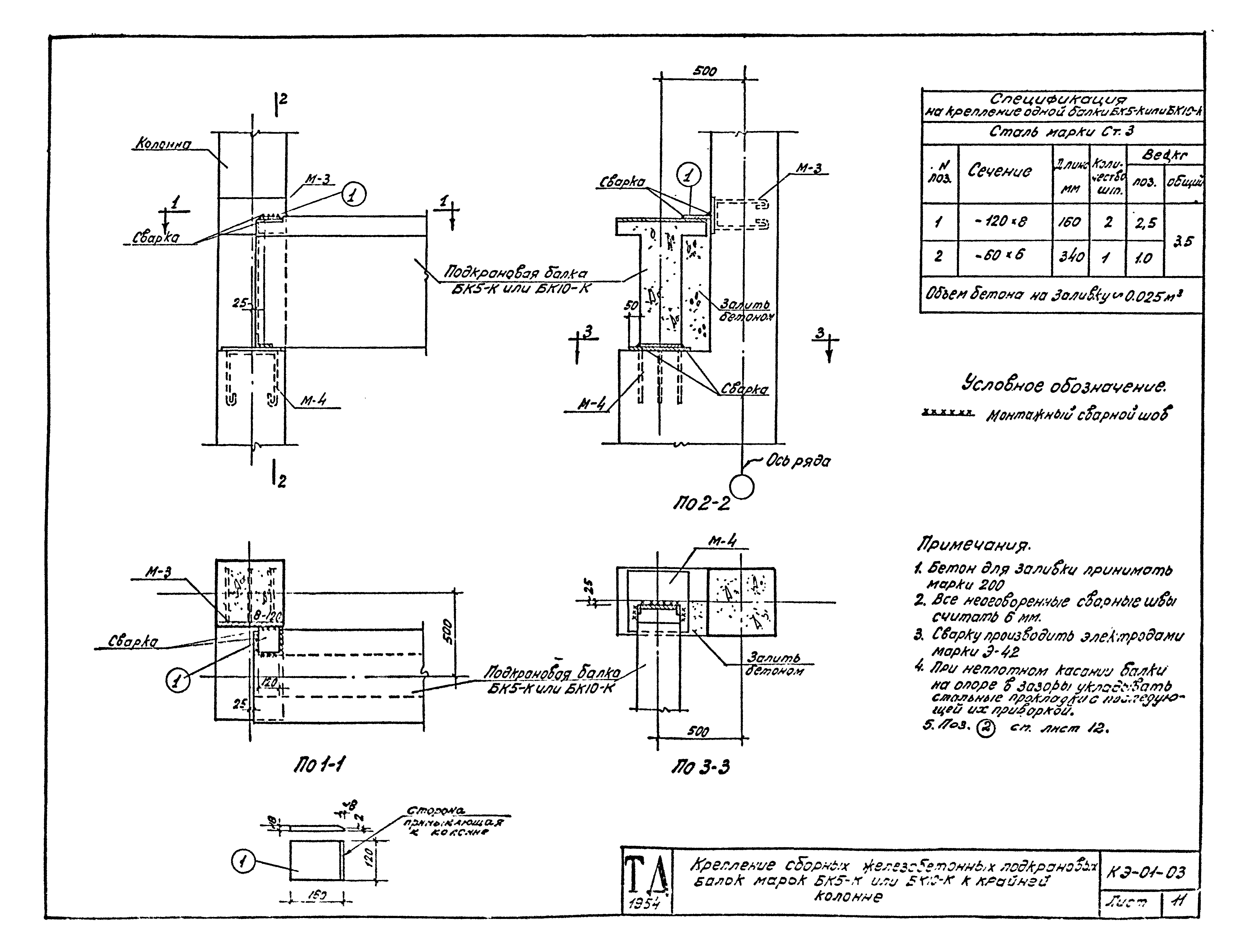
Скачать Серия КЭ-01-03 Сборные железобетонные подкрановые балки. Рабочие чертежиДата актуализации: 01.01.2021 Серия КЭ-01-03
Сборные железобетонные подкрановые балки. Рабочие чертежи| Обозначение: | Серия КЭ-01-03 | | Обозначение англ: | Series КЭ-01-03 | | Статус: | не действует | | Название рус.: | Сборные железобетонные подкрановые балки. Рабочие чертежи | | Дата добавления в базу: | 01.09.2013 | | Дата актуализации: | 01.01.2021 | | Разработан: | Гипротис
| | Утверждён: | 25.02.1954 Госстрой СССР (Государственный комитет Совета Министров СССР по делам строительства) (USSR Gosstroy )
|
                              
|