Скачать РД 39-0147103-391-87 Методические указания. Поточные вибрационные плотномеры. Методика проверки достоверности показаний в условиях эксплуатацииДата актуализации: 01.01.2021
|
| Обозначение: | РД 39-0147103-391-87 |
| Обозначение англ: | RD 39-0147103-391-87 |
| Статус: | не действует |
| Название рус.: | Методические указания. Поточные вибрационные плотномеры. Методика проверки достоверности показаний в условиях эксплуатации |
| Дата добавления в базу: | 01.09.2013 |
| Дата актуализации: | 01.01.2021 |
| Дата введения: | 01.06.1987 |
| Дата окончания срока действия: | 01.01.1989 |
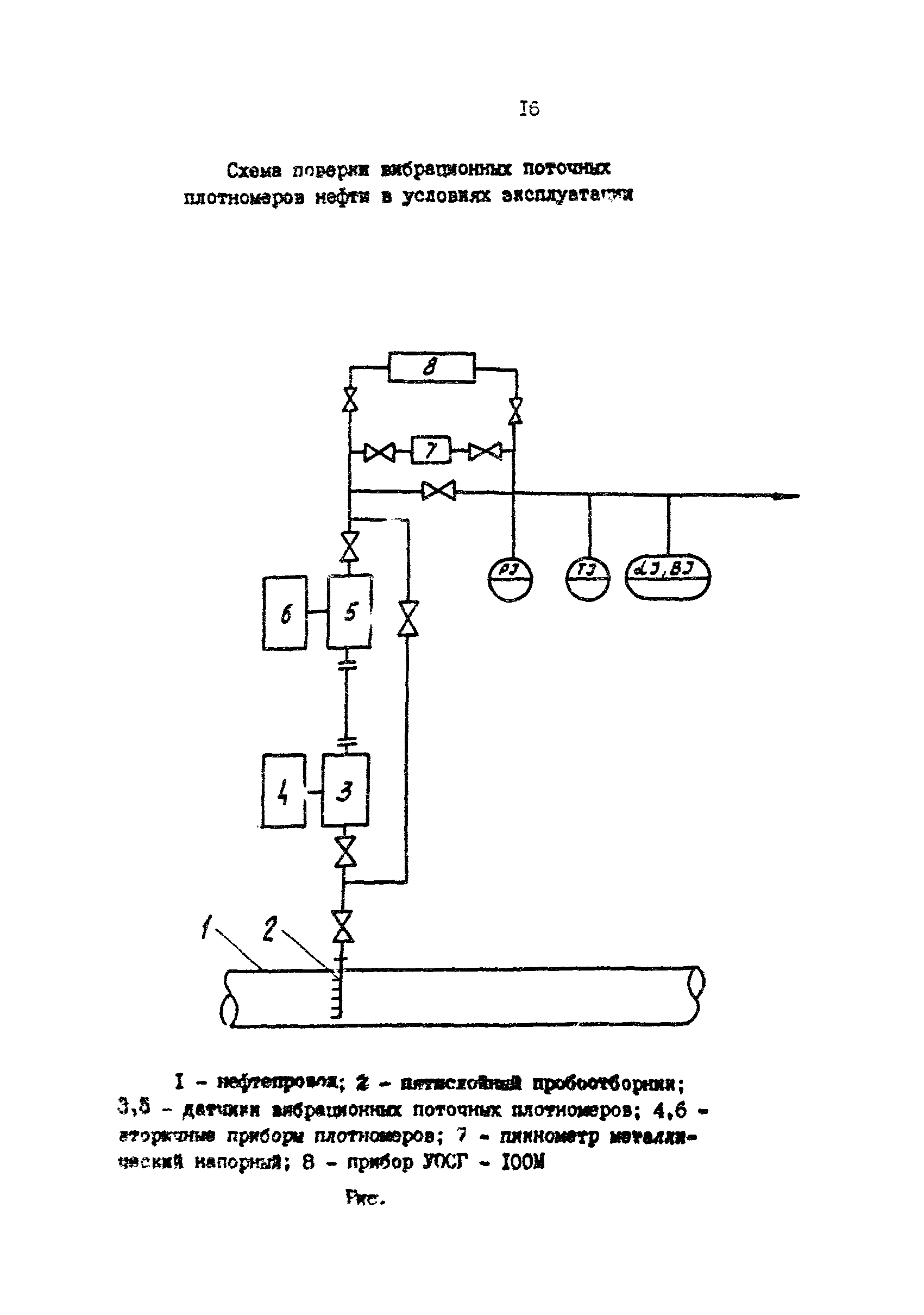
| Область применения: | Методика распространяется на автоматические поточные вибрационные плотномеры с диапазоном измерения плотности 750 + 1000 кг/м3, имеющие предел абсолютной погрешности измерения от 0,2 до 2,0 кг/м3 и устанавливает методы и средства проверки достоверности показаний плотномеров в условиях эксплуатации. |
| Оглавление: | 1 Операции проверки 2 Средства проверки 3 Условия проверки 4 Требования безопасности 5 Подготовка к проверке 6 Проведение проверки 7 Оформление результатов проверки Приложения: 1 Методика определения разности показаний плотномеров при отсутствии автоматического устройства контроля разности 2 Описание схемы для проверки достоверности показаний плотномеров в условиях эксплуатации 3 Протокол проверки плотномера в условиях эксплуатации |
| Разработан: | ВНИИСПТнефть |
| Утверждён: | 21.05.1987 Министерство нефтяной промышленности СССР (USSR Ministry of the Petroleum Industry ) |
| Нормативные ссылки: |





















