Скачать ОСТ 108.021.07-84 Турбины паровые стационарные. Нормы расчета на прочность хвостовых соединений рабочих лопатокДата актуализации: 01.01.2021
|
| Обозначение: | ОСТ 108.021.07-84 |
| Обозначение англ: | OST 108.021.07-84 |
| Статус: | действует |
| Название рус.: | Турбины паровые стационарные. Нормы расчета на прочность хвостовых соединений рабочих лопаток |
| Дата добавления в базу: | 01.09.2013 |
| Дата актуализации: | 01.01.2021 |
| Дата введения: | 01.01.1986 |
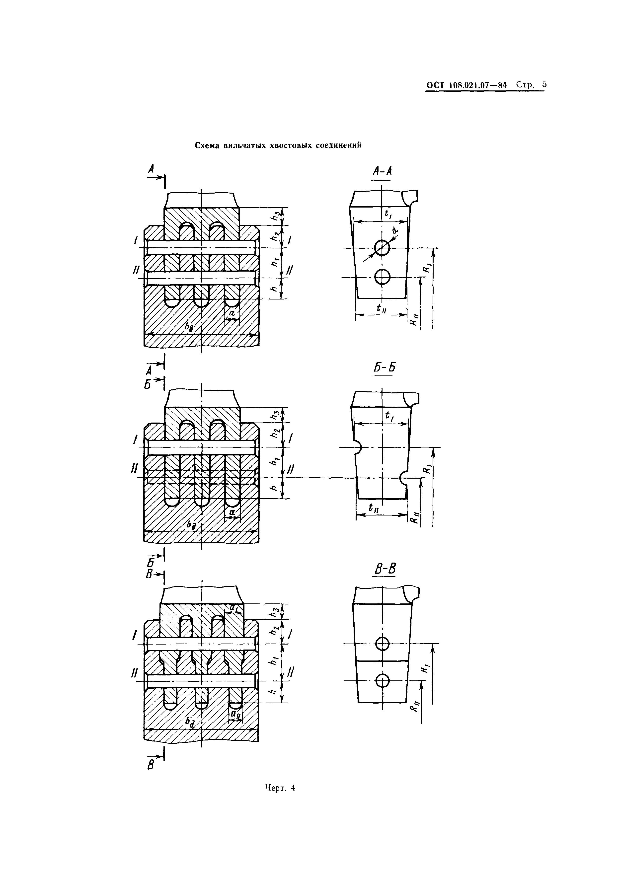
| Область применения: | Отраслевой стандарт распространяется на хвостовые соединения рабочих лопаток вновь проектируемых стационарных энергетических паровых турбин |
| Оглавление: | 1. Общие положения 2. Основной расчет 3. Запасы прочности Приложение. Поверочный расчет с учетом концентрации напряжений |
| Разработан: | НПО ЦКТИ |
| Утверждён: | 25.12.1984 Министерство энергетического машиностроения (Ministry of Energy Machinery Manufacturing АЗ-002/9672) |
| Издан: | НПО ЦКТИ (1986 г. ) |
| Заменяет собой: |
|
| Нормативные ссылки: |




















