Скачать Типовой проект 705-1-197.86 Альбом 3. Железобетонные изделияДата актуализации: 01.01.2021
|
| Обозначение: | Типовой проект 705-1-197.86 |
| Обозначение англ: | 705-1-197.86 |
| Статус: | действует |
| Название рус.: | Альбом 3. Железобетонные изделия |
| Дата добавления в базу: | 01.09.2013 |
| Дата актуализации: | 01.01.2021 |
| Дата введения: | 25.10.1985 |
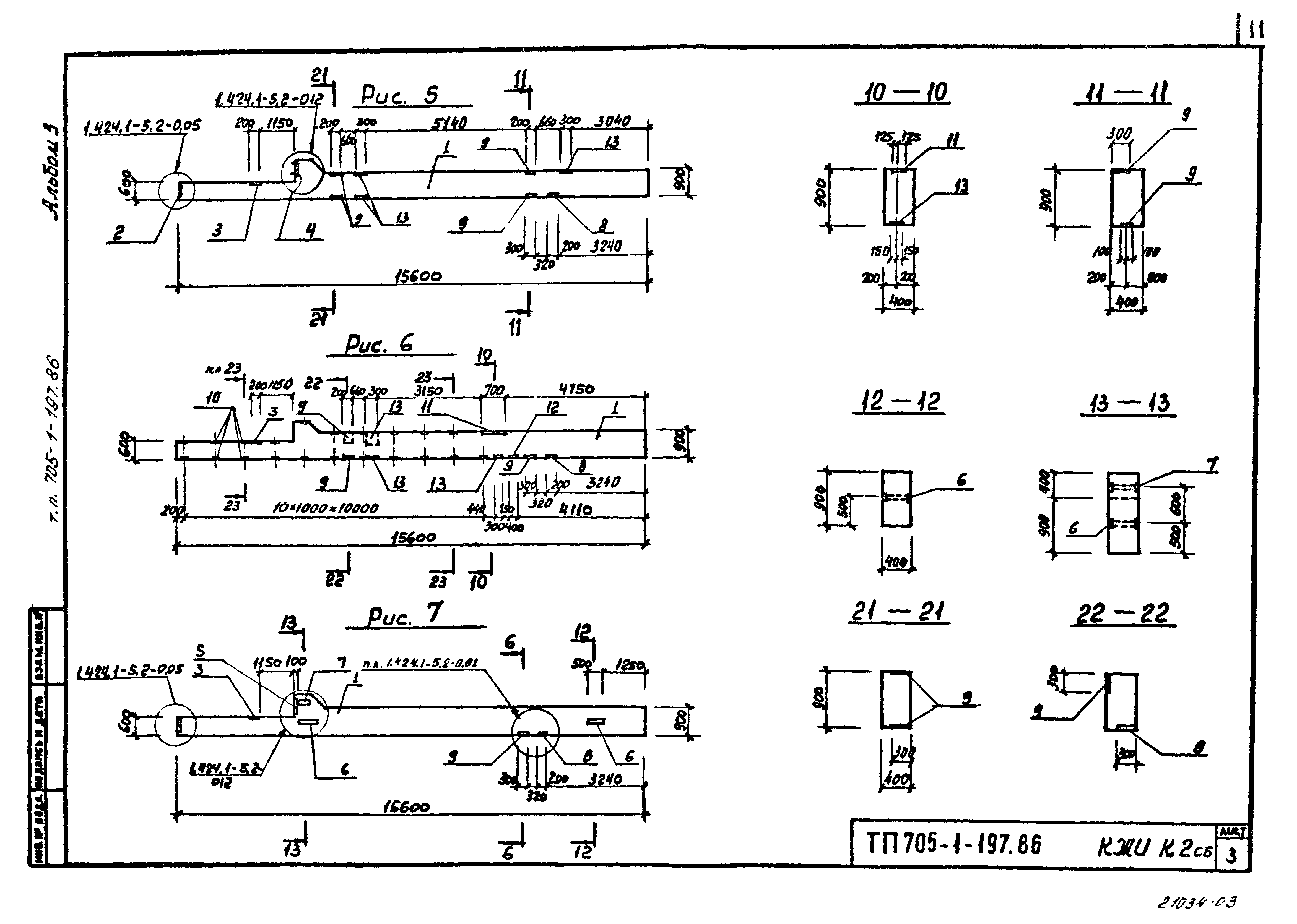
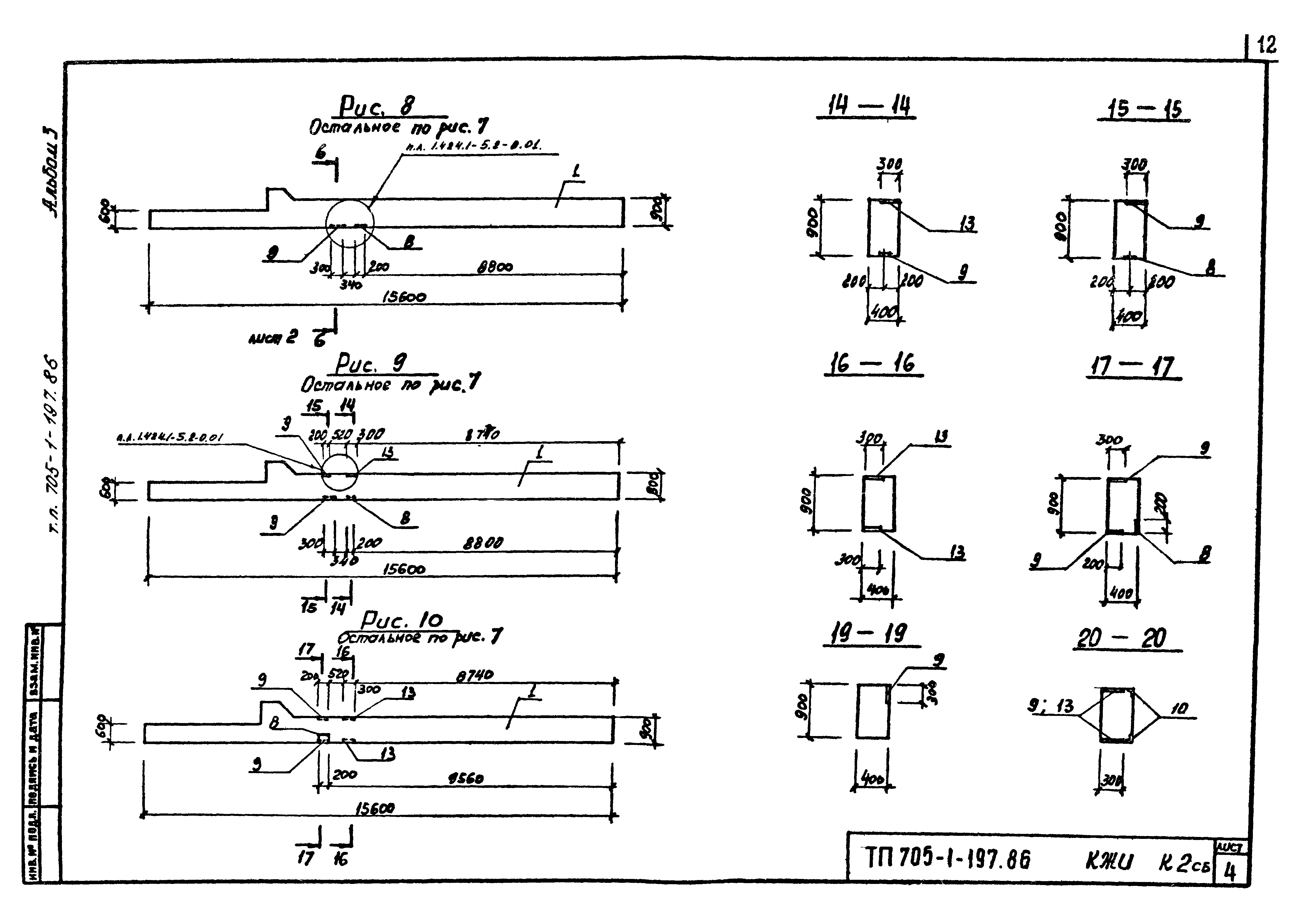
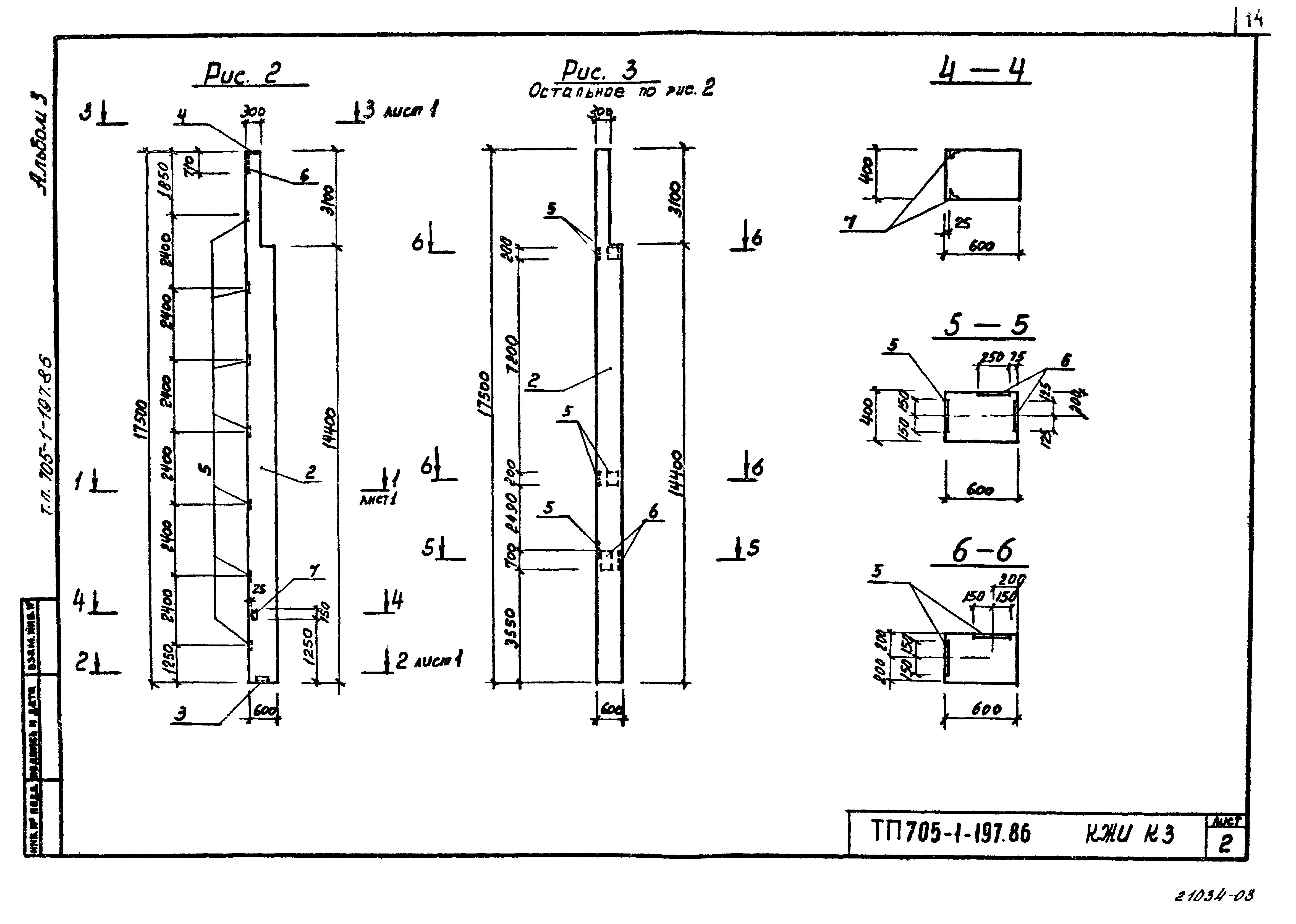
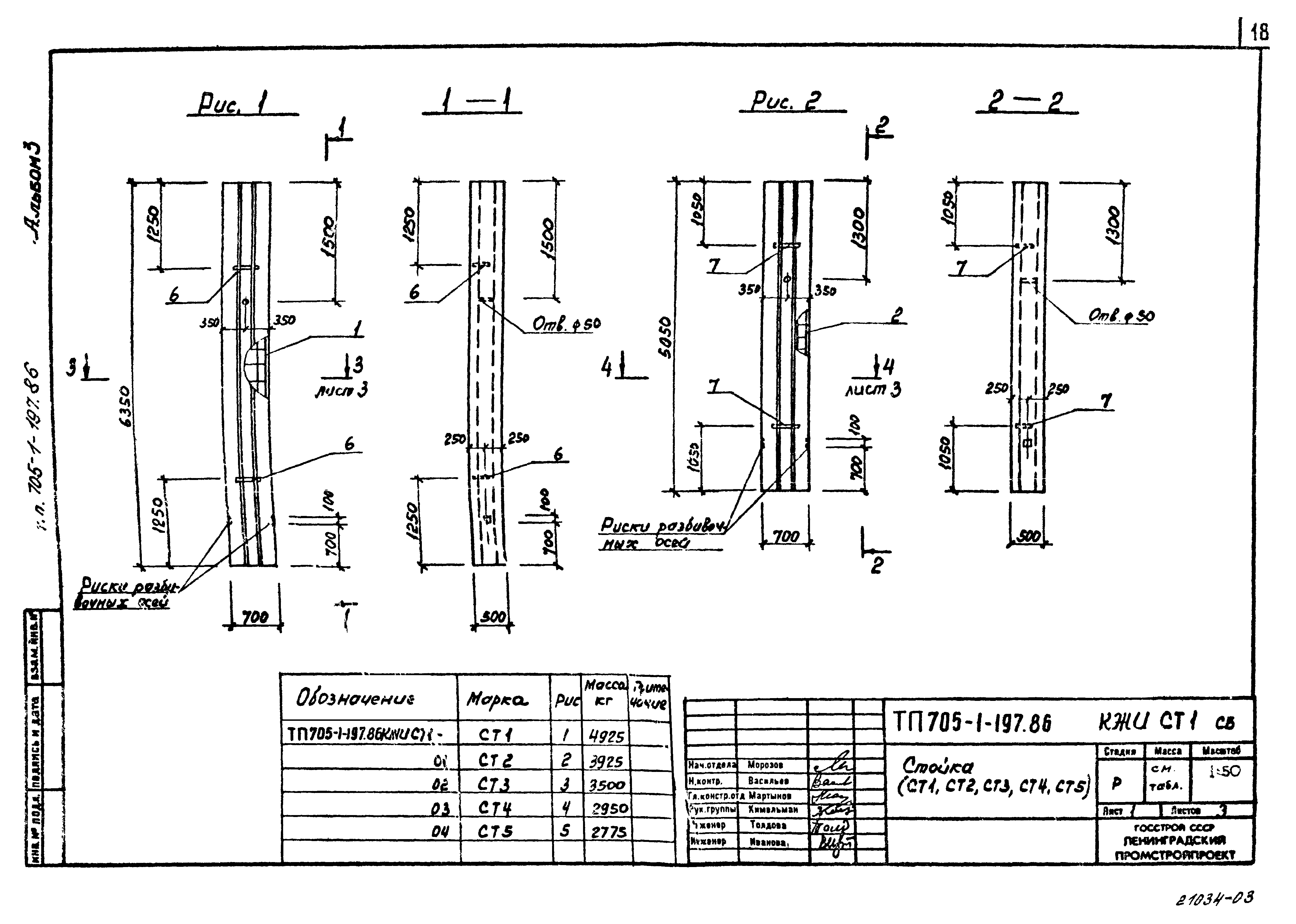
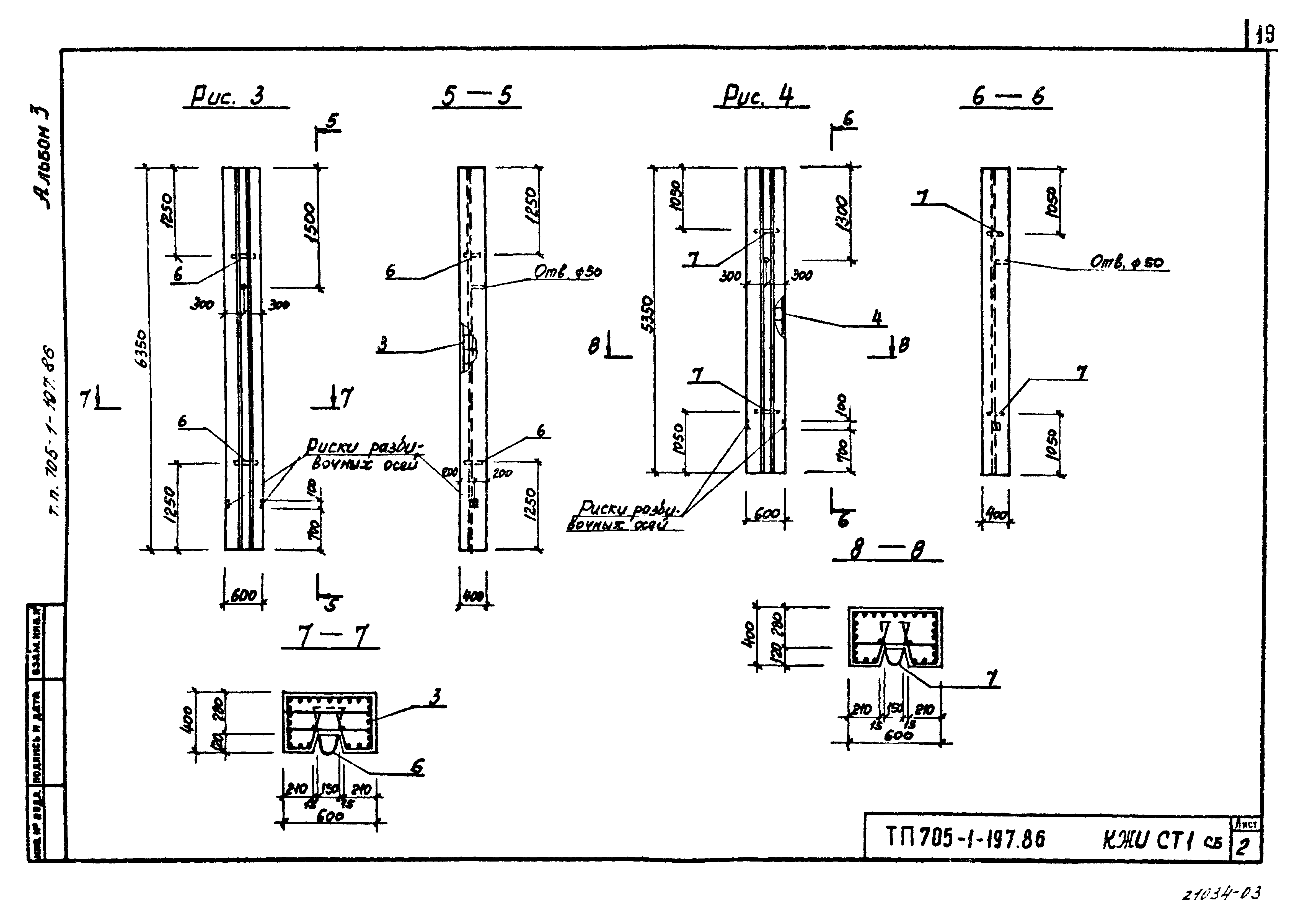
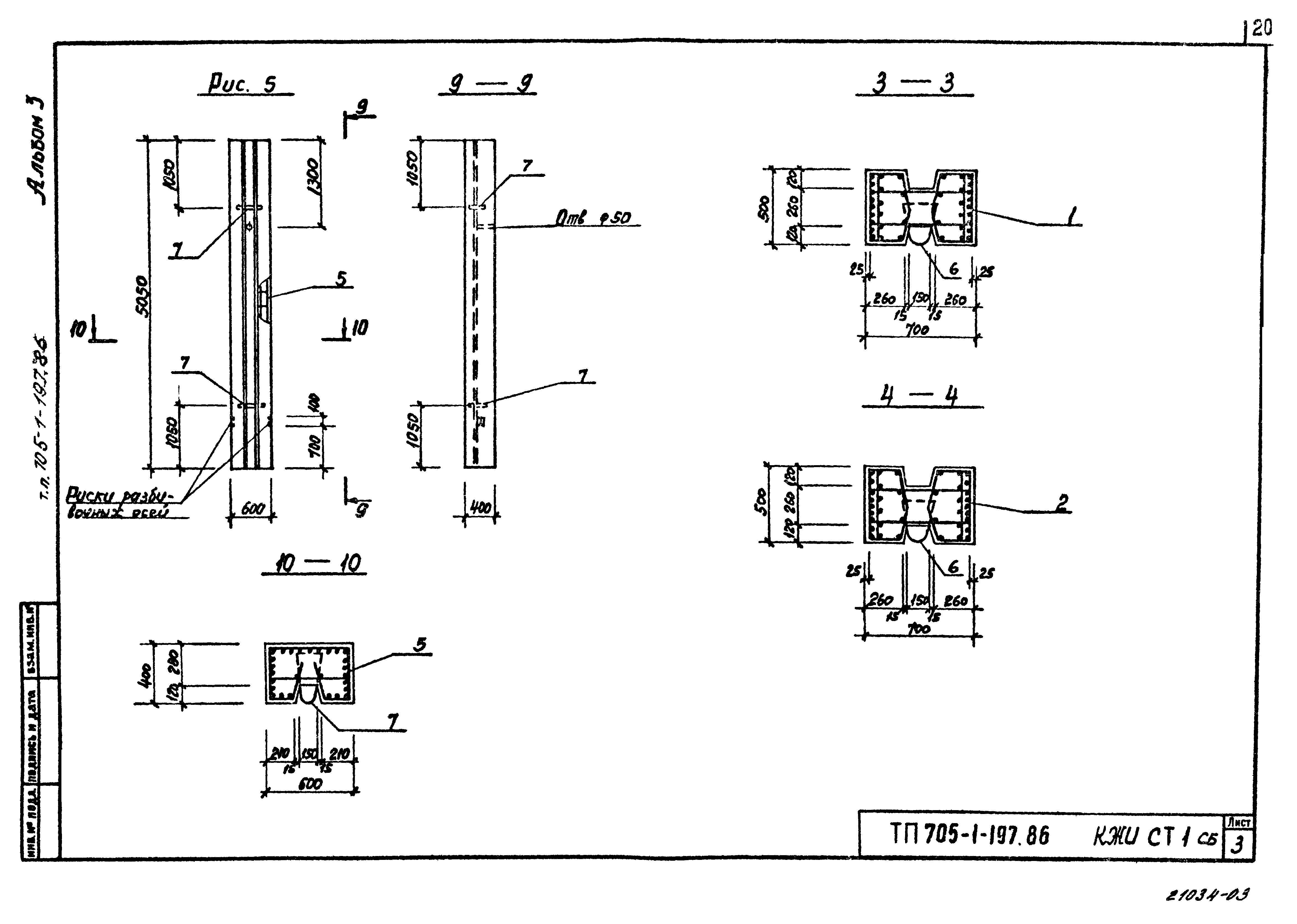
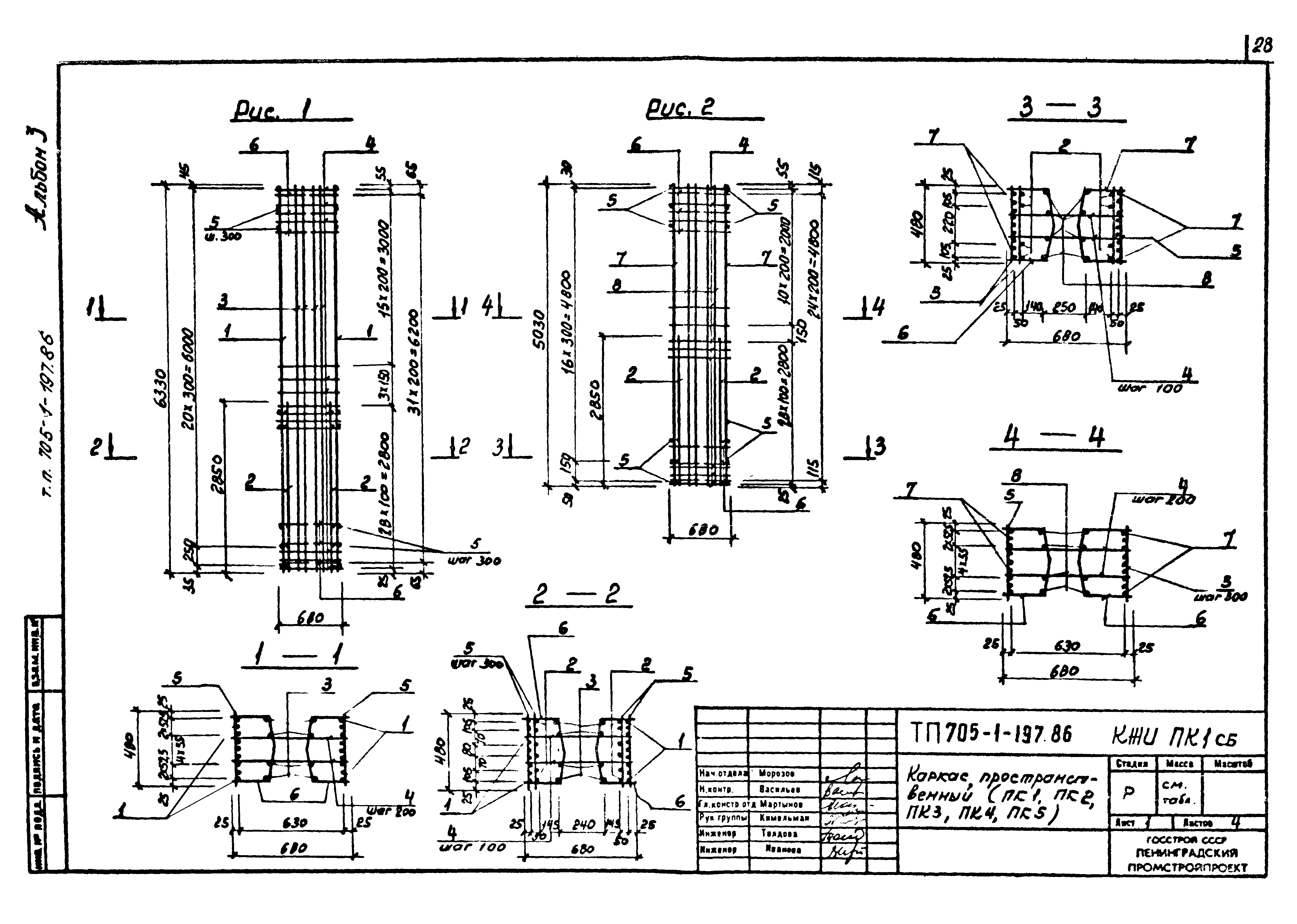
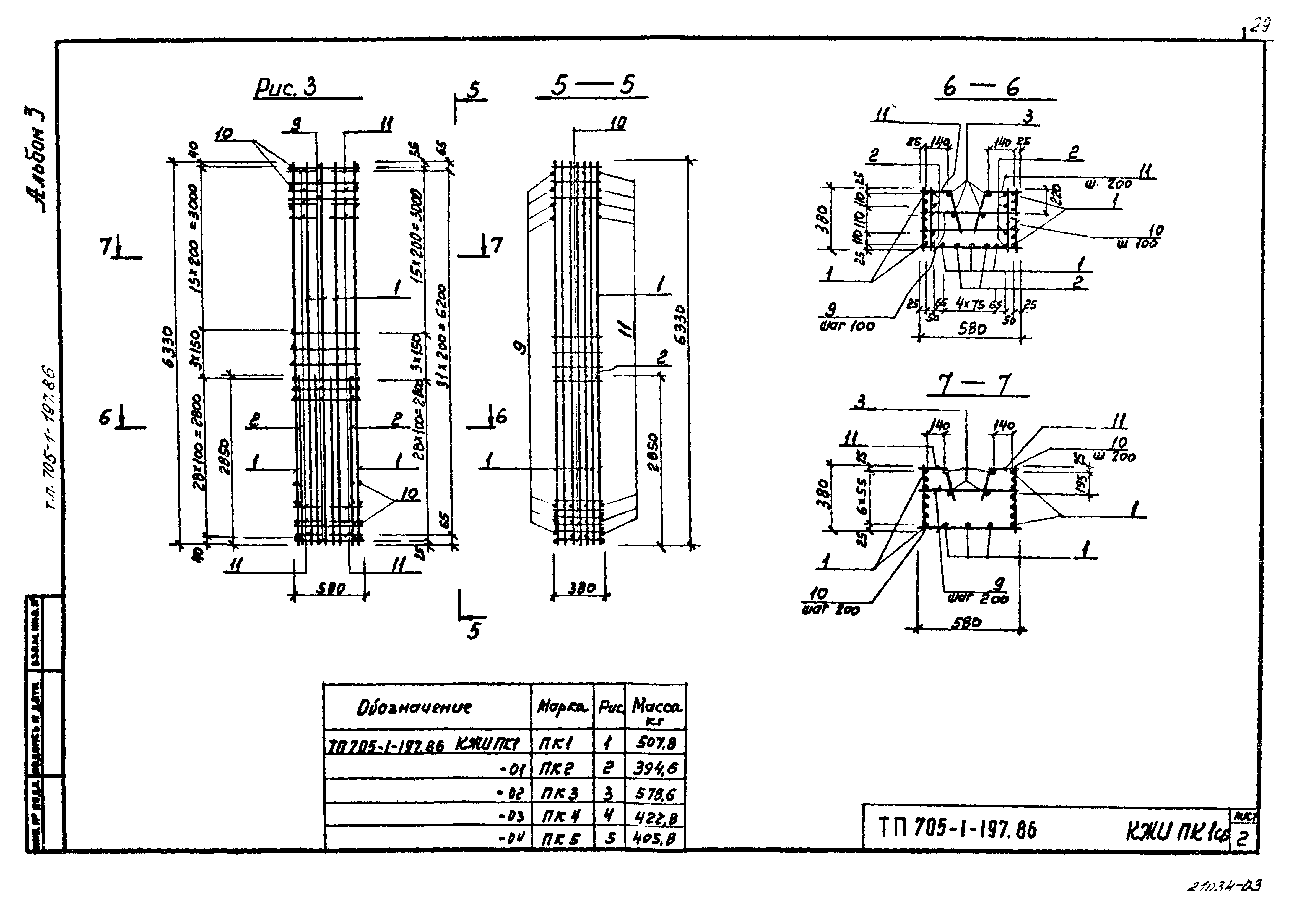
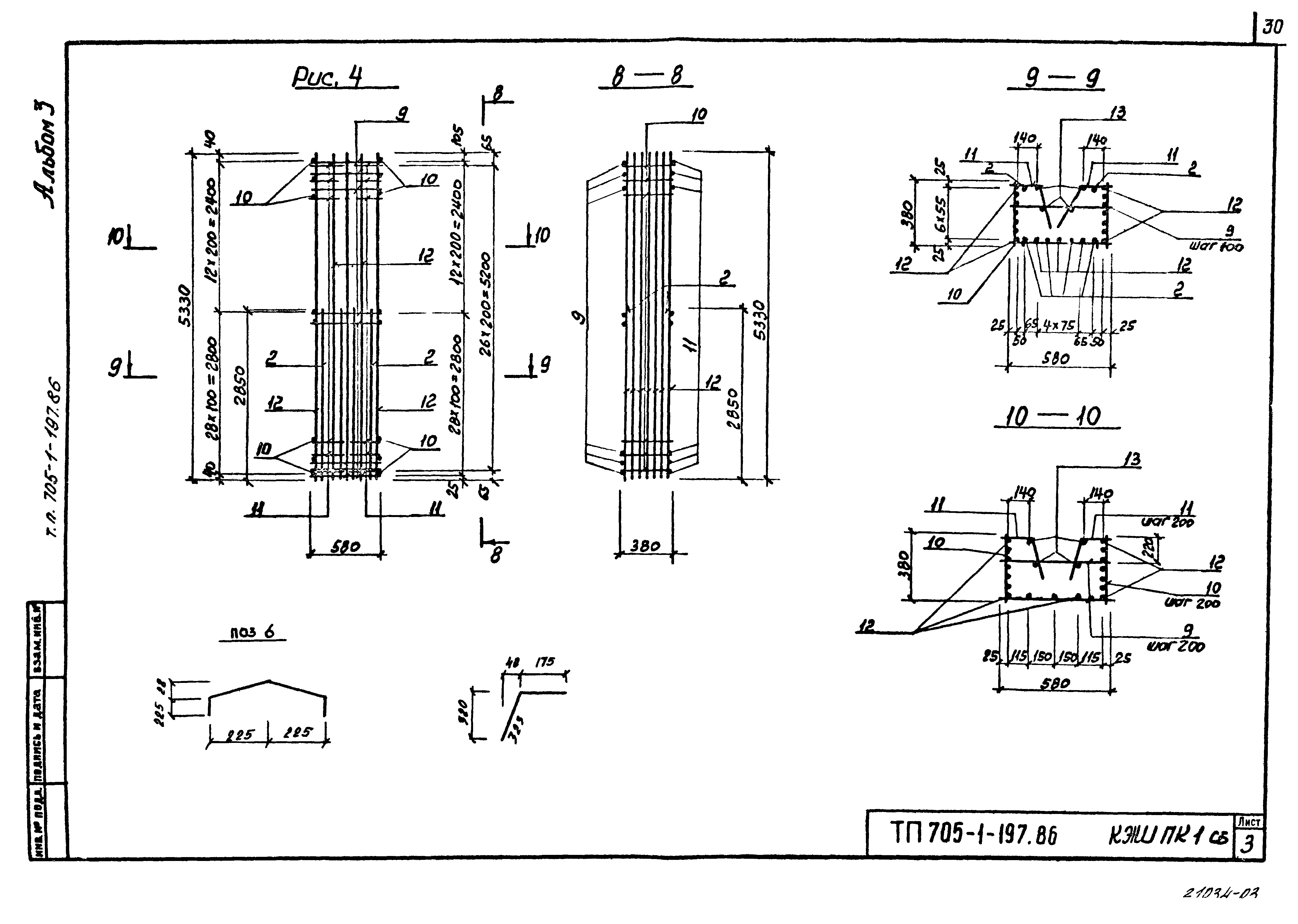
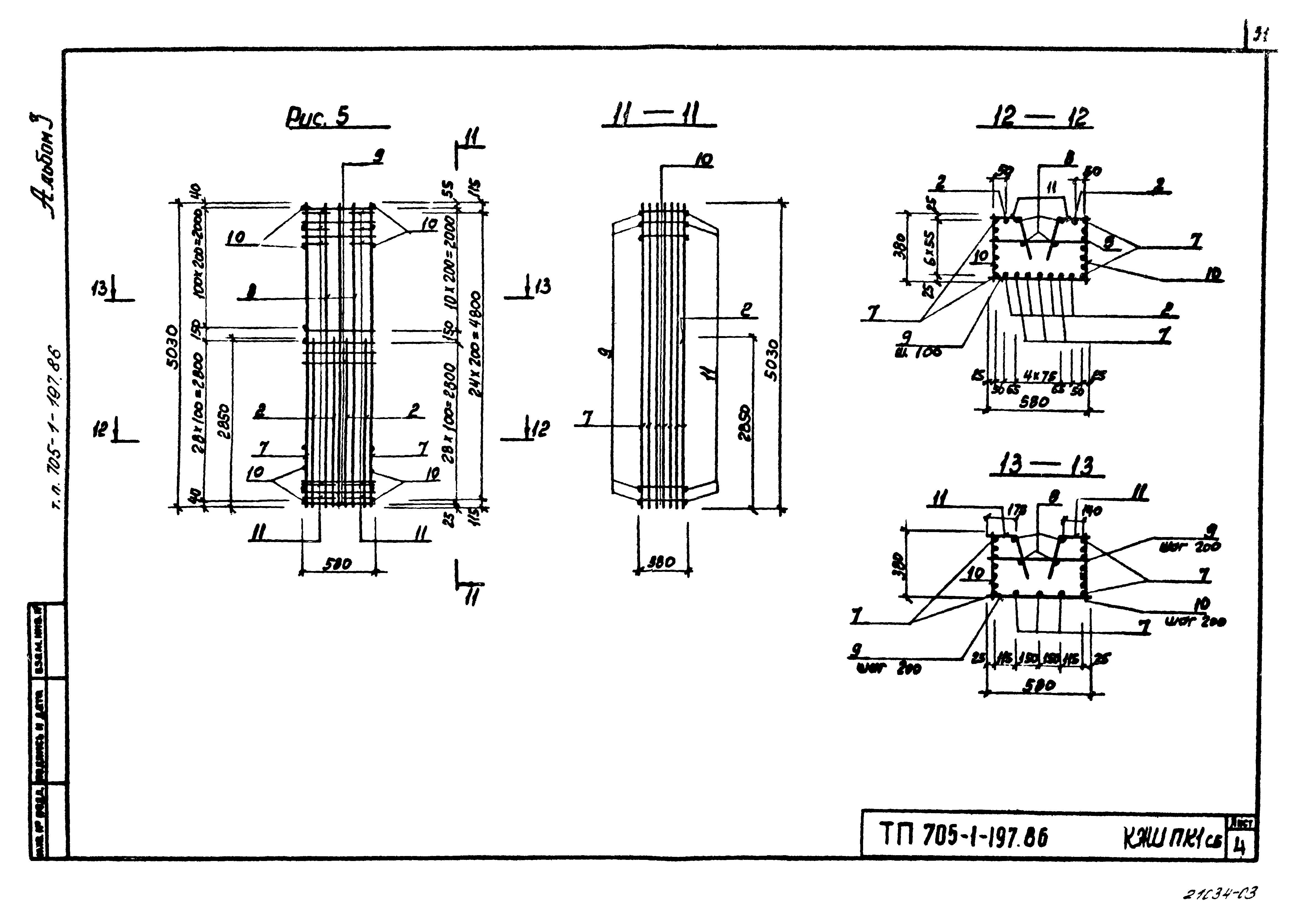
| Оглавление: | ТП 705-1-197.86-КЖИ-Д Содержание ТП 705-1-197.86-КЖИ-ПЗ Пояснительная записка ТП 705-1-197.86-КЖИ-ТТ1 Технические требования к изготовлению сборных железобетонных изделий ТП 705-1-197.86-КЖИ-ТТ2 Технические требования к изготовлению арматурных, закладных и соединительных изделий ТП 705-1-197.86-КЖИ-К1 Колонна (1К144-14-П1, 1К144-14-П2, 1К144-14-П3, 1К144-14-П4, 1К144-14-П5) ТП 705-1-197.86-КЖИ-К2 Колонна (4К144-7-П1, 4К144-7-П2, 4К144-7-П3, 4К144-7-П4, 4К144-7-П5, 4К144-7-П6, 4К144-7-П7, 4К144-7-П8, 4К144-7-П9, 4К144-7-П10) ТП 705-1-197.86-КЖИ-К3 Колонна (9КФ161-1-П1, 9КФ175-2-П1, 9КФ175-2-П2) ТП 705-1-197.86-КЖИ-Д1 Ведомость расхода стали ТП 705-1-197.86-КЖИ-К4 Колонна (К1,К2) ТП 705-1-197.86-КЖИ-Д2 Ведомость расхода стали ТП 705-1-197.86-КЖИ-СТ1 Стойка (СТ1,СТ2,СТ3,СТ4,СТ5) ТП 705-1-197.86-КЖИ-БК6-1 Балка подкрановая (БК6-2АIV-С-1, БК6-2АIV-С-2) ТП 705-1-197.86-КЖИ-МН1 Изделие закладное МН1 ТП 705-1-197.86-КЖИ-МС1 Изделие соединительное МС1 ТП 705-1-197.86-КЖИ-МС2 Изделие соединительное (МС2,МС3) ТП 705-1-197.86-КЖИ-МС4 Изделие соединительное МС4 ТП 705-1-197.86-КЖИ-МС5 Изделие соединительное МС5 ТП 705-1-197.86-КЖИ-МС6 Изделие соединительное МС6 ТП 705-1-197.86-КЖИ-МС7 Изделие соединительное (МС7,МС7-01) ТП 705-1-197.86-КЖИ-ПК1 Каркас пространственный (ПК1,ПК2,ПК3,ПК4,ПК5) ТП 705-1-197.86-КЖИ-ПК6 Каркас пространственный ПК6 ТП 705-1-197.86-КЖИ-ПК7 Каркас пространственный ПК7 ТП 705-1-197.86-КЖИ-КР1 Каркас плоский (КР1,КР3) ТП 705-1-197.86-КЖИ-КР2 Каркас плоский (КР2,КР4) ТП 705-1-197.86-КЖИ-КР5 Каркас плоский КР5 ТП 705-1-197.86-КЖИ-КР6 Каркас плоский КР6 ТП 705-1-197.86-КЖИ-КР7 Каркас плоский (КР7-КР11) ТП 705-1-197.86-КЖИ-КР12 Каркас плоский (КР12,КР13,КР14) ТП 705-1-197.86-КЖИ-КР15 Каркас плоский (КР15-КР18) ТП 705-1-197.86-КЖИ-КР19 Каркас плоский (КР19,КР20,КР21) ТП 705-1-197.86-КЖИ-С1 Сетка арматурная (С1,С2,С5,С6) ТП 705-1-197.86-КЖИ-С3 Сетка арматурная (С3,С4) |
| Разработан: | Промтрансниипроект |
| Утверждён: | 09.11.1982 Минсельхоз СССР (USSR Minselkhoz 70) |









































